EasyManua.ls Logo

MSW MSW-GE70 - Page 37

MSW MSW-GE70
Print Icon
To Next Page IconTo Next Page
To Next Page IconTo Next Page
To Previous Page IconTo Previous Page
To Previous Page IconTo Previous Page
Loading...
g) Perform regular inspections of the unit checking technical fitness and any
damages.
h) Use a soft cloth for cleaning.
i) Change to fresh engine oil every 50 hours or every year.
To change engine oil, it is best done when the oil is warm because it is thinner
and flows more easily. First unscrew the oil filler cap and then the drain plug,
first putting a container for used oil underneath it. After draining the oil, close
the drain plug tightly and wipe dry the area around it from the rest of the used
oil. You can refill the engine with fresh oil.
CAUTION: heated oil is hot - risk of burns!
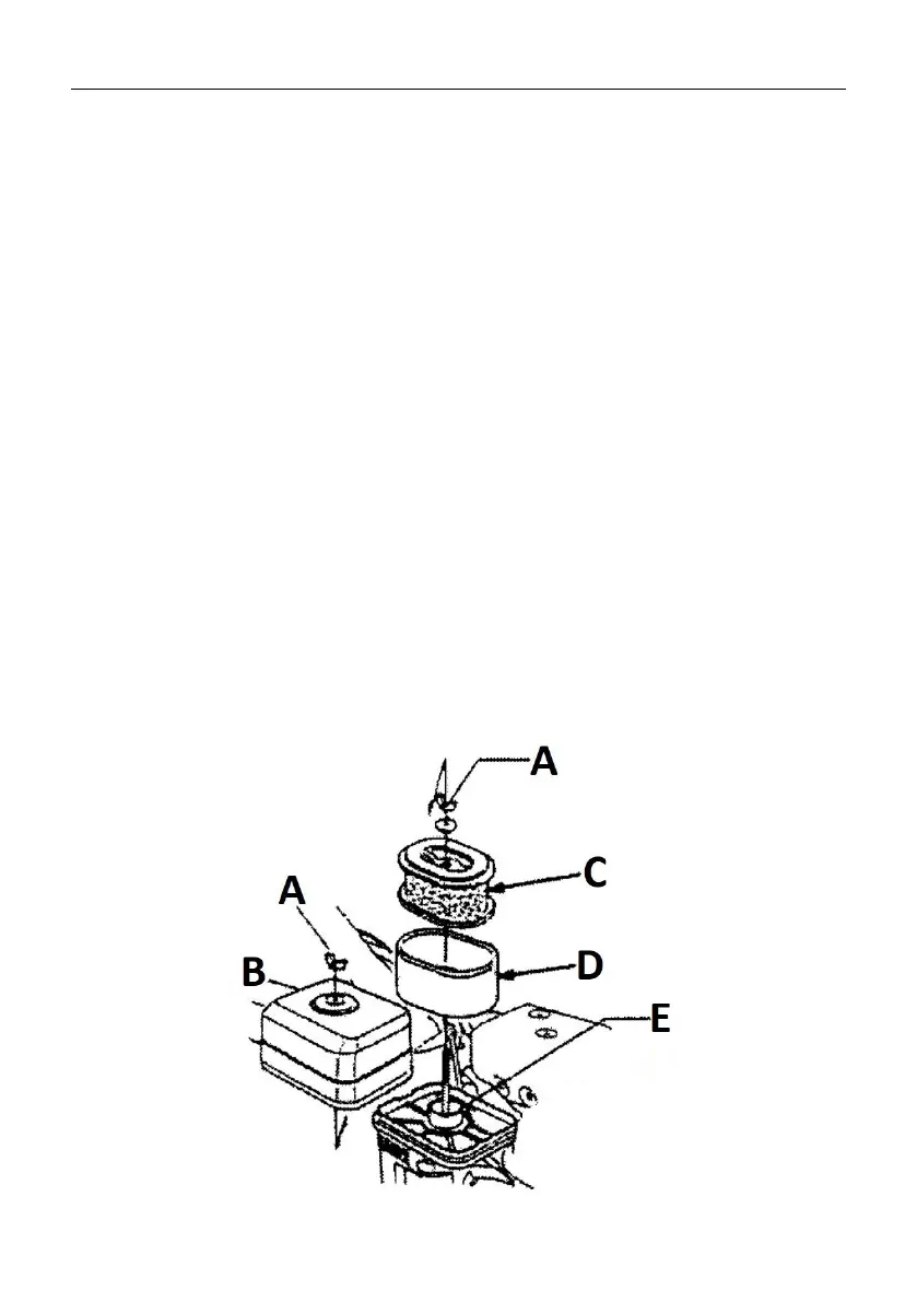
j) Inspect and clean the air filter regularly and replace with a new one if
necessary.
To access the air filter, unscrew the wing nuts and remove the housing, among
other things (see pictures below). The sponge filter element is removable from
the rest of the filter and can be rinsed in warm water with detergent or
extraction gasoline. The remaining paper filter element is only to be shaken off
the accumulated dirt or blown with compressed air under low pressure from
the inside to the outside. Completely dry the sponge filter before reassembling
it onto the paper filter and into the unit. The filter does not require
lubrication/lubrication prior to use.
IMPORTANT: do not operate unit without the air filter!
CAUTION: The air filter housing is located right next to the muffler housing -
risk of burns!