EasyManua.ls Logo

Multiblitz PROFILUX-600 - Page 3

Multiblitz PROFILUX-600
Print Icon
To Next Page IconTo Next Page
To Next Page IconTo Next Page
To Previous Page IconTo Previous Page
To Previous Page IconTo Previous Page
Loading...
26
24
25
26
110 - 130 V
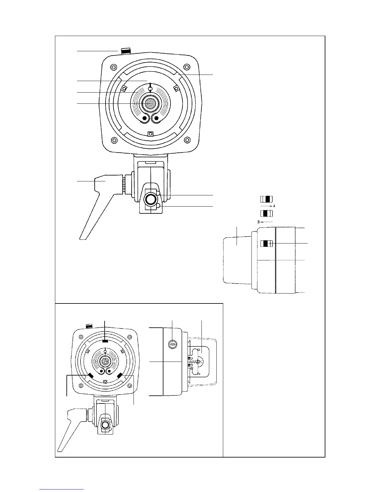
(1) Lås av bajonetten
(2) Praktiskt handtag
(3) Högkänslig fotocell med inbyggd IR-mottagare
(4) Steglös proportionerlig inställning av uteffekt
blixt och inställningsljus
(5) Gröna lysdioder
(6) Huvudströmbrytare AV/PÅ
(7) Halogenljus AV/PÅ
(8) Nätanslutning
(9) Säkringshållare
(10) Greppvänlig låsning
(11) Stativhylsa 5/8" för snabbkoppling
(12) Halogenljus 100%
(13) Optisk och akustisk utlösningskontroll
(14) Manuell utlösning
(15) Grön lysdiod för uppladdningskontroll
(16) Vridbart stativfäste
(17) Typskylt
(18) Synkuttag
(19) Blixtrör
(20) Halogenlampa
(21) Blixtutlösningskontakt
(22) Skyddskåpa
(23) Bajonettfäste
(24) Plats för säkring F 2 A
(25) Pyrexklocka
(26) Fjädrar som håller fast pyrexklocka
(27) Skruvar
Tekniska data PROFILUX
200 400 600 200 400 600
220-240
32,8
42
64,1
67
90,1
94
32,8
42
64,1
67
90,1
94
COMROW - 4 COMROW - 4
75 150 200
200/GX 6,35
64503
25-20010-75
9
3,15 / 750
4,0 / 520
+/- 1
295336295
1,7
1,85
2,3 1,75 1,9
2,35
25-200 50-400
75-600
25-200
50-400
75-600
0,5-2,20,4-1,30,3-0,80,8-2,40,5-1,30,4-0,8
1/600-
1/1200
1/400-
1/700
1/300-
1/600
1/600-
1/1200
1/400-
1/700
1/300-
1/600
110-130
20-150
336
200
400
600
200
400 600
PROREW
PROREW
250
Angivna mått och värden håller sig inom toleransen enligt DIN och IEC -norm
Reservation för ändringar
Mått 118 x 118
Längd (mm)
Vikt kg
Blixtenergi ~J(Ws)
Nätspänning V
Regleringsområde
~J(Ws)
steglöst
Uppladdningstid s
Blixttid t 0,5 s
Blixtrör, UV -spärrat Artnr:
Inställningslius halogen 100% W
Inställningsområde för
prop. inställningslius
W
Blixtutlösning
Spänning i synkkabel V
Nätbelastning A/VA (W)
Blixtspänningens stabilitet %
Elektrisk säkerhet, radioavstörning
Bländarvärde
,
1m, ISO 100
Ledtal, m, ISO 100
Refl
.
FILNOS-2/50°
Fotocell, synkkabel, manuellt, infraröd
CE, DIN IEC 491, VDE 0882
Halogenlampa W/Sockel
OSRAM/Radium Typ
75/B15d
64473 AM/RH75T
150/B15d
64471AM/RH150TK
250 / 64479 AM/RH250T
250/B15d
64479AM/RH250T
Halogen max. W
30-250
26
23
16
11
1
21
20
19
10
1
22

Related product manuals