EasyManua.ls Logo

Muse M-1650 SBT - Page 2

Muse M-1650 SBT
5 pages
Print Icon
To Next Page IconTo Next Page
To Next Page IconTo Next Page
To Previous Page IconTo Previous Page
To Previous Page IconTo Previous Page
Loading...
R1. Touche (STANDBY)
R2. Touche LINE
R3. Touche (Bluetooth)
R4. Touche / : Réglage du volume
R5. Touche / : Permet de passer à la piste suivante/ précédente;
Maintenez le bouton pour avancer/ reculer
R6. Touche (Lecture/ Pause)
R7. Touche EQ
R8. Touche SOURCE
R9. Touche (Sourdine)
R1. Botão
R2. Botão LINE
R3. Botão (Bluetooth)
R4. Botão / : Regulação do volume
R5. Botão / : Premir ligeiramente para saltar para a faixa seguinte/
anterior; Prima e segure para avançar/ retroceder
R6. Botão (Leitura/Pausa)
R7. Botão EQ
R8. Botão SOURCE
R9. Botão (Surdina)
R1. Taste (STANDBY)
R2. Taste LINE
R3. Taste (BLUETOOTH)
R4. Taste / : Einstellen der Lautstärke
R5. Tasten / : kurz drücken, um zum nächsten/ vorherigen Titel zu
springen; Gedrückt halten, um die Wiedergabe vor-/ zurückzuspulen.
R6. Taste (wiedergabe/ pause)
R7. Taste EQ
R8. Taste SOURCE
R9. Taste : Aktivieren / Deaktivieren des Tons
R1. (Standby) button
R2. LINE button
R3. (Bluetooth) button
R4. / button: Volume up/down
R5. / buttons: Short press to skip to next/ previous track; Long press
to step forward/ rewind
R6. (Play/ pause) button
R7. EQ button
R8. SOURCE button
R9. (Mute) button
1. Indicateur lumineux
2. Récepteur pour télécommande
3. Haut-parleurs
4. Port HDMI ARC
5. Port USB permettant la lecture
MP3
6. Entrée LINE IN
7. Entrée Optique (OPTICAL)
1. Indicador de luz
2. Sensor para o telecomando
3. Altifalantes
4. Porta HDMI ARC
5. Porta USB que permite
reprodução de MP3
6. Entrada LINE IN
7. Conector OPTICAL
(entrada ótica)
1. Anzeigelampe
2. Infrarotsensor für die Fernbedienung
3. Lautsprecher
4. HDMI ARC Eingang
5. USB-Anschluss zur MP3-
Wiedergabe
6. LINE IN Eingang
7. Optischer eingang (OPTICAL)
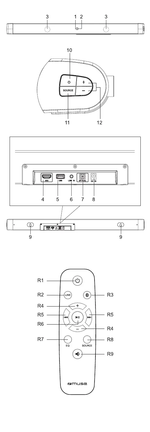
1. Indicator
2. Remote sensor
3. Speakers
4. HDMI ARC port
5. USB port for MP3 playback
6. LINE IN jack
7. OPTICAL jack
8. Entrée alimentation (DC IN)
9. Encoche de xation
10. Touche (Veille/ Marche)
11. Touche SOURCE: Pour
sélectionner le mode
BLUETOOTH, USB, LINE IN,
OPTICAL ou HDMI ARC
12. Touche / : Réglage du volume
8. Entrada de alimentação DC 18V
9. Suporte De Instalação Em
Paredes
10. Para ligar e desligar o aparelho
11. Botão SOURCE: Para selecionar
o modo BLUETOOTH, LINE IN,
OPTICAL, HDMI ARC ou USB
12. Botão / : Regulação do
volume
8. Gleichstromeingang
9. Wandhalterung
10. Gerät ein-/ ausschalten
11. Taste SOURCE: BLUETOOTH-,
USB-, LINE IN-, OPTICAL- oder
HDMI ARC-Modus einstellen
12. Taste / : Einstellen der
Lautstärke
8. DC IN jack
9. Wall mounting brackets
10. (Standby) button: to turn on/o󰀨 unit
11. SOURCE button: to select
BLUETOOTH, LINE IN, OPTICAL,
HDMI ARC or USB mode
12. / button: Volume up/down
DESCRIPTION DE L’APPAREIL
DESCRIÇÃO DO APARELHO
BESCHREIBUNG DES GERÄTS
LOCATION OF CONTROLS
Unité principale
UNIDADE PRINCIPAL
HAUPTGERÄT
Main unit
Télécommande
Telecomando
Fernbedienung
Remote control
M-1650 SBT
Avant de jeter les piles, consultez votre revendeur car celui-ci peut
les reprendre pour les recycler.
Antes de eliminar as pilhas, consulte o seu revendedor pois este
pode retomá-las para reciclagem.
Fragen Sie vor dem Entsorgen der Batterien Ihren Fachhändler
vor Ort um Rat, denn dieser kann sie zurücknehmen und sich um
deren fachgerechtes Entsorgen kümmern.
Before throwing any batteries away, consult your distributor who
may be able to take them back for specic recycling.
1. Percez 2 trous dans le mur à l’aide d’un perforateur électrique puissant.
2. Insérez les attaches de xation (fournies) dans les trous.
3. Sécurisez les vis (fournies) dans les attaches de xation et laissez environ
4mm de longueur pour accrocher la barre de son.
4. Placez la barre de son sur les vis de montage. Assurez-vous qu’elles
soient solidement xées et stables.
1. Faça 2 furos na parede com uma broca elétrica potente.
2. Insira o bujão de xação (incluso) nos orifícios.
3. Prenda os parafusos (incluso) nas chas de xação e deixe
aproximadamente 4mm de comprimento para encaixar a caixa de som.
4. Coloque a caixa de som nos parafusos de montagem. Certique-se de
que eles estão rmes e estáveis.
1. Bohren Sie mit einer Bohrmaschine 2 Löcher in die Wand.
2. Stecken Sie die Dübel (inklusive) in die Löcher.
3. Drehen Sie die Schrauben (inklusive) in die Dübel; lassen Sie die
Schrauben ca. 4mm herausragen, um die Soundbar zu befestigen.
4. Setzen Sie die Soundbar auf die Befestigungsschrauben. Vergewissern
Sie sich, dass die Schrauben sicher und stabil befestigt sind.
1. Drill 2 holes on wall with a powerful electric drill.
2. Insert the xing plug (supplied) into the holes.
3. Secure the screws (supplied) into the xing plugs and leave approx. 4mm
length to hook the sound bar.
4. Put the sound bar onto the mounting screws. Make sure they are rm
and stable.
1. Vous pouvez connecter une clé USB (non fourni) sur le port USB sur
l'unité pour lire les chiers MP3.
2. Lorsque l’unité est allumée, appuyez plusieurs fois sur le bouton SOURCE
pour sélectionner le mode USB. Appuyez sur la touche pour reprendre
a lecture. Appuyer à nouveau pour mettre la lecture en pause.
3. Appuyez sur la touche ou pour passer à la plage suivante ou
précédente. Appuyez et maintenez / pour avancer/reculer lors de
la recherche.
4. Ajustez le volume sonore au niveau désiré.
Remarque:
- Il existe de nombreux modèles de périphériques USB. Nous ne pouvons
garantir que l’appareil soit compatible avec tous ces di󰀨érents modèles. Si
votre périphérique USB n’est pas compatible, veuillez en essayer un autre.
- Il se peut que certains chiers enregistrés sur le périphérique USB
ne puissent être lus. En e󰀨et, certains formats spéciaux ne sont pas
compatibles avec cet appareil.
1. Conectar um pendrive (não incluso) na porta USB do aparelho para
reproduzir arquivos MP3.
2. Quando esse aparelho estiver LIGADO, pressione o botão SOURCE
várias vezes para entrar no modo USB. Pressione o botão para pausar
uma reprodução. Pressione novamente para continuar uma reprodução.
3. Pressão curta nos botões / para seleccionar o cheiro áudio
desejado; Prima e segure os botões / para avançar/ retroceder
para pesquisar.
4. Ajuste o volume através dos botões de Volume.
Nota:
- Existem muitos dispositivos USB no mercado. Nós não podemos garantir
que suporta todos os diferentes modelos. Experimente outro dispositivo
USB se o seu não for suportado.
- A unidade pode não suportar todos os arquivos multimédia armazenados
em USB, pois inclui algums procedimentos de reprodução especial que
pode não ser compatível com o procedimento desta unidade.
1. Connect a USB ash drive (not included) to the USB port on the unit.
2. When the unit is ON, press SOURCE button repeatedly to enter USB
mode. Press the button to start playback, press again to pause the
playback.
3. Short press / button to select desired track; Press and hold /
to step forward/rewind to search.
4. Adjust the volume using the / buttons.
Notes:
- There are many USB devices in the market. We cannot guarantee to
support all di󰀨erent models. Please try another USB device if yours is not
supported.
- The unit might not support all the multimedia les stored in USB because it
includes some special playback procedure which might not be compatible
with the procedure of this unit.
Sur votre prise LINE IN
Cette barre de son dispose de groupes supplémentaires de bornes d'entrée
audio. Vous pouvez connecter des signaux audio stéréo analogique
provenant d'appareils supplémentaires tels que des lecteurs VCD, CD,
magnétoscope, DVD, etc.
Lorsque l'appareil est allumé, appuyez plusieurs fois sur le bouton SOURCE
ou appuyez directement sur le bouton LINE de la télécommande pour passer
en mode Line In. Utilisez le câble audio (câble non inclus) pour connecter les
bornes de sortie audio stéréo d'un lecteur VCD, CD, magnétoscope, DVD
aux bornes d'entrée stéréo LINE IN de cette barre de son.
Sur l’ ENTRÉE OPTIQUE
Lorsque l’unité est allumée, appuyez plusieurs fois sur le bouton SOURCE
pour sélectionner le mode OPTIQUE. Connectez votre source audio sur
la prise OPTICAL (ENTRÉE OPTIQUE) sur l’unité avec un câble audio
numérique (câble non fourni).
Sur l’ ENTRÉE ARC
L'ARC est une fonction de canal de retour audio et elle est utilisée dans
la sortie audio numérique de la télévision an d'obtenir la qualité sonore
synchrone optimale. Lorsque l’unité est allumée, appuyez plusieurs fois sur
le bouton SOURCE pour sélectionner le mode ARC. Utilisez le câble HDMI
(câble non inclus) pour connecter le port d'entrée HDMI-ARC de cette barre
de son au port de sortie ARC du téléviseur.
Remarque: le téléviseur lui-même doit être doté de la fonction HDMI ARC
et il doit être allumé avant l’utilisation. La connexion entre le téléviseur et la
barre de son via HDMI ARC peut échouer car la compatibilité du HDMI ARC
varie selon les di󰀨érentes marques de téléviseurs. En cas d'échec, veuillez
utiliser une entrée Line In de 3,5 mm ou une entrée optique pour connecter
la barre de son au téléviseur.
Para os conectores OPTICAL
Quando esse aparelho estiver LIGADO, pressione o botão SOURCE várias
vezes para entrar no modo OPTICAL. Conecte a fonte de som no conector
OPTICAL do aparelho com um cabo de áudio digital (cabo não incluído).
Para os conectores ARC
A função Canal de Retorno de Áudio (ARC), é usada na saída de áudio
digital de televisões LCD para obter a melhor qualidade de som síncrono.
Quando esse aparelho estiver LIGADO, pressione o botão SOURCE várias
vezes para entrar no modo ARC. Use o cabo HDMI (cabo não incluído) para
conectar a porta de entrada HDMI-ARC desta Soundbar à porta de saída
ARC da televisão LCD.
Nota: A TV em si deve ter o recurso HDMI ARC e deve estar ligada antes de
utilizar. A conexão entre a TV e a Soundbar via HDMI ARC pode falhar, pois
a compatibilidade do HDMI ARC varia de diferentes marcas de televisão.
Caso falhe, utilize a entrada de linha de 3,5 mm ou a entrada ótica para
conectar a Soundbar à TV.
Para entradas LINE IN
Esta Soundbar possui terminais de entrada de áudio extras. Pode inserir
sinais de áudio estéreo analógico a partir de dispositivos externos, como
leitores de VCD, CD, VCR, DVD, etc.
Quando a unidade estiver ligada, prima o botão SOURCE repetidamente ou
prima o botão LINE (linha) diretamente no controlo remoto para entrar no
modo Linha. Utilize o cabo de áudio (cabo não incluído) para conectar os
terminais de saída de áudio estéreo de um leitor de VCD, CD, VCR, DVD
aos terminais de entrada estéreo LINE IN (entrada de linha) desta Soundbar.
To LINE IN jack
This sound bar has an extra groups of audio input terminals. You can input
the analogue stereo audio signals from extra devices such as VCD, CD,
VCR, DVD player, etc.
When the unit is ON, press SOURCE button repeatedly or press LINE button
directly on remote control to enter Line in mode. Use the audio cable (cable
not included) to connect the stereo audio output terminals of a VCD, CD,
VCR, DVD player to the stereo input terminals LINE IN of this sound bar.
To OPTICAL jack
When the unit is ON, press SOURCE button repeatedly to enter optical
mode. Connect your audio source to the OPTICAL jack on unit with a digital
optical audio cable (cable not included).
To ARC jack
ARC is audio return channel function, it is used in digital audio output of
liquid-crystal display television in order to get the optimal synchronous sound
quality. When the unit is ON, press SOURCE button repeatedly to enter ARC
mode. Use the HDMI cable (cable not included) to connect the HDMI-ARC
input port of this sound bar to the ARC output port of the liquid-crystal display
television.
Note: The TV itself must have HDMI ARC feature and it should be turned on
before use. And the connection between TV and Sound Bar via HDMI ARC
might be failed as the compatibility of HDMI ARC varies from di󰀨erent brands
of TV. If it fails, please use 3.5mm Line in or Optical in to connect the Sound
bar to the TV.
Utilisation de l’adaptateur secteur
Les adaptateurs secteurs fournis peuvent uniquement être utilisés sur une
alimentation secteur de 100-240V 50/60Hz. L’adaptateur secteur fourni ne
peut en aucun cas être utilisé sur un autre type d’alimentation.
Avertissements:
L’adaptateur secteur fourni est exclusivement destiné à être utilisé avec cet
appareil. Ne l’utilisez donc pas avec d’autres appareils.
Éteignez l’appareil avant de débrancher l’adaptateur secteur an d’éviter
d’abîmer le lecteur.
En cas de non-utilisation prolongée, débranchez l’adaptateur secteur de
la prise.
Placez l’appareil à proximité de la prise murale et veillez à ce que cette
dernière reste facilement accessible. En cas de dysfonctionnement,
débranchez immédiatement l’appareil de la prise murale.
L’adaptateur secteur permet de débrancher l’appareil. Il doit rester facilement
accessible durant l’utilisation. Pour couper complètement l’alimentation de
l’appareil, débranchez tout à fait l’adaptateur de la prise secteur.
N’utilisez jamais un adaptateur secteur abîmé. Placez le câble d’alimentation
de manière sûre et de façon à ne pas le coincer ou l’écraser. Si le câble est
endommagé, contactez un service de réparation.
Utilização do adaptador de corrente
A fonte fornecida é adequada para ser utilizada em tomadas de 100 a
240V 50/60Hz e deverá ser apenas ligada a tomadas dentro dessas
especicações.
Atenção:
O adaptador de corrente fornecido destina-se apenas a ser utilizado com
este aparelho. Não o utilize, pois, com outros aparelhos.
Desligue o aparelho antes de desligar o adaptador de corrente para evitar
danicar o leitor.
No caso de não utilização prolongada, desligue o adaptador de corrente
da tomada.
Coloque o aparelho na proximidade da tomada de parede e certiquese
de que esta se mantém facilmente acessível. Em caso de avaria, desligue
imediatamente o aparelho da tomada de parede.
O adaptador de corrente permite desligar o aparelho. Deve ser mantido
facilmente acessível durante a utilização. Para cortar completamente a
alimentação do aparelho, desligue efectivamente o adaptador da tomada
de corrente.
Nunca utilize um adaptador de corrente danicado. Coloque o cabo de
alimentação de forma segura e de modo a não car preso nem esmagado.
Se o cabo estiver danicado, contacte um serviço de reparação.
Gebrauch des Netzstromadapters
Der mitgelieferte Netzstromadapter ist geeignet für eine AC 100-240V
50/60Hz Stromversorgung und darf nur an einer Steckdose mit diesen
Parametern angeschlossen werden.
AC ADAPTOR
The supplied AC adaptor is suitable for use on AC main supplies of AC 100-
240V 50/60Hz and should only be connected to a mains supply within
these parameters.
Cautions:
The AC adaptor included with this unit is for its use only. Do not use it with
other equipment.
Turn o󰀨 the unit before unplugging the AC adaptor from the unit so as to
avoid the unit being damaged.
When the unit is not going to be used for long time, disconnect the AC
adaptor from the AC outlet.
Be sure to use it near the wall outlet and easily accessible. If a malfunction
occurs, disconnect the plug from the wall outlet at once.
AC adaptor is used as the disconnect device. It shall remain readily operable
and should not be obstructed during intended use. To be completely
disconnected the apparatus from supply mains, the AC adaptor of the
apparatus shall be disconnected from the mains socket outlet completely.
Never use an AC adaptor that is damaged, route power lead in a safe
manner and make sure it is not subjected to trapping or pinching. If the
power lead is damaged refer to a qualied service agent.
GÉNÉRALITÉS
Alimentation: DC 18.0V 2.0A
BLUETOOTH
Version Bluetooth: V4.2
Bluetooth: 2.400-2.480 GHz
Puissance de sortie des RF: Max 6.6 dBm
Distance de fonctionnement: Jusqu'à 10 mètres mesurés en espace ouvert
(les murs et les structures peuvent a󰀨ecter la portée de l'appareil)
Contrôle à distance: Jusqu'à 8 mètres, +/- 30 degrés.
Les caractéristiques et les spécications sont sujettes à modication sans
préavis.
GERAL
Alimentação: DC 18.0V 2.0A
BLUETOOTH
Versão do Bluetooth: V4.2
Bluetooth: 2.400-2.480 GHz
Potência de saíde de RF: Max 6.6 dBm
Distância de Funcionamento: Até 10 metros, medido em espaço aberto
(paredes e estruturas poderão afetar a distância de funcionamento do
dispositivo).
Alcance do Controle Remoto: Até 8 metros, +/- 30 graus.
O desenho e as especicações estão sujeitas a mudanças sem aviso prévio.
GENERAL
POWER SUPPLY: DC 18.0V 2.0A
BLUETOOTH
Bluetooth Version: V4.2
Bluetooth: 2.400-2.480 GHz
RF Output Power: Max 6.6 dBm
Working Distance: Up to 10 meters measured in open space (wall and
structures may a󰀨ect range of device)
Remote working distance: Up to 8 meters, +/- 30 degree.
Specications are subject to change without notice.
Appuyez sur la touche pour mettre l’appareil en marche. Appuyez à
nouveau sur cette touche pour éteindre l’appareil.
No modo de espera, pressione o botão para ligar o aparelho. Pressione
esse botão novamente para desligar o aparelho.
Press button to turn on the unit. Press this button again to turn o󰀨 the unit.
La fonction (BLUETOOTH/ LINE IN/ USB/ OPTICAL/ HDMI ARC) peut
être choisie en appuyant plusieurs fois sur la touche SOURCE. La couleur
correspondante du voyant sera a󰀩chée.
A função (BLUETOOTH/ LINE IN/ USB/ OPTICAL/ HDMI ARC) é selecionada
ao pressionar o botão SOURCE repetidamente. A cor correspondente da luz
indicadora será exibida.
The function (BLUETOOTH/ LINE IN/ USB/ OPTICAL/ HDMI ARC) is
selected by pressing SOURCE button repeatedly. The corresponding color
of indicator light will be displayed.
VOLUME
Utilisez / pour régler le son à un niveau confortable.
FONCTION SOURDINE (MUTE)
Pour couper temporairement le son provenant des haut-parleurs, appuyez
sur la touche de la télécommande. Appuyez une nouvelle fois sur la
touche pour désactiver la fonction sourdine et rétablir le son des haut-
parleurs.
ÉGALISEUR
Appuyez sur le bouton EQ de la télécommande pour basculer entre les
di󰀨érents e󰀨ets sonores:
- MUSIC: Les voyants blancs clignotent pendant 2 secondes
- MOVIE: Les voyants verts clignotent pendant 2 secondes
- NEWS: Les voyants rouges clignotent pendant 2 secondes
VOLUME
Prima / para ajustar o som para um nível confortável.
FUNÇÃO SURDINA
Para cortar temporariamente o som proveniente dos altifalantes, prima o
botão do telecomando. Prima mais uma vez o botão para desactivar a
função surdina e restabelecer o som proveniente dos altifalantes.
Equalizador
Prima o botão EQ no controlo remoto para alternar entre os diferentes
efeitos sonoros:
- MUSIC: Luz branca a piscar durante 2 segundos
- MOVIE: Luz verde a piscar durante 2 segundos
- NEWS: Luz vermelha a piscar durante 2 segundos
VOLUME
Press / to adjust the sound to comfortable level.
MUTE
To cut o󰀨 the sound from the speakers temporarily, press button on
remote control. Press button again to cancel mute mode and restore the
sound from the speakers.
EQ
Press EQ button on remote control to toggle among the di󰀨erent sound
e󰀨ects:
- MUSIC: white light ashing 2 seconds
- MOVIE: green light ashing 2 seconds
- NEWS: red light ashing 2 seconds
Le mot Bluetooth
®
ainsi que les marques et logo sont des marques
commerciales déposées détenues par Bluetooth SIG, Inc. et l'utilisation de
ces marques par New One S.A.S se fait dans le cadre d'une autorisation.
Les autres marques et noms commerciaux sont les propriétés de leurs
titulaires respectifs.
Coupler un appareil Bluetooth
1. Lorsque l’unité est allumée, appuyez plusieurs fois sur le bouton SOURCE
ou appuyez directement sur le bouton de la télécommande pour passer
en mode Bluetooth. Le indicateur lumineux clignotera rapidement en bleu
indiquant qu'il est en mode de couplage.
2. Sur l'appareil Bluetooth, activez le Bluetooth et sélectionnez «M-1650SBT»
dans la liste des appareils. (consultez le manuel d'instruction de l'appareil
pour les détails de connexion). Si l'appareil Bluetooth vous demande
un mot de passe, utilisez '0000'. Certains appareils Bluetooth vous
demanderont d'accepter la connexion. Si les unités sont couplées
correctement, vous entendrez la musique de conrmation.
O nome Bluetooth
®
e logotipos são marcas registradas de propriedade da
Bluetooth SIG, Inc. e quaisquer usos destas marcas pela New One S.A.S
estão licenciados. Outras marcas e nomes registrados pertencem aos seus
respectivos proprietários.
Pareando um dispositivo com Bluetooth
1. Quando esse aparelho estiver LIGADO, prima o botão SOURCE (fonte)
repetidamente ou prima o botão diretamente no controlo remoto para
entrar no modo Bluetooth. O indicador pisca a azul rapidamente indicando
que se encontra em modo Emparelhamento.
2. No dispositivo com Bluetooth, ative o Bluetooth e selecione "M-1650SBT"
na Lista de Dispositivos. (Consulte o manual de instruções do dispositivo
que estiver sendo conectado para mais detalhes). Caso o dispositivo
com bluetooth solicite uma senha, utilize "0000". Alguns dispositivos com
Bluetooth solicitarão que você aceite a conexão. Se as unidades estiverem
adequadamente emparelhadas, ouvirá a música de conrmação.
Dica: Se desejar conectar a Soundbar a outro dispositivo de áudio Bluetooth,
prima e segure o botão para desconectar o dispositivo e siga as etapas
acima para fazer uma nova conexão.
Utilizando um dispositivo com Bluetooth
1. Com o aparelho pareado (veja seção anterior), utilize o seu dispositivo
com Bluetooth e o seu som poderá ser escutado através das caixas de
som do M-1650 SBT.
2. Pressione o botão para pausar uma reprodução. Pressione novamente
para continuar uma reprodução.
3. Pressão curta nos botões / para seleccionar o cheiro áudio
desejado.
4. Ajuste o volume através dos botões de Volume. Você também poderá
ajustar o volume através do dispositivo com o qual você estiver pareado.
A NEW ONE S.A.S aqui declara que este produto MUSE M-1650 SBT
cumpre os requisitos essenciais e outras disposições relevantes da Norma
2014/53/EU. A declaração de conformidade pode ser consultada em
www.muse-europe.com
The Bluetooth
®
word mark and logos are registered trademarks owned by
Bluetooth SIG, Inc. and any use of such marks by New One S.A.S is under
license. Other trademarks and trade names are those of their respective
owners.
Pairing a Bluetooth Device
1. When the unit is ON, press SOURCE button repeatedly or press button
directly on remote control to enter Bluetooth mode. The indicator will blink
blue rapidly indicating it is in pairing mode.
2. On the Bluetooth device, enable Bluetooth and select “M-1650SBT” from
the Device List. (Refer to the user manual of the device to be connected
for detailed operations.) If the Bluetooth device prompts for a passcode,
use “0000”. Some Bluetooth devices will ask you to accept the connection.
If the units are paired properly, you will hear the conrmation music.
Tip: If you want to connect your sound bar to another Bluetooth audio device,
press and hold button to disconnect the device, and then follow the steps
above to make a new connection.
Using a Bluetooth Device
1. With a unit paired (see previous section), operate your Bluetooth device
and its sound will be heard through the M-1650 SBT’s speakers.
2. Press the button to pause playback. Press again to resume playback.
3. Short press / button to select desired track.
4. Adjust the volume using the / buttons. You can also adjust the volume
on the device to which you are paired.
Hereby, NEW ONE S.A.S, declares that this MUSE M-1650 SBT is in
compliance with the essential requirements and other relevant provisions
of Directive 2014/53/EU. The declaration of conformity may be consulted at
www.muse-europe.com
Astuce: Si vous souhaitez connecter votre barre de son à un autre
périphérique audio Bluetooth, appuyez sur le bouton et maintenez-le
enfoncé pour déconnecter le périphérique, puis suivez les étapes ci-dessus
pour établir une nouvelle connexion.
Utiliser un appareil Bluetooth
1. Avec une unité couplée, (voir la section précédente), faites fonctionner
votre appareil Bluetooth et il di󰀨usera du son par le biais de l'enceinte
M-1650 SBT.
2. Appuyez sur la touche pour mettre la lecture en pause. Appuyer à
nouveau pour reprendre a lecture.
3. Appuyez sur la touche ou pour passer à la plage suivante ou
précédente.
4. Réglez le volume à l'aide des touches de volume / . Vous pouvez
également régler le volume sur l'appareil avec lequel vous êtes couplé.
Par la présente, NEW ONE S.A.S déclare que l'appareil "MUSE M-1650SBT"
est conforme aux exigences essentielles et autres dispositions pertinentes
de la directive 2014/53/EU. La déclaration de conformité peut être consultée
sur le site www.muse-europe.com
VOYQANT LUMINEUX MODE
Rouge En veille
Bleue Bluetooth
Violet HDMI ARC
Cyan USB
Jaune Optique
Vert Line in
INDICADOR DE LUZ MODO
Vermelho Standby
Azul Bluetooth
Roxo HDMI ARC
Ciano USB
Amarelo Ótico
Verde Line in
INDICATOR LIGHT MODE
Red Standby
Blue Bluetooth
Purple HDMI ARC
Cyan USB
Yellow Optical
Green Line in
INSTRUCTION DE MONTAGE AU MUR
INSTRUÇÃO DE MONTAGEM DE PAREDE
ANLEITUNGEN FÜR WANDBEFESTIGUNG
WALL MOUNTING INSTRUCTION
LECTURE D’UNE CLE USB
LEITURA DE UMA CHAVE USB
LISTENING TO THE USB
CONNEXION AVEC UN APPAREIL EXTERNE
CONECTANDO UM DISPOSITIVO EXTERNO
CONNECTING WITH EXTERNAL DEVICES
ALIMENTATION
ALIMENTAÇÃO
STROMVERSORGUNG
POWER SUPPLY
FICHE TECHNIQUE
ESPECIFICAÇÕES
TECHNICAL SPECIFICATION
MISE EN MARCHE ET ARRET DE L’APPAREIL
LIGANDO/DESLIGANDO O APARELHO
TURNING UNIT ON/OFF
CHOIX DE LA FONCTION
SELECIONANDO A FUNÇÃO
SELECTING FUNCTION
COMMANDES AUDIO
CONTROLES DE ÁUDIO
AUDIO CONTROLS
FONCTION BLUETOOTH
FUNÇÃO DE BLUETOOTH
BLUETOOTH FUNCTION
Utilisation sur piles (Télécommande)
1. Enlevez la trappe des piles en appuyant avec le pouce sur la zone
indiquée sur la trappe et soulevez la trappe hors du boitier.
2. Avant d'insérer les piles, Vériez les polarités (+ et -) des piles, puis
installez les piles avec les polarités correspondantes au diagramme dans
le compartiment. Installez 2 piles 1.5V, R3/UM4/“AAA” (fournies) dans le
compartiment.
3. Refermez le compartiment pour piles.
Utilização das pilhas (Telecomando)
1. Remova a tampa do compartimento das pilhas colocando pressão na
área indicada na tampa com o polegar, e em seguida levante e retire-a
do aparelho.
2. Antes de colocar as pilhas, verique a posição dos polos (+ e -), e então
instale combinando-as com os polos gravados dentro do compartimento.
Insira 2 pilhas de 1,5V, R3/UM4/“AAA” (incluso) no compartimento.
3. Volte a fechar o compartimento das pilhas.
Batteriebetrieb (Fernbedienung):
1. Ö󰀨nen Sie das Batteriefach, indem Sie mit Ihrem Daumen auf den
markierten Bereich der Abdeckung drücken und dann die Abdeckung
anheben und herausziehen.
2. Beachten Sie die Polarität (+ und -) der Batterien. Legen Sie 2 x 1,5V Batterien
des Typs R3/UM4/„AAA“ (inklusive) gemäß den Polaritätsmarkierungen im
Batteriefach ein.
3. Schließen Sie das Batteriefach wieder.
Battery operation (Remote control)
1. Remove the battery compartment door by applying thumb pressure to
area indicated on battery door and then lift the door out and o󰀨 the cabinet.
2. Before inserting the batteries, observe the polarities (+ and -) of the
battery, then relate the polarities to the engraved diagram inside the
battery compartment, insert 2x1.5V, R3/UM4/“AAA” battery (included) into
the compartment.
3. Replace the compartment door.
INFORMATION DE SÉCURITÉ
SAFETY INFORMATION
INSTRUÇÕES DE SEGURANÇA
ATTENTION: Pour réduire le risque de choc
électrique, ne démontez pas l’appareil. Celui-ci ne
contient aucune pièce réparable par l’utilisateur.
Conez toute réparation à du personnel qualié.
CAUTION: To reduce the risk of electric shock, do
not open the device, there is no party inside for the
user. Refer all servicing to qualied personnel.
ATENÇÃO: Para reduzir o risco de choque eléctrico,
não desmonte o aparelho. O aparelho não tem
nenhuma parte que possa ser reparada pelo utilizador.
Cone qualquer reparação a um técnico qualicado.
Ce symbole signale la présence de tensions dangereuses à
l’intérieur de l’appareil.
The lightning with the arrow symbol in the triangle is a warning sign
alerting the user to "dangerous voltage" inside the unit.
Este símbolo assinala a presença de tensões perigosas no interior
do aparelho.
Ce symbole rappelle que la documentation fournie avec l’appareil
contient d’importantes instructions.
The exclamation point in the triangle is a warning sign alerting the
user of important instructions accompanying the product.
Este símbolo recorda que a documentação fornecida com o
aparelho contém instruções importantes.
Si à l'avenir, vous deviez vous débarrasser de ce produit, sachez
que les produits électriques usagés ne doivent pas être jetés avec
les ordures ménagères. Des installations destinées au recyclage
existent. Vériez auprès de votre municipalité ou demandez à
votre revendeur des conseils. (Directive Déchets d'Equipements
Electriques et Electroniques)
If in the future, you need to get rid of this product, please note that
Waste electrical products should not be disposed of with household
waste. Recycling facilities exist. Check with your municipality or
ask your dealer for advice. (Directive for Waste Electrical and
Electronic Equipment)
Se no futuro pretender deitar fora este aparelho, note que os
aparelhos eléctricos não devem ser lançados nas lixeiras de
resíduos domésticos. Informe-se para conhecer o centro de
reciclagem mais próximo. Consulte as autoridades locais ou o seu
revendedor para mais detalhes (Directiva sobre os resíduos dos
equipamentos eléctricos e electrónicos).
Nota: O desenho e as especicações estão sujeitas a mudanças sem aviso
prévio.
REMOTE CONTROL
REMARQUES:
- Ne chargez jamais des piles non rechargeables. Ne chau󰀨ez pas les piles
et ne les démontez pas.
- N’exposez pas les piles à une chaleur excessive, comme les rayons du
soleil, le feu ou d’autres sources de chaleur similaires.
- En cas de non-utilisation prolongée de la télécommande, retirez les
piles an d’éviter tout dommage provoqué par une corrosion due à un
écoulement de celles-ci.
- Veillez au respect de l’environnement lorsque vous vous débarrassez des
piles usagées.
- Pour des performances optimales, des piles de type Alcaline sont
recommandées. Ces piles doivent- être remplacées tous les 6 mois.
ATTENTION:
Danger d'explosion si les piles ne sont pas remplacées correctement.
Remplacez-les uniquement par des piles identiques ou de type équivalent.
OBSERVAÇÕES:
- Nunca carregue pilhas não recarregáveis. Não aqueça as pilhas e não as
desmonte.
- No caso de não utilização prolongada do telecomando, retire a pilha de
modo a evitar quaisquer danos causados pela corrosão originada pelo
líquido vertido da referida pilha.
- Certique-se de que respeita o ambiente quando eliminar pilhas gastas.
- Não exponha as pilhas a calor excessivo, como raios do sol, fogo ou outras
fontes de calor semelhantes.
- Recomenda-se a utilização de pilhas alcalinas. Para um funcionamento
óptimo, recomenda-se a substituição das pilhas todos os 6 meses.
ATENÇÃO: Risco de explosão se a pilha não for inserida correctamente.
Substitua-a apenas por uma pilha idêntica ou de tipo equivalente.
HINWEISE:
- Nicht Wiederauadbare-Batterien dürfen nicht nochmals geladen werden.
Erhitzen Sie die Batterien nicht und demontieren Sie sie nicht.
- Entsorgen Sie leere Batterien umweltgerecht.
- Batterien dürfen keiner übermäßigen Hitze ausgesetzt werden (wie zum
Beispiel praller Sonne, Feuer oder anderen ähnlichen Hitzequellen).
- Wenn Sie die Fernbedienung während längerer Zeit nicht verwenden,
entfernen Sie ihre Batterie, um Schäden durch Ausießen der Batterie zu
vermeiden.
- Wir empfehlen den Gebrauch alkalischer Batterien. Damit das Gerät
optimal funktioniert, sollten Sie diese Batterien alle 6 Monate ersetzen.
ACHTUNG: Wenn die Batterie nicht richtig eingelegt wird, besteht die
Gefahr, dass die Batterie explodiert. Ersetzen Sie eine leere Batterie nur mit
einer identischen oder gleichwertigen Batterie.
Notes on batteries
- Never recharge the batteries, apply heat to them or take them apart.
- Battery shall not be exposed to excessive heat such as sunshine, re or
the like.
- Attention should be drawn to the environmental aspects of battery disposal.
- If the remote control is not going to be used for a long time, remove the
battery to avoid damage caused by battery leakage corrosion.
- For optimal performance, alkaline batteries are recommended. These
batteries must be replaced every six months.
CAUTION:
Danger of explosion if battery is incorrectly replaced. Replace only with the
same or equivalent type.
ATTENTION !
- La plaque signalétique se trouve à l’arrière de cet appareil.
- Veiller à avoir une distance minimale de 5 cm autour de l'appareil pour une
aération su󰀩sante et que la ventilation ne soit pas gênée en recouvrant les
orices d'aération de l'appareil avec des objets tels que journaux, nappes,
rideaux.
- Ne placez pas de sources de ammes nues, telles que des bougies
allumées sur l'appareil.
- Ne pas exposer l'appareil à des gouttes d'eau ou éclaboussures.
- Ne placez pas d'objets remplis de liquides, tels que verre, vase ou objets
similaires sur l'appareil.
- N’utilisez cet appareil que sous des climats temperes.
- Ne pas jeter les piles dans le feu! Respectez l'environnement lors de la
disposition des piles usagées.
- Les piles ne doivent pas être exposées à une chaleur excessive comme le
soleil, le feu ou autre source de chaleur similaire.
- La che du cordon d'alimentation est utilisée comme dispositif de
débranchement et doit rester facilement accessible. Pour être totalement
déconnecté, cette che doit être débranchée du réseau complètement. La
prise de courant ne doit pas être obstruée et doit être facilement accessible
lors de son utilisation.
- Le fonctionnement normal du produit peut être perturbé par de fortes
interférences électromagnétiques. Si tel est le cas, il su󰀩t de réinitialiser le
produit pour qu'il reprenne son fonctionnement normal en suivant le manuel
d'instructions. Si le fonctionnement ne revient toujours pas à la normale,
veuillez déplacer et utiliser le produit dans un endroit o󰀨rant une meilleure
réception.
IMPORTANT!
- The Marking plate is located at the back of the device
- Make sure to have a minimum distance of 5 cm around the unit for su󰀩cient
ventilation.
- Ensure that the ventilation openings are not covered with items such as
newspapers, tablecloths, curtains, etc.
- Do not place naked ame sources, such as lighted candles on the
apparatus.
- Do not expose this appliance to dripping or splashing water.
- Do not place objects lled with liquids, such as glass, vase on the device.
- Use the apparatus only in moderate climates.
- Do not throw batteries into re! Respect the environment when disposing
of used batteries.
- Batteries should not be exposed to excessive heat such as sunshine, re
or other similar heat source.
- AC adaptor is used as the disconnect device. It shall remain readily operable
and should not be obstructed during intended use. To be completely
disconnected the apparatus from supply mains, the AC adaptor of the
apparatus shall be disconnected from the mains socket outlet completely.
- The normal function of the product may be disturbed by strong Electro-
Magnetic Interference. If so, simply reset the product to resume normal
operation by following the instruction manual. In case the function could not
resume, please use the product in other location.
ATENÇÃO
- A placa de características situa-se na parte de trás deste aparelho.
- Preveja um espaço mínimo de 5 cm à volta do aparelho para assegurar uma
ventilação suciente.
- Certique-se de que não tapa os orifícios de ventilação.
- Não coloque velas sobre ou na proximidade do aparelho.
- Certique-se de que não expõe o aparelho à chuva ou à humidade.
- Não coloque qualquer recipiente com líquido, como uma jarra, sobre ou na
proximidade do aparelho.
- Utilize este aparelho apenas em climas temperados.
- Não deite as pilhas no fogo! Respeite o meio ambiente quando for jogar fora
pilhas usadas.
- Não exponha as pilhas a um calor excessivo, como raios solares, fogo ou
outras fontes de calor semelhantes.
- O adaptador de corrente permite desligar o aparelho. Deve ser mantido
facilmente acessível durante a utilização. Para cortar completamente a
alimentação do aparelho, desligue efectivamente o adaptador da tomada de
corrente.
- A função normal do produto pode ser interrompida por fortes interferências
eletromagnéticas. Nesse caso, basta reiniciar o produto para retomar a
operação normal seguindo o manual de instruções. Caso a função não possa.
MAIN UNIT
Nos emballages peuvent faire l’objet d’une consigne de tri, pour
en savoir plus: www.quefairedemesdechets.fr
Les caractéristiques et les spécifications sont sujettes à modification
sans préavis.
NEW ONE S.A.S
10, Rue de la Mission, 25480 Ecole Valentin, France
NEW ONE S.A.S
10, Rue de la Mission, 25480 Ecole Valentin, France
NEW ONE S.A.S
10, Rue de la Mission, 25480 Ecole Valentin, France
BARRE DE SON AVEC FONCTION BLUETOOTH
CAIXAS DE SOM PARA TV COM BLUETOOTH
TV-LAUTSPRECHER MIT BLUETOOTH
TV SPEAKER WITH BLUETOOTH
FR
PT
DE
GB
FR
Manuel de l’utilisateur
GB
User Manual
PT
Manual do Utilizador
Benutzerhandbuch
DE
ES
Manual de instrucciones
Manuale
IT
NL
Handleiding
FR
Lire attentivement les instructions avant de faire
fonctionner l’appareil.
GB
Read the instructions carefully before operating the
unit.
PT
Leia este manual com atenção antes de qualquer
utilização.
Bitte lesen sie dieses handbuch vor dem gebrauch des
gerätes sorgfältig durch.
DE
ES
Antes de utilizar este aparato, lea atentamente las
siguientes instrucciones
Leggete attentamente il manuale prima dell’uso.
IT
NL
Lees deze handleiding aandachtig voor u het toestel
gebruikt.
SB-5048 IB MUSE 001 REV1.indd 1 2020/3/10 17:08:43
R1. Touche (STANDBY)
R2. Touche LINE
R3. Touche (Bluetooth)
R4. Touche / : Réglage du volume
R5. Touche / : Permet de passer à la piste suivante/ précédente;
Maintenez le bouton pour avancer/ reculer
R6. Touche (Lecture/ Pause)
R7. Touche EQ
R8. Touche SOURCE
R9. Touche (Sourdine)
R1. Botão
R2. Botão LINE
R3. Botão (Bluetooth)
R4. Botão / : Regulação do volume
R5. Botão / : Premir ligeiramente para saltar para a faixa seguinte/
anterior; Prima e segure para avançar/ retroceder
R6. Botão (Leitura/Pausa)
R7. Botão EQ
R8. Botão SOURCE
R9. Botão (Surdina)
R1. Taste (STANDBY)
R2. Taste LINE
R3. Taste (BLUETOOTH)
R4. Taste / : Einstellen der Lautstärke
R5. Tasten / : kurz drücken, um zum nächsten/ vorherigen Titel zu
springen; Gedrückt halten, um die Wiedergabe vor-/ zurückzuspulen.
R6. Taste (wiedergabe/ pause)
R7. Taste EQ
R8. Taste SOURCE
R9. Taste : Aktivieren / Deaktivieren des Tons
R1. (Standby) button
R2. LINE button
R3. (Bluetooth) button
R4. / button: Volume up/down
R5. / buttons: Short press to skip to next/ previous track; Long press
to step forward/ rewind
R6. (Play/ pause) button
R7. EQ button
R8. SOURCE button
R9. (Mute) button
1. Indicateur lumineux
2. Récepteur pour télécommande
3. Haut-parleurs
4. Port HDMI ARC
5. Port USB permettant la lecture
MP3
6. Entrée LINE IN
7. Entrée Optique (OPTICAL)
1. Indicador de luz
2. Sensor para o telecomando
3. Altifalantes
4. Porta HDMI ARC
5. Porta USB que permite
reprodução de MP3
6. Entrada LINE IN
7. Conector OPTICAL
(entrada ótica)
1. Anzeigelampe
2. Infrarotsensor für die Fernbedienung
3. Lautsprecher
4. HDMI ARC Eingang
5. USB-Anschluss zur MP3-
Wiedergabe
6. LINE IN Eingang
7. Optischer eingang (OPTICAL)
1. Indicator
2. Remote sensor
3. Speakers
4. HDMI ARC port
5. USB port for MP3 playback
6. LINE IN jack
7. OPTICAL jack
8. Entrée alimentation (DC IN)
9. Encoche de xation
10. Touche (Veille/ Marche)
11. Touche SOURCE: Pour
sélectionner le mode
BLUETOOTH, USB, LINE IN,
OPTICAL ou HDMI ARC
12. Touche / : Réglage du volume
8. Entrada de alimentação DC 18V
9. Suporte De Instalação Em
Paredes
10. Para ligar e desligar o aparelho
11. Botão SOURCE: Para selecionar
o modo BLUETOOTH, LINE IN,
OPTICAL, HDMI ARC ou USB
12. Botão / : Regulação do
volume
8. Gleichstromeingang
9. Wandhalterung
10. Gerät ein-/ ausschalten
11. Taste SOURCE: BLUETOOTH-,
USB-, LINE IN-, OPTICAL- oder
HDMI ARC-Modus einstellen
12. Taste / : Einstellen der
Lautstärke
8. DC IN jack
9. Wall mounting brackets
10. (Standby) button: to turn on/o󰀨 unit
11. SOURCE button: to select
BLUETOOTH, LINE IN, OPTICAL,
HDMI ARC or USB mode
12. / button: Volume up/down
DESCRIPTION DE L’APPAREIL
DESCRIÇÃO DO APARELHO
BESCHREIBUNG DES GERÄTS
LOCATION OF CONTROLS
Unité principale
UNIDADE PRINCIPAL
HAUPTGERÄT
Main unit
Télécommande
Telecomando
Fernbedienung
Remote control
M-1650 SBT
Avant de jeter les piles, consultez votre revendeur car celui-ci peut
les reprendre pour les recycler.
Antes de eliminar as pilhas, consulte o seu revendedor pois este
pode retomá-las para reciclagem.
Fragen Sie vor dem Entsorgen der Batterien Ihren Fachhändler
vor Ort um Rat, denn dieser kann sie zurücknehmen und sich um
deren fachgerechtes Entsorgen kümmern.
Before throwing any batteries away, consult your distributor who
may be able to take them back for specic recycling.
1. Percez 2 trous dans le mur à l’aide d’un perforateur électrique puissant.
2. Insérez les attaches de xation (fournies) dans les trous.
3. Sécurisez les vis (fournies) dans les attaches de xation et laissez environ
4mm de longueur pour accrocher la barre de son.
4. Placez la barre de son sur les vis de montage. Assurez-vous qu’elles
soient solidement xées et stables.
1. Faça 2 furos na parede com uma broca elétrica potente.
2. Insira o bujão de xação (incluso) nos orifícios.
3. Prenda os parafusos (incluso) nas chas de xação e deixe
aproximadamente 4mm de comprimento para encaixar a caixa de som.
4. Coloque a caixa de som nos parafusos de montagem. Certique-se de
que eles estão rmes e estáveis.
1. Bohren Sie mit einer Bohrmaschine 2 Löcher in die Wand.
2. Stecken Sie die Dübel (inklusive) in die Löcher.
3. Drehen Sie die Schrauben (inklusive) in die Dübel; lassen Sie die
Schrauben ca. 4mm herausragen, um die Soundbar zu befestigen.
4. Setzen Sie die Soundbar auf die Befestigungsschrauben. Vergewissern
Sie sich, dass die Schrauben sicher und stabil befestigt sind.
1. Drill 2 holes on wall with a powerful electric drill.
2. Insert the xing plug (supplied) into the holes.
3. Secure the screws (supplied) into the xing plugs and leave approx. 4mm
length to hook the sound bar.
4. Put the sound bar onto the mounting screws. Make sure they are rm
and stable.
1. Vous pouvez connecter une clé USB (non fourni) sur le port USB sur
l'unité pour lire les chiers MP3.
2. Lorsque l’unité est allumée, appuyez plusieurs fois sur le bouton SOURCE
pour sélectionner le mode USB. Appuyez sur la touche pour reprendre
a lecture. Appuyer à nouveau pour mettre la lecture en pause.
3. Appuyez sur la touche ou pour passer à la plage suivante ou
précédente. Appuyez et maintenez / pour avancer/reculer lors de
la recherche.
4. Ajustez le volume sonore au niveau désiré.
Remarque:
- Il existe de nombreux modèles de périphériques USB. Nous ne pouvons
garantir que l’appareil soit compatible avec tous ces di󰀨érents modèles. Si
votre périphérique USB n’est pas compatible, veuillez en essayer un autre.
- Il se peut que certains chiers enregistrés sur le périphérique USB
ne puissent être lus. En e󰀨et, certains formats spéciaux ne sont pas
compatibles avec cet appareil.
1. Conectar um pendrive (não incluso) na porta USB do aparelho para
reproduzir arquivos MP3.
2. Quando esse aparelho estiver LIGADO, pressione o botão SOURCE
várias vezes para entrar no modo USB. Pressione o botão para pausar
uma reprodução. Pressione novamente para continuar uma reprodução.
3. Pressão curta nos botões / para seleccionar o cheiro áudio
desejado; Prima e segure os botões / para avançar/ retroceder
para pesquisar.
4. Ajuste o volume através dos botões de Volume.
Nota:
- Existem muitos dispositivos USB no mercado. Nós não podemos garantir
que suporta todos os diferentes modelos. Experimente outro dispositivo
USB se o seu não for suportado.
- A unidade pode não suportar todos os arquivos multimédia armazenados
em USB, pois inclui algums procedimentos de reprodução especial que
pode não ser compatível com o procedimento desta unidade.
1. Connect a USB ash drive (not included) to the USB port on the unit.
2. When the unit is ON, press SOURCE button repeatedly to enter USB
mode. Press the button to start playback, press again to pause the
playback.
3. Short press / button to select desired track; Press and hold /
to step forward/rewind to search.
4. Adjust the volume using the / buttons.
Notes:
- There are many USB devices in the market. We cannot guarantee to
support all di󰀨erent models. Please try another USB device if yours is not
supported.
- The unit might not support all the multimedia les stored in USB because it
includes some special playback procedure which might not be compatible
with the procedure of this unit.
Sur votre prise LINE IN
Cette barre de son dispose de groupes supplémentaires de bornes d'entrée
audio. Vous pouvez connecter des signaux audio stéréo analogique
provenant d'appareils supplémentaires tels que des lecteurs VCD, CD,
magnétoscope, DVD, etc.
Lorsque l'appareil est allumé, appuyez plusieurs fois sur le bouton SOURCE
ou appuyez directement sur le bouton LINE de la télécommande pour passer
en mode Line In. Utilisez le câble audio (câble non inclus) pour connecter les
bornes de sortie audio stéréo d'un lecteur VCD, CD, magnétoscope, DVD
aux bornes d'entrée stéréo LINE IN de cette barre de son.
Sur l’ ENTRÉE OPTIQUE
Lorsque l’unité est allumée, appuyez plusieurs fois sur le bouton SOURCE
pour sélectionner le mode OPTIQUE. Connectez votre source audio sur
la prise OPTICAL (ENTRÉE OPTIQUE) sur l’unité avec un câble audio
numérique (câble non fourni).
Sur l’ ENTRÉE ARC
L'ARC est une fonction de canal de retour audio et elle est utilisée dans
la sortie audio numérique de la télévision an d'obtenir la qualité sonore
synchrone optimale. Lorsque l’unité est allumée, appuyez plusieurs fois sur
le bouton SOURCE pour sélectionner le mode ARC. Utilisez le câble HDMI
(câble non inclus) pour connecter le port d'entrée HDMI-ARC de cette barre
de son au port de sortie ARC du téléviseur.
Remarque: le téléviseur lui-même doit être doté de la fonction HDMI ARC
et il doit être allumé avant l’utilisation. La connexion entre le téléviseur et la
barre de son via HDMI ARC peut échouer car la compatibilité du HDMI ARC
varie selon les di󰀨érentes marques de téléviseurs. En cas d'échec, veuillez
utiliser une entrée Line In de 3,5 mm ou une entrée optique pour connecter
la barre de son au téléviseur.
Para os conectores OPTICAL
Quando esse aparelho estiver LIGADO, pressione o botão SOURCE várias
vezes para entrar no modo OPTICAL. Conecte a fonte de som no conector
OPTICAL do aparelho com um cabo de áudio digital (cabo não incluído).
Para os conectores ARC
A função Canal de Retorno de Áudio (ARC), é usada na saída de áudio
digital de televisões LCD para obter a melhor qualidade de som síncrono.
Quando esse aparelho estiver LIGADO, pressione o botão SOURCE várias
vezes para entrar no modo ARC. Use o cabo HDMI (cabo não incluído) para
conectar a porta de entrada HDMI-ARC desta Soundbar à porta de saída
ARC da televisão LCD.
Nota: A TV em si deve ter o recurso HDMI ARC e deve estar ligada antes de
utilizar. A conexão entre a TV e a Soundbar via HDMI ARC pode falhar, pois
a compatibilidade do HDMI ARC varia de diferentes marcas de televisão.
Caso falhe, utilize a entrada de linha de 3,5 mm ou a entrada ótica para
conectar a Soundbar à TV.
Para entradas LINE IN
Esta Soundbar possui terminais de entrada de áudio extras. Pode inserir
sinais de áudio estéreo analógico a partir de dispositivos externos, como
leitores de VCD, CD, VCR, DVD, etc.
Quando a unidade estiver ligada, prima o botão SOURCE repetidamente ou
prima o botão LINE (linha) diretamente no controlo remoto para entrar no
modo Linha. Utilize o cabo de áudio (cabo não incluído) para conectar os
terminais de saída de áudio estéreo de um leitor de VCD, CD, VCR, DVD
aos terminais de entrada estéreo LINE IN (entrada de linha) desta Soundbar.
To LINE IN jack
This sound bar has an extra groups of audio input terminals. You can input
the analogue stereo audio signals from extra devices such as VCD, CD,
VCR, DVD player, etc.
When the unit is ON, press SOURCE button repeatedly or press LINE button
directly on remote control to enter Line in mode. Use the audio cable (cable
not included) to connect the stereo audio output terminals of a VCD, CD,
VCR, DVD player to the stereo input terminals LINE IN of this sound bar.
To OPTICAL jack
When the unit is ON, press SOURCE button repeatedly to enter optical
mode. Connect your audio source to the OPTICAL jack on unit with a digital
optical audio cable (cable not included).
To ARC jack
ARC is audio return channel function, it is used in digital audio output of
liquid-crystal display television in order to get the optimal synchronous sound
quality. When the unit is ON, press SOURCE button repeatedly to enter ARC
mode. Use the HDMI cable (cable not included) to connect the HDMI-ARC
input port of this sound bar to the ARC output port of the liquid-crystal display
television.
Note: The TV itself must have HDMI ARC feature and it should be turned on
before use. And the connection between TV and Sound Bar via HDMI ARC
might be failed as the compatibility of HDMI ARC varies from di󰀨erent brands
of TV. If it fails, please use 3.5mm Line in or Optical in to connect the Sound
bar to the TV.
Utilisation de l’adaptateur secteur
Les adaptateurs secteurs fournis peuvent uniquement être utilisés sur une
alimentation secteur de 100-240V 50/60Hz. L’adaptateur secteur fourni ne
peut en aucun cas être utilisé sur un autre type d’alimentation.
Avertissements:
L’adaptateur secteur fourni est exclusivement destiné à être utilisé avec cet
appareil. Ne l’utilisez donc pas avec d’autres appareils.
Éteignez l’appareil avant de débrancher l’adaptateur secteur an d’éviter
d’abîmer le lecteur.
En cas de non-utilisation prolongée, débranchez l’adaptateur secteur de
la prise.
Placez l’appareil à proximité de la prise murale et veillez à ce que cette
dernière reste facilement accessible. En cas de dysfonctionnement,
débranchez immédiatement l’appareil de la prise murale.
L’adaptateur secteur permet de débrancher l’appareil. Il doit rester facilement
accessible durant l’utilisation. Pour couper complètement l’alimentation de
l’appareil, débranchez tout à fait l’adaptateur de la prise secteur.
N’utilisez jamais un adaptateur secteur abîmé. Placez le câble d’alimentation
de manière sûre et de façon à ne pas le coincer ou l’écraser. Si le câble est
endommagé, contactez un service de réparation.
Utilização do adaptador de corrente
A fonte fornecida é adequada para ser utilizada em tomadas de 100 a
240V 50/60Hz e deverá ser apenas ligada a tomadas dentro dessas
especicações.
Atenção:
O adaptador de corrente fornecido destina-se apenas a ser utilizado com
este aparelho. Não o utilize, pois, com outros aparelhos.
Desligue o aparelho antes de desligar o adaptador de corrente para evitar
danicar o leitor.
No caso de não utilização prolongada, desligue o adaptador de corrente
da tomada.
Coloque o aparelho na proximidade da tomada de parede e certiquese
de que esta se mantém facilmente acessível. Em caso de avaria, desligue
imediatamente o aparelho da tomada de parede.
O adaptador de corrente permite desligar o aparelho. Deve ser mantido
facilmente acessível durante a utilização. Para cortar completamente a
alimentação do aparelho, desligue efectivamente o adaptador da tomada
de corrente.
Nunca utilize um adaptador de corrente danicado. Coloque o cabo de
alimentação de forma segura e de modo a não car preso nem esmagado.
Se o cabo estiver danicado, contacte um serviço de reparação.
Gebrauch des Netzstromadapters
Der mitgelieferte Netzstromadapter ist geeignet für eine AC 100-240V
50/60Hz Stromversorgung und darf nur an einer Steckdose mit diesen
Parametern angeschlossen werden.
AC ADAPTOR
The supplied AC adaptor is suitable for use on AC main supplies of AC 100-
240V 50/60Hz and should only be connected to a mains supply within
these parameters.
Cautions:
The AC adaptor included with this unit is for its use only. Do not use it with
other equipment.
Turn o󰀨 the unit before unplugging the AC adaptor from the unit so as to
avoid the unit being damaged.
When the unit is not going to be used for long time, disconnect the AC
adaptor from the AC outlet.
Be sure to use it near the wall outlet and easily accessible. If a malfunction
occurs, disconnect the plug from the wall outlet at once.
AC adaptor is used as the disconnect device. It shall remain readily operable
and should not be obstructed during intended use. To be completely
disconnected the apparatus from supply mains, the AC adaptor of the
apparatus shall be disconnected from the mains socket outlet completely.
Never use an AC adaptor that is damaged, route power lead in a safe
manner and make sure it is not subjected to trapping or pinching. If the
power lead is damaged refer to a qualied service agent.
GÉNÉRALITÉS
Alimentation: DC 18.0V 2.0A
BLUETOOTH
Version Bluetooth: V4.2
Bluetooth: 2.400-2.480 GHz
Puissance de sortie des RF: Max 6.6 dBm
Distance de fonctionnement: Jusqu'à 10 mètres mesurés en espace ouvert
(les murs et les structures peuvent a󰀨ecter la portée de l'appareil)
Contrôle à distance: Jusqu'à 8 mètres, +/- 30 degrés.
Les caractéristiques et les spécications sont sujettes à modication sans
préavis.
GERAL
Alimentação: DC 18.0V 2.0A
BLUETOOTH
Versão do Bluetooth: V4.2
Bluetooth: 2.400-2.480 GHz
Potência de saíde de RF: Max 6.6 dBm
Distância de Funcionamento: Até 10 metros, medido em espaço aberto
(paredes e estruturas poderão afetar a distância de funcionamento do
dispositivo).
Alcance do Controle Remoto: Até 8 metros, +/- 30 graus.
O desenho e as especicações estão sujeitas a mudanças sem aviso prévio.
GENERAL
POWER SUPPLY: DC 18.0V 2.0A
BLUETOOTH
Bluetooth Version: V4.2
Bluetooth: 2.400-2.480 GHz
RF Output Power: Max 6.6 dBm
Working Distance: Up to 10 meters measured in open space (wall and
structures may a󰀨ect range of device)
Remote working distance: Up to 8 meters, +/- 30 degree.
Specications are subject to change without notice.
Appuyez sur la touche pour mettre l’appareil en marche. Appuyez à
nouveau sur cette touche pour éteindre l’appareil.
No modo de espera, pressione o botão para ligar o aparelho. Pressione
esse botão novamente para desligar o aparelho.
Press button to turn on the unit. Press this button again to turn o󰀨 the unit.
La fonction (BLUETOOTH/ LINE IN/ USB/ OPTICAL/ HDMI ARC) peut
être choisie en appuyant plusieurs fois sur la touche SOURCE. La couleur
correspondante du voyant sera a󰀩chée.
A função (BLUETOOTH/ LINE IN/ USB/ OPTICAL/ HDMI ARC) é selecionada
ao pressionar o botão SOURCE repetidamente. A cor correspondente da luz
indicadora será exibida.
The function (BLUETOOTH/ LINE IN/ USB/ OPTICAL/ HDMI ARC) is
selected by pressing SOURCE button repeatedly. The corresponding color
of indicator light will be displayed.
VOLUME
Utilisez / pour régler le son à un niveau confortable.
FONCTION SOURDINE (MUTE)
Pour couper temporairement le son provenant des haut-parleurs, appuyez
sur la touche de la télécommande. Appuyez une nouvelle fois sur la
touche pour désactiver la fonction sourdine et rétablir le son des haut-
parleurs.
ÉGALISEUR
Appuyez sur le bouton EQ de la télécommande pour basculer entre les
di󰀨érents e󰀨ets sonores:
- MUSIC: Les voyants blancs clignotent pendant 2 secondes
- MOVIE: Les voyants verts clignotent pendant 2 secondes
- NEWS: Les voyants rouges clignotent pendant 2 secondes
VOLUME
Prima / para ajustar o som para um nível confortável.
FUNÇÃO SURDINA
Para cortar temporariamente o som proveniente dos altifalantes, prima o
botão do telecomando. Prima mais uma vez o botão para desactivar a
função surdina e restabelecer o som proveniente dos altifalantes.
Equalizador
Prima o botão EQ no controlo remoto para alternar entre os diferentes
efeitos sonoros:
- MUSIC: Luz branca a piscar durante 2 segundos
- MOVIE: Luz verde a piscar durante 2 segundos
- NEWS: Luz vermelha a piscar durante 2 segundos
VOLUME
Press / to adjust the sound to comfortable level.
MUTE
To cut o󰀨 the sound from the speakers temporarily, press button on
remote control. Press button again to cancel mute mode and restore the
sound from the speakers.
EQ
Press EQ button on remote control to toggle among the di󰀨erent sound
e󰀨ects:
- MUSIC: white light ashing 2 seconds
- MOVIE: green light ashing 2 seconds
- NEWS: red light ashing 2 seconds
Le mot Bluetooth
®
ainsi que les marques et logo sont des marques
commerciales déposées détenues par Bluetooth SIG, Inc. et l'utilisation de
ces marques par New One S.A.S se fait dans le cadre d'une autorisation.
Les autres marques et noms commerciaux sont les propriétés de leurs
titulaires respectifs.
Coupler un appareil Bluetooth
1. Lorsque l’unité est allumée, appuyez plusieurs fois sur le bouton SOURCE
ou appuyez directement sur le bouton de la télécommande pour passer
en mode Bluetooth. Le indicateur lumineux clignotera rapidement en bleu
indiquant qu'il est en mode de couplage.
2. Sur l'appareil Bluetooth, activez le Bluetooth et sélectionnez «M-1650SBT»
dans la liste des appareils. (consultez le manuel d'instruction de l'appareil
pour les détails de connexion). Si l'appareil Bluetooth vous demande
un mot de passe, utilisez '0000'. Certains appareils Bluetooth vous
demanderont d'accepter la connexion. Si les unités sont couplées
correctement, vous entendrez la musique de conrmation.
O nome Bluetooth
®
e logotipos são marcas registradas de propriedade da
Bluetooth SIG, Inc. e quaisquer usos destas marcas pela New One S.A.S
estão licenciados. Outras marcas e nomes registrados pertencem aos seus
respectivos proprietários.
Pareando um dispositivo com Bluetooth
1. Quando esse aparelho estiver LIGADO, prima o botão SOURCE (fonte)
repetidamente ou prima o botão diretamente no controlo remoto para
entrar no modo Bluetooth. O indicador pisca a azul rapidamente indicando
que se encontra em modo Emparelhamento.
2. No dispositivo com Bluetooth, ative o Bluetooth e selecione "M-1650SBT"
na Lista de Dispositivos. (Consulte o manual de instruções do dispositivo
que estiver sendo conectado para mais detalhes). Caso o dispositivo
com bluetooth solicite uma senha, utilize "0000". Alguns dispositivos com
Bluetooth solicitarão que você aceite a conexão. Se as unidades estiverem
adequadamente emparelhadas, ouvirá a música de conrmação.
Dica: Se desejar conectar a Soundbar a outro dispositivo de áudio Bluetooth,
prima e segure o botão para desconectar o dispositivo e siga as etapas
acima para fazer uma nova conexão.
Utilizando um dispositivo com Bluetooth
1. Com o aparelho pareado (veja seção anterior), utilize o seu dispositivo
com Bluetooth e o seu som poderá ser escutado através das caixas de
som do M-1650 SBT.
2. Pressione o botão para pausar uma reprodução. Pressione novamente
para continuar uma reprodução.
3. Pressão curta nos botões / para seleccionar o cheiro áudio
desejado.
4. Ajuste o volume através dos botões de Volume. Você também poderá
ajustar o volume através do dispositivo com o qual você estiver pareado.
A NEW ONE S.A.S aqui declara que este produto MUSE M-1650 SBT
cumpre os requisitos essenciais e outras disposições relevantes da Norma
2014/53/EU. A declaração de conformidade pode ser consultada em
www.muse-europe.com
The Bluetooth
®
word mark and logos are registered trademarks owned by
Bluetooth SIG, Inc. and any use of such marks by New One S.A.S is under
license. Other trademarks and trade names are those of their respective
owners.
Pairing a Bluetooth Device
1. When the unit is ON, press SOURCE button repeatedly or press button
directly on remote control to enter Bluetooth mode. The indicator will blink
blue rapidly indicating it is in pairing mode.
2. On the Bluetooth device, enable Bluetooth and select “M-1650SBT” from
the Device List. (Refer to the user manual of the device to be connected
for detailed operations.) If the Bluetooth device prompts for a passcode,
use “0000”. Some Bluetooth devices will ask you to accept the connection.
If the units are paired properly, you will hear the conrmation music.
Tip: If you want to connect your sound bar to another Bluetooth audio device,
press and hold button to disconnect the device, and then follow the steps
above to make a new connection.
Using a Bluetooth Device
1. With a unit paired (see previous section), operate your Bluetooth device
and its sound will be heard through the M-1650 SBT’s speakers.
2. Press the button to pause playback. Press again to resume playback.
3. Short press / button to select desired track.
4. Adjust the volume using the / buttons. You can also adjust the volume
on the device to which you are paired.
Hereby, NEW ONE S.A.S, declares that this MUSE M-1650 SBT is in
compliance with the essential requirements and other relevant provisions
of Directive 2014/53/EU. The declaration of conformity may be consulted at
www.muse-europe.com
Astuce: Si vous souhaitez connecter votre barre de son à un autre
périphérique audio Bluetooth, appuyez sur le bouton et maintenez-le
enfoncé pour déconnecter le périphérique, puis suivez les étapes ci-dessus
pour établir une nouvelle connexion.
Utiliser un appareil Bluetooth
1. Avec une unité couplée, (voir la section précédente), faites fonctionner
votre appareil Bluetooth et il di󰀨usera du son par le biais de l'enceinte
M-1650 SBT.
2. Appuyez sur la touche pour mettre la lecture en pause. Appuyer à
nouveau pour reprendre a lecture.
3. Appuyez sur la touche ou pour passer à la plage suivante ou
précédente.
4. Réglez le volume à l'aide des touches de volume / . Vous pouvez
également régler le volume sur l'appareil avec lequel vous êtes couplé.
Par la présente, NEW ONE S.A.S déclare que l'appareil "MUSE M-1650SBT"
est conforme aux exigences essentielles et autres dispositions pertinentes
de la directive 2014/53/EU. La déclaration de conformité peut être consultée
sur le site www.muse-europe.com
VOYQANT LUMINEUX MODE
Rouge En veille
Bleue Bluetooth
Violet HDMI ARC
Cyan USB
Jaune Optique
Vert Line in
INDICADOR DE LUZ MODO
Vermelho Standby
Azul Bluetooth
Roxo HDMI ARC
Ciano USB
Amarelo Ótico
Verde Line in
INDICATOR LIGHT MODE
Red Standby
Blue Bluetooth
Purple HDMI ARC
Cyan USB
Yellow Optical
Green Line in
INSTRUCTION DE MONTAGE AU MUR
INSTRUÇÃO DE MONTAGEM DE PAREDE
ANLEITUNGEN FÜR WANDBEFESTIGUNG
WALL MOUNTING INSTRUCTION
LECTURE D’UNE CLE USB
LEITURA DE UMA CHAVE USB
LISTENING TO THE USB
CONNEXION AVEC UN APPAREIL EXTERNE
CONECTANDO UM DISPOSITIVO EXTERNO
CONNECTING WITH EXTERNAL DEVICES
ALIMENTATION
ALIMENTAÇÃO
STROMVERSORGUNG
POWER SUPPLY
FICHE TECHNIQUE
ESPECIFICAÇÕES
TECHNICAL SPECIFICATION
MISE EN MARCHE ET ARRET DE L’APPAREIL
LIGANDO/DESLIGANDO O APARELHO
TURNING UNIT ON/OFF
CHOIX DE LA FONCTION
SELECIONANDO A FUNÇÃO
SELECTING FUNCTION
COMMANDES AUDIO
CONTROLES DE ÁUDIO
AUDIO CONTROLS
FONCTION BLUETOOTH
FUNÇÃO DE BLUETOOTH
BLUETOOTH FUNCTION
Utilisation sur piles (Télécommande)
1. Enlevez la trappe des piles en appuyant avec le pouce sur la zone
indiquée sur la trappe et soulevez la trappe hors du boitier.
2. Avant d'insérer les piles, Vériez les polarités (+ et -) des piles, puis
installez les piles avec les polarités correspondantes au diagramme dans
le compartiment. Installez 2 piles 1.5V, R3/UM4/“AAA” (fournies) dans le
compartiment.
3. Refermez le compartiment pour piles.
Utilização das pilhas (Telecomando)
1. Remova a tampa do compartimento das pilhas colocando pressão na
área indicada na tampa com o polegar, e em seguida levante e retire-a
do aparelho.
2. Antes de colocar as pilhas, verique a posição dos polos (+ e -), e então
instale combinando-as com os polos gravados dentro do compartimento.
Insira 2 pilhas de 1,5V, R3/UM4/“AAA” (incluso) no compartimento.
3. Volte a fechar o compartimento das pilhas.
Batteriebetrieb (Fernbedienung):
1. Ö󰀨nen Sie das Batteriefach, indem Sie mit Ihrem Daumen auf den
markierten Bereich der Abdeckung drücken und dann die Abdeckung
anheben und herausziehen.
2. Beachten Sie die Polarität (+ und -) der Batterien. Legen Sie 2 x 1,5V Batterien
des Typs R3/UM4/„AAA“ (inklusive) gemäß den Polaritätsmarkierungen im
Batteriefach ein.
3. Schließen Sie das Batteriefach wieder.
Battery operation (Remote control)
1. Remove the battery compartment door by applying thumb pressure to
area indicated on battery door and then lift the door out and o󰀨 the cabinet.
2. Before inserting the batteries, observe the polarities (+ and -) of the
battery, then relate the polarities to the engraved diagram inside the
battery compartment, insert 2x1.5V, R3/UM4/“AAA” battery (included) into
the compartment.
3. Replace the compartment door.
INFORMATION DE SÉCURITÉ
SAFETY INFORMATION
INSTRUÇÕES DE SEGURANÇA
ATTENTION: Pour réduire le risque de choc
électrique, ne démontez pas l’appareil. Celui-ci ne
contient aucune pièce réparable par l’utilisateur.
Conez toute réparation à du personnel qualié.
CAUTION: To reduce the risk of electric shock, do
not open the device, there is no party inside for the
user. Refer all servicing to qualied personnel.
ATENÇÃO: Para reduzir o risco de choque eléctrico,
não desmonte o aparelho. O aparelho não tem
nenhuma parte que possa ser reparada pelo utilizador.
Cone qualquer reparação a um técnico qualicado.
Ce symbole signale la présence de tensions dangereuses à
l’intérieur de l’appareil.
The lightning with the arrow symbol in the triangle is a warning sign
alerting the user to "dangerous voltage" inside the unit.
Este símbolo assinala a presença de tensões perigosas no interior
do aparelho.
Ce symbole rappelle que la documentation fournie avec l’appareil
contient d’importantes instructions.
The exclamation point in the triangle is a warning sign alerting the
user of important instructions accompanying the product.
Este símbolo recorda que a documentação fornecida com o
aparelho contém instruções importantes.
Si à l'avenir, vous deviez vous débarrasser de ce produit, sachez
que les produits électriques usagés ne doivent pas être jetés avec
les ordures ménagères. Des installations destinées au recyclage
existent. Vériez auprès de votre municipalité ou demandez à
votre revendeur des conseils. (Directive Déchets d'Equipements
Electriques et Electroniques)
If in the future, you need to get rid of this product, please note that
Waste electrical products should not be disposed of with household
waste. Recycling facilities exist. Check with your municipality or
ask your dealer for advice. (Directive for Waste Electrical and
Electronic Equipment)
Se no futuro pretender deitar fora este aparelho, note que os
aparelhos eléctricos não devem ser lançados nas lixeiras de
resíduos domésticos. Informe-se para conhecer o centro de
reciclagem mais próximo. Consulte as autoridades locais ou o seu
revendedor para mais detalhes (Directiva sobre os resíduos dos
equipamentos eléctricos e electrónicos).
Nota: O desenho e as especicações estão sujeitas a mudanças sem aviso
prévio.
REMOTE CONTROL
REMARQUES:
- Ne chargez jamais des piles non rechargeables. Ne chau󰀨ez pas les piles
et ne les démontez pas.
- N’exposez pas les piles à une chaleur excessive, comme les rayons du
soleil, le feu ou d’autres sources de chaleur similaires.
- En cas de non-utilisation prolongée de la télécommande, retirez les
piles an d’éviter tout dommage provoqué par une corrosion due à un
écoulement de celles-ci.
- Veillez au respect de l’environnement lorsque vous vous débarrassez des
piles usagées.
- Pour des performances optimales, des piles de type Alcaline sont
recommandées. Ces piles doivent- être remplacées tous les 6 mois.
ATTENTION:
Danger d'explosion si les piles ne sont pas remplacées correctement.
Remplacez-les uniquement par des piles identiques ou de type équivalent.
OBSERVAÇÕES:
- Nunca carregue pilhas não recarregáveis. Não aqueça as pilhas e não as
desmonte.
- No caso de não utilização prolongada do telecomando, retire a pilha de
modo a evitar quaisquer danos causados pela corrosão originada pelo
líquido vertido da referida pilha.
- Certique-se de que respeita o ambiente quando eliminar pilhas gastas.
- Não exponha as pilhas a calor excessivo, como raios do sol, fogo ou outras
fontes de calor semelhantes.
- Recomenda-se a utilização de pilhas alcalinas. Para um funcionamento
óptimo, recomenda-se a substituição das pilhas todos os 6 meses.
ATENÇÃO: Risco de explosão se a pilha não for inserida correctamente.
Substitua-a apenas por uma pilha idêntica ou de tipo equivalente.
HINWEISE:
- Nicht Wiederauadbare-Batterien dürfen nicht nochmals geladen werden.
Erhitzen Sie die Batterien nicht und demontieren Sie sie nicht.
- Entsorgen Sie leere Batterien umweltgerecht.
- Batterien dürfen keiner übermäßigen Hitze ausgesetzt werden (wie zum
Beispiel praller Sonne, Feuer oder anderen ähnlichen Hitzequellen).
- Wenn Sie die Fernbedienung während längerer Zeit nicht verwenden,
entfernen Sie ihre Batterie, um Schäden durch Ausießen der Batterie zu
vermeiden.
- Wir empfehlen den Gebrauch alkalischer Batterien. Damit das Gerät
optimal funktioniert, sollten Sie diese Batterien alle 6 Monate ersetzen.
ACHTUNG: Wenn die Batterie nicht richtig eingelegt wird, besteht die
Gefahr, dass die Batterie explodiert. Ersetzen Sie eine leere Batterie nur mit
einer identischen oder gleichwertigen Batterie.
Notes on batteries
- Never recharge the batteries, apply heat to them or take them apart.
- Battery shall not be exposed to excessive heat such as sunshine, re or
the like.
- Attention should be drawn to the environmental aspects of battery disposal.
- If the remote control is not going to be used for a long time, remove the
battery to avoid damage caused by battery leakage corrosion.
- For optimal performance, alkaline batteries are recommended. These
batteries must be replaced every six months.
CAUTION:
Danger of explosion if battery is incorrectly replaced. Replace only with the
same or equivalent type.
ATTENTION !
- La plaque signalétique se trouve à l’arrière de cet appareil.
- Veiller à avoir une distance minimale de 5 cm autour de l'appareil pour une
aération su󰀩sante et que la ventilation ne soit pas gênée en recouvrant les
orices d'aération de l'appareil avec des objets tels que journaux, nappes,
rideaux.
- Ne placez pas de sources de ammes nues, telles que des bougies
allumées sur l'appareil.
- Ne pas exposer l'appareil à des gouttes d'eau ou éclaboussures.
- Ne placez pas d'objets remplis de liquides, tels que verre, vase ou objets
similaires sur l'appareil.
- N’utilisez cet appareil que sous des climats temperes.
- Ne pas jeter les piles dans le feu! Respectez l'environnement lors de la
disposition des piles usagées.
- Les piles ne doivent pas être exposées à une chaleur excessive comme le
soleil, le feu ou autre source de chaleur similaire.
- La che du cordon d'alimentation est utilisée comme dispositif de
débranchement et doit rester facilement accessible. Pour être totalement
déconnecté, cette che doit être débranchée du réseau complètement. La
prise de courant ne doit pas être obstruée et doit être facilement accessible
lors de son utilisation.
- Le fonctionnement normal du produit peut être perturbé par de fortes
interférences électromagnétiques. Si tel est le cas, il su󰀩t de réinitialiser le
produit pour qu'il reprenne son fonctionnement normal en suivant le manuel
d'instructions. Si le fonctionnement ne revient toujours pas à la normale,
veuillez déplacer et utiliser le produit dans un endroit o󰀨rant une meilleure
réception.
IMPORTANT!
- The Marking plate is located at the back of the device
- Make sure to have a minimum distance of 5 cm around the unit for su󰀩cient
ventilation.
- Ensure that the ventilation openings are not covered with items such as
newspapers, tablecloths, curtains, etc.
- Do not place naked ame sources, such as lighted candles on the
apparatus.
- Do not expose this appliance to dripping or splashing water.
- Do not place objects lled with liquids, such as glass, vase on the device.
- Use the apparatus only in moderate climates.
- Do not throw batteries into re! Respect the environment when disposing
of used batteries.
- Batteries should not be exposed to excessive heat such as sunshine, re
or other similar heat source.
- AC adaptor is used as the disconnect device. It shall remain readily operable
and should not be obstructed during intended use. To be completely
disconnected the apparatus from supply mains, the AC adaptor of the
apparatus shall be disconnected from the mains socket outlet completely.
- The normal function of the product may be disturbed by strong Electro-
Magnetic Interference. If so, simply reset the product to resume normal
operation by following the instruction manual. In case the function could not
resume, please use the product in other location.
ATENÇÃO
- A placa de características situa-se na parte de trás deste aparelho.
- Preveja um espaço mínimo de 5 cm à volta do aparelho para assegurar uma
ventilação suciente.
- Certique-se de que não tapa os orifícios de ventilação.
- Não coloque velas sobre ou na proximidade do aparelho.
- Certique-se de que não expõe o aparelho à chuva ou à humidade.
- Não coloque qualquer recipiente com líquido, como uma jarra, sobre ou na
proximidade do aparelho.
- Utilize este aparelho apenas em climas temperados.
- Não deite as pilhas no fogo! Respeite o meio ambiente quando for jogar fora
pilhas usadas.
- Não exponha as pilhas a um calor excessivo, como raios solares, fogo ou
outras fontes de calor semelhantes.
- O adaptador de corrente permite desligar o aparelho. Deve ser mantido
facilmente acessível durante a utilização. Para cortar completamente a
alimentação do aparelho, desligue efectivamente o adaptador da tomada de
corrente.
- A função normal do produto pode ser interrompida por fortes interferências
eletromagnéticas. Nesse caso, basta reiniciar o produto para retomar a
operação normal seguindo o manual de instruções. Caso a função não possa.
MAIN UNIT
Nos emballages peuvent faire l’objet d’une consigne de tri, pour
en savoir plus: www.quefairedemesdechets.fr
Les caractéristiques et les spécifications sont sujettes à modification
sans préavis.
NEW ONE S.A.S
10, Rue de la Mission, 25480 Ecole Valentin, France
NEW ONE S.A.S
10, Rue de la Mission, 25480 Ecole Valentin, France
NEW ONE S.A.S
10, Rue de la Mission, 25480 Ecole Valentin, France
BARRE DE SON AVEC FONCTION BLUETOOTH
CAIXAS DE SOM PARA TV COM BLUETOOTH
TV-LAUTSPRECHER MIT BLUETOOTH
TV SPEAKER WITH BLUETOOTH
FR
PT
DE
GB
FR
Manuel de l’utilisateur
GB
User Manual
PT
Manual do Utilizador
Benutzerhandbuch
DE
ES
Manual de instrucciones
Manuale
IT
NL
Handleiding
FR
Lire attentivement les instructions avant de faire
fonctionner l’appareil.
GB
Read the instructions carefully before operating the
unit.
PT
Leia este manual com atenção antes de qualquer
utilização.
Bitte lesen sie dieses handbuch vor dem gebrauch des
gerätes sorgfältig durch.
DE
ES
Antes de utilizar este aparato, lea atentamente las
siguientes instrucciones
Leggete attentamente il manuale prima dell’uso.
IT
NL
Lees deze handleiding aandachtig voor u het toestel
gebruikt.
SB-5048 IB MUSE 001 REV1.indd 1 2020/3/10 17:08:43

Related product manuals