EasyManua.ls Logo

NAD C660 - Identification of Controls; Front Panel Layout and Functions

NAD C660
74 pages
Print Icon
To Next Page IconTo Next Page
To Next Page IconTo Next Page
To Previous Page IconTo Previous Page
To Previous Page IconTo Previous Page
Loading...
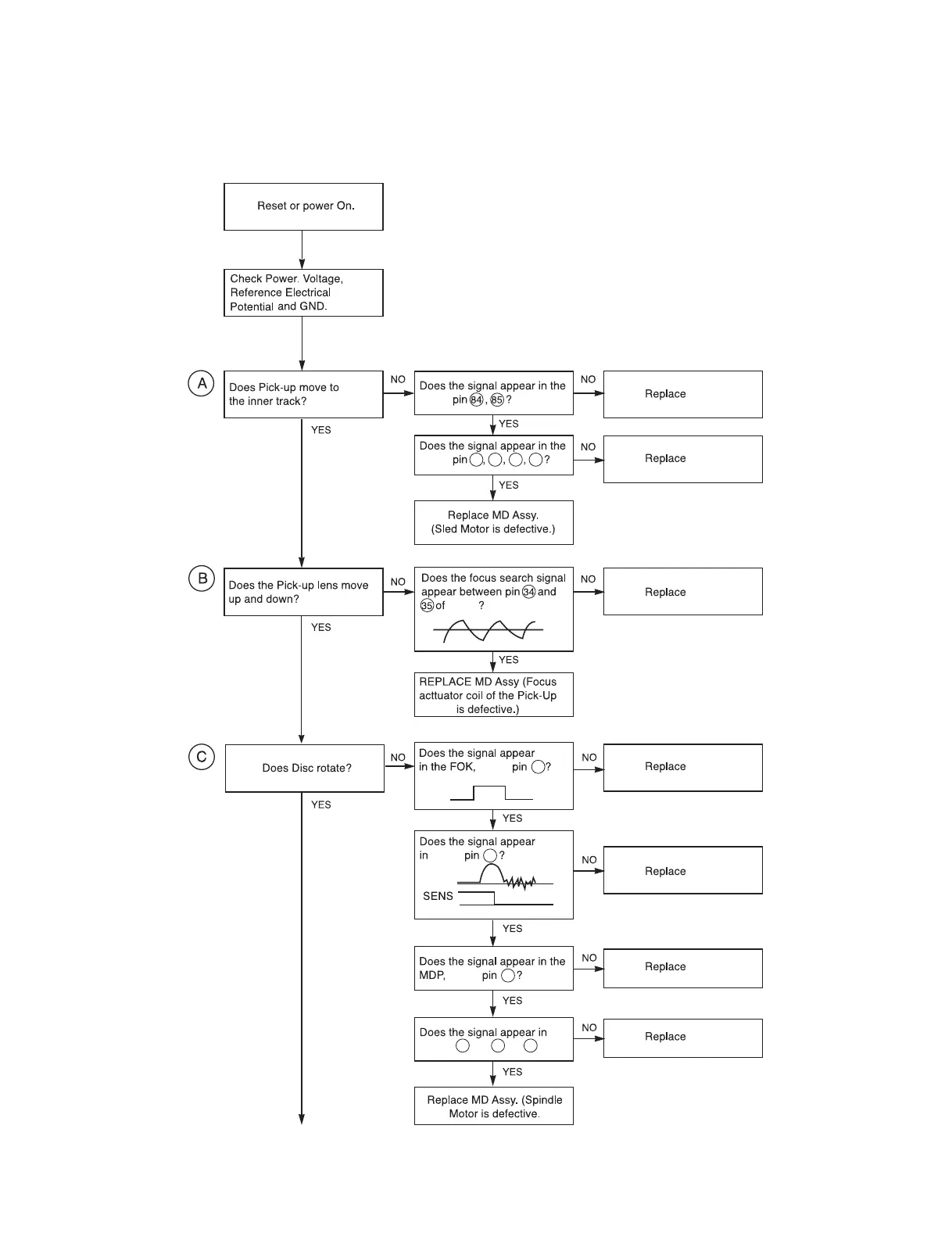
3. Troubleshooting Guide (In the Initial Lead-in Operation Mode)
-7-
IC503
IC503
IC505
IC505
IC505
IC502
IC502
IC505
5
6 9 10
IC502
IC502
IC505 12 W 13 V 13 U?
IC502
IC502
IC505
FAO
56
4
12

Other manuals for NAD C660

Related product manuals