EasyManua.ls Logo

NEC ipasolink 400 - Page 12

NEC ipasolink 400
186 pages
Print Icon
To Next Page IconTo Next Page
To Next Page IconTo Next Page
To Previous Page IconTo Previous Page
To Previous Page IconTo Previous Page
Loading...
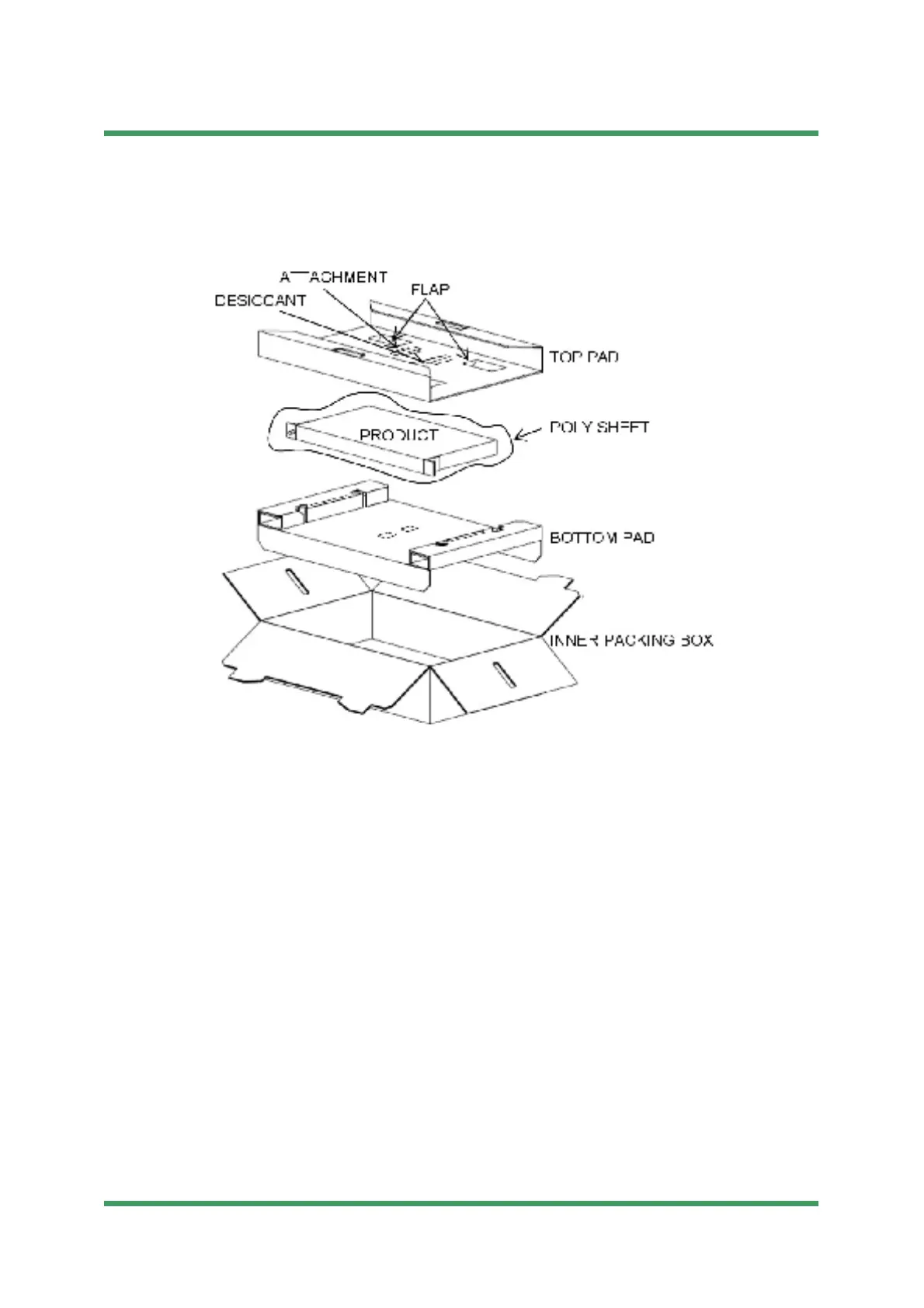
/). # .%
:B1"%% )(+ )"$&2 6NRSCLLCSJ ON
.6@: DJI I=: 68 8:HHDG>:H # / LG6EE:9 >C I=: ED AN H=::I 6C 9 8 JH=>D C >C <
B6I:G>6AH E69H
.6@: D JI I=: # / ;GDB I=: ED AN H=::I
#CHE:8 I I=: # /

Other manuals for NEC ipasolink 400

Related product manuals