EasyManua.ls Logo

NewTek NT-65P07 - Page 24

NewTek NT-65P07
Print Icon
To Next Page IconTo Next Page
To Next Page IconTo Next Page
To Previous Page IconTo Previous Page
To Previous Page IconTo Previous Page
Loading...
23
процесі аяқталғаннан кейін жылыту операциясы
қалпына келтіріледі.
БАСҚАРУ ТӘРТІБІ
- Кондиционерді электрмен қоректендіру желісіне
қосқаннан кейін кондиционерді қосу үшін батыр-
масын басыңыз .
- ЕЖИМ" (MODE) батырмасының көмегімен
салқындату немесе жылыту режимін таңдаңыз.
- "+" және "-" батырмаларымен берілген темпе-
ратураның мәнін 16-32 °C аралығында орнатыңыз.
- AUTO режимінде температура мәні автоматты түрде
орнатылады және қашықтан басқару пультінен
орнатылмайды.
- ЫЛДАМДЫҚ" (SPEED) батырмасы арқылы
желдеткіштің қажетті режимін орнатыңыз:
AUTO; HIGH (жоғары жылдамдық); MID (орташа
жылдамдық); LOW (төмен жылдамдық).
- Батырма көмегімен жалюзиді дұрыстап
орнатыңыз. "ҰЙҚЫ" (SLEEP), "ТАЙМЕР" (TIME), "ТУР-
БО" (TURBO), "ДИСПЛЕЙ" (DISPLAY) функцияларын
қосу үшін тиісті батырмаларды басыңыз.
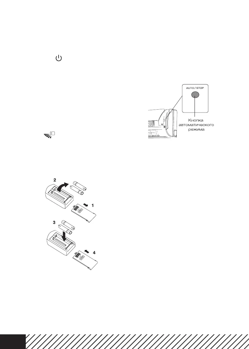
БАСҚАРУ ПУЛЬТІНДЕГІ БАТАРЕЯЛАРДЫ АУЫСТЫРУ
- ҚБ пультінің артқы жағындағы арнайы тетігін ба-
сып, қақпағын ысырыңыз.
- AAA типті екі сілтілі батареяны салыңыз, олардың
көрсетілген бағытқа сәйкес салынғанына көз
жеткізіңіз.
- Аспапты қосу/өшіру батырмасын басыңыз.
Ескертпе:
- Егер ҚБ пультінің СК-дисплейі жанбаса немесе
ҚБ пультін кондиционердің параметрлерін өзгерту
үшін пайдалану мүмкін болмаса, батареяларды
ауыстырыңыз.
- Жаңа AAA батареяларын қолданыңыз.
- Егер сіз ҚБ пультін бір айдан артық
пайдаланбасаңыз, батареяларын алып тастаңыз.
КОНДИЦИОНЕРДІ ҚБ ПУЛТІНСІЗ БАСҚАРУ
ҚБ пультін жоғалтсаңыз немесе ол ақаулы болса,
келесі қадамдарды орындаңыз:
1. Кондиционер жұмыс істемей тұрса. Егер сіз
кондиционерді іске қосқыңыз келсе, ішкі
блоктағы авариялық қуат батырмасын басыңыз
(оған дейін алдыңғы панельді ақырын көтеріңіз).
2. Егер кондиционер жұмыс істеп тұрса. Егер сіз
кондиционерді өшіргіңіз келсе, ішкі блоктағы
авариялық қуат батырмасын басыңыз.
Ескертпе: батырмаларды ұзақ уақыт басып
тұрмаңыз, бұл кондиционердің істен шығуына әкелуі
мүмкін.
5. АСПАПҚА ТЕХНИКАЛЫҚ ҚЫЗМЕТ КӨРСЕТУ ЖӘНЕ
ОНЫ КҮТУ
Аспапқа қызмет көрсетер алдында, оны электр
желісінен ажыратыңыз.
ІШКІ БЛОКТЫҢ АЛДЫҢҒЫ ПАНЕЛІНЕ КҮТІМ ЖАСАУ
Аспапты мұқият күту және уақтылы тазалау оның
қолданылу мерзімін ұзартады және электр энерги-
ясын үнемдейді.
Тазалау кезінде төмендегідей ұсыным дарды
ұстаныңыз:

Related product manuals