EasyManua.ls Logo

Nissan LEAF - Page 79

Nissan LEAF
402 pages
Print Icon
To Next Page IconTo Next Page
To Next Page IconTo Next Page
To Previous Page IconTo Previous Page
To Previous Page IconTo Previous Page
Loading...
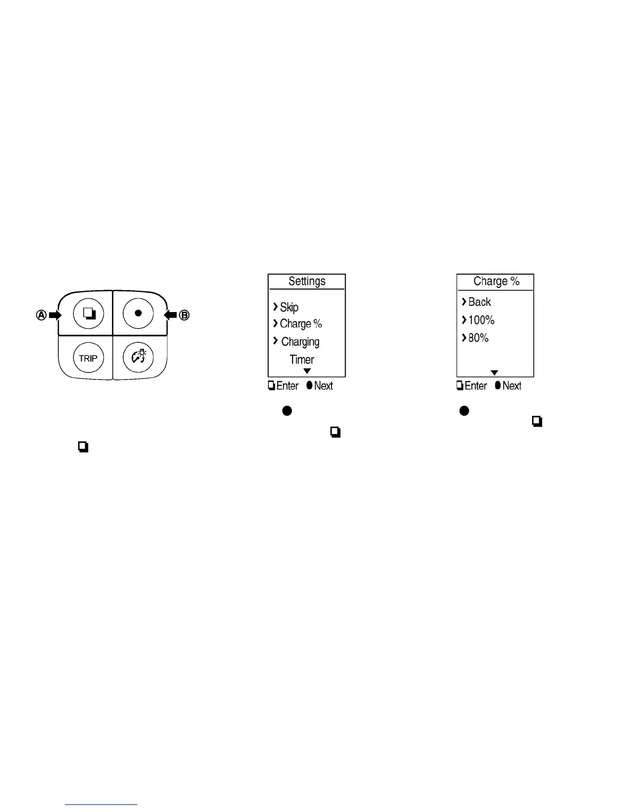
How to set the long life mode (models
without navigation system)
1. Push the switch
A
on the left side of
the combination meter panel.
2. Push the
switch
B
to highlight
“Charge %” on the dot matrix liquid crystal
display and then push the
switch.
3. Use the
switch to highlight “80%” or
“100%” and then push the
switch to
finalize the selection.
CH-30 Charging

Other manuals for Nissan LEAF

Related product manuals