EasyManua.ls Logo

OkiOki Mid-Century Bed - Page 12

OkiOki Mid-Century Bed
28 pages
Print Icon
To Next Page IconTo Next Page
To Next Page IconTo Next Page
To Previous Page IconTo Previous Page
To Previous Page IconTo Previous Page
Loading...
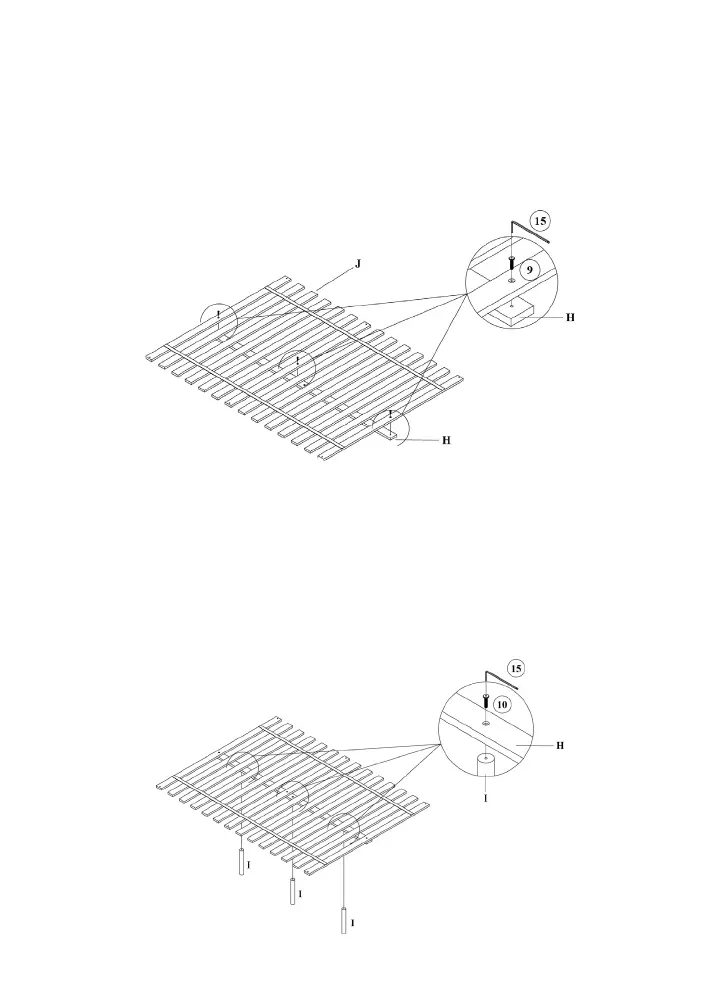
Step 8
Attach the Slat Frame (J) into the Second Support Bar (H) by using
Bolts (9) and Allen Key (15) as shown above.
Do not fully tighten the Bolts
Step 9
With the help of your adult partner, attach the Second Support Leg
(I) into the assemble in step 8 by using Bolts (10) and Allen Key (15)
as shown above.
Do not fully tighten the Bolts
11