EasyManua.ls Logo

Olympus OM-1 - Page 33

Olympus OM-1
49 pages
Print Icon
To Next Page IconTo Next Page
To Next Page IconTo Next Page
To Previous Page IconTo Previous Page
To Previous Page IconTo Previous Page
Loading...
E-32
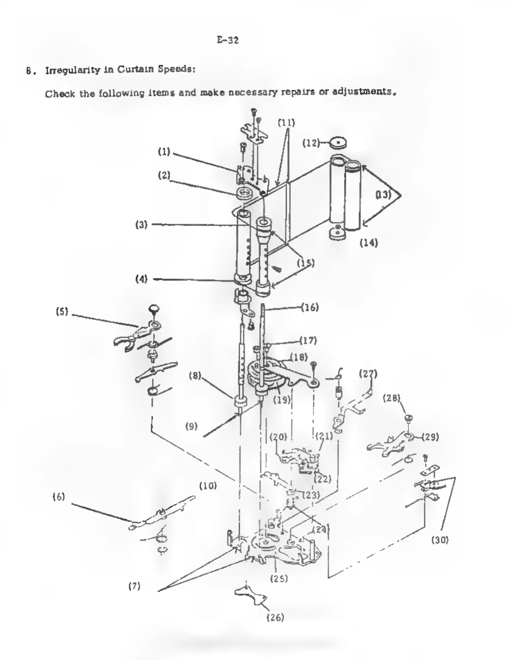
Irregularity
in
Curtain
Speeds:
8.
Check
the
following
items
and
make
necessary
repairs
or
adjustments,
(26)

Other manuals for Olympus OM-1

Related product manuals