EasyManua.ls Logo

Olympus VH-410 - Page 34

Olympus VH-410
71 pages
To Next Page IconTo Next Page
To Next Page IconTo Next Page
To Previous Page IconTo Previous Page
To Previous Page IconTo Previous Page
Loading...
34
EN
Playing back images on a TV
Playing back images on a TV
d
d
[NTSC/PAL]
[NTSC/PAL]
The TV video signal system varies depending on the countries and regions. Before viewing camera images on your
TV, select the video output according to your TV’s video signal type.
Submenu 2 Submenu 3 Application
NTSC/PAL
NTSC
Connecting the camera to a TV in North America, Taiwan, Korea, Japan,
and so on.
PAL Connecting the camera to a TV in European countries, China, and so on.
The factory default settings differ according to the region where the camera is sold.
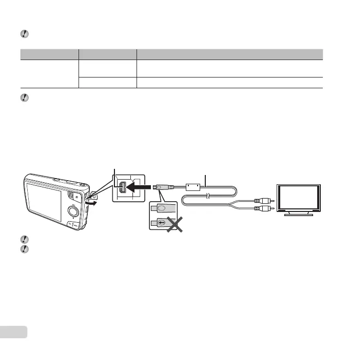
To play back camera images on a TV
To play back camera images on a TV
Connection via AV cable
1 Use the camera to select the same video signal system as the one of connected TV ([NTSC]/[PAL]).
2 Connect the TV and camera.
3 Turn on the TV, and change “INPUT” to “VIDEO (an input jack connected to the camera)”.
4 Turn on the camera, and use FGHI to select the image for playback.
Connect to the TV video input
jack (yellow) and audio input
jack (white).
Multi-connector
AV cable
(sold separately: CB-AVC5)
For details on changing the input source of the TV, refer to the TV’s instruction manual.
Depending on the TV’s settings, the displayed images and information may become cropped.

Other manuals for Olympus VH-410

Related product manuals