EasyManua.ls Logo

Omnimount ECHO 50LE - Page 14

Omnimount ECHO 50LE
20 pages
Print Icon
To Next Page IconTo Next Page
To Next Page IconTo Next Page
To Previous Page IconTo Previous Page
To Previous Page IconTo Previous Page
Loading...
P14
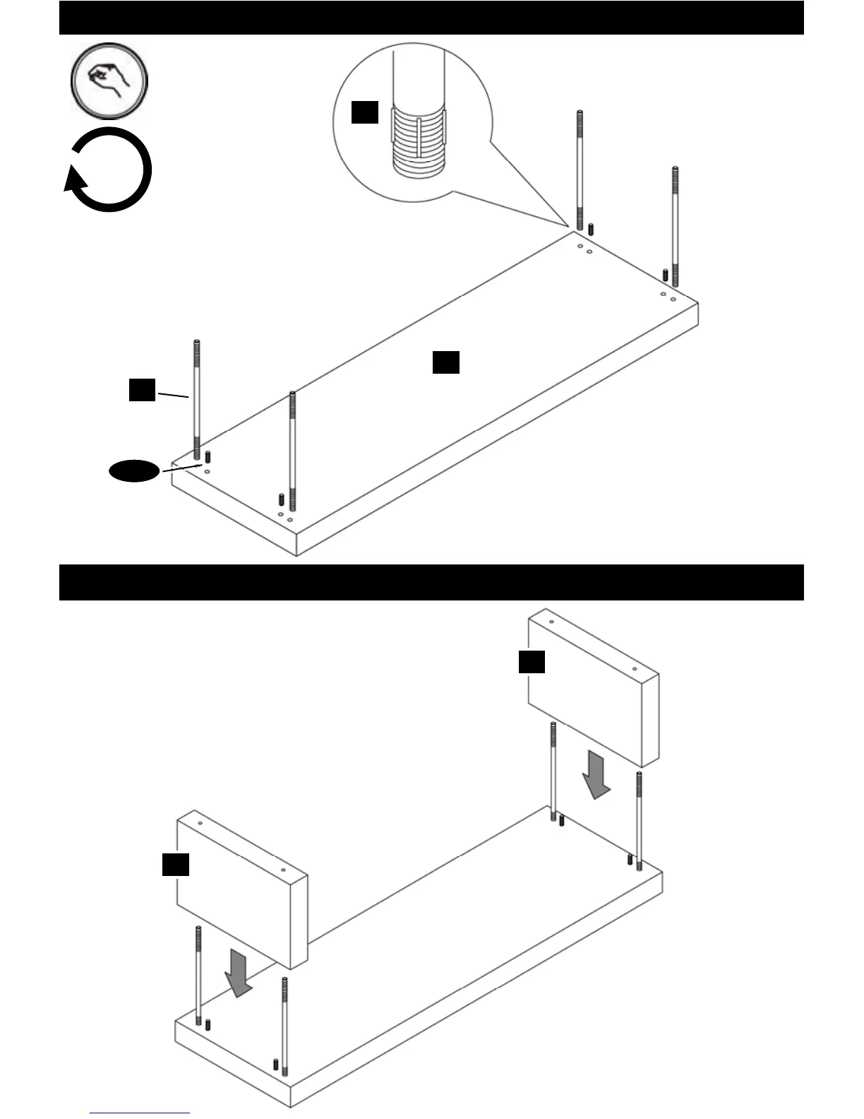
STEP 1
x4
STEP 2
1
3
3
5
P-C
5

Related product manuals