EasyManua.ls Logo

Omron K3TX - Page 42

Omron K3TX
77 pages
Print Icon
To Next Page IconTo Next Page
To Next Page IconTo Next Page
To Previous Page IconTo Previous Page
To Previous Page IconTo Previous Page
Loading...

 &RPSDUDWLYH RSHUDQGV IRU WKH .7& DUH DV IROORZV




¤
¤
¤
¤
&RPSDUDWLYH VHW YDOXH GDWD IRU 287
&RPSDUDWLYH VHW YDOXH GDWD IRU 287
&RPSDUDWLYH VHW YDOXH GDWD IRU 287
&RPSDUDWLYH VHW YDOXH GDWD IRU 287
23 23
2SHUDQG

¤
&RPSDUDWLYH VHW YDOXH GDWD IRU 287
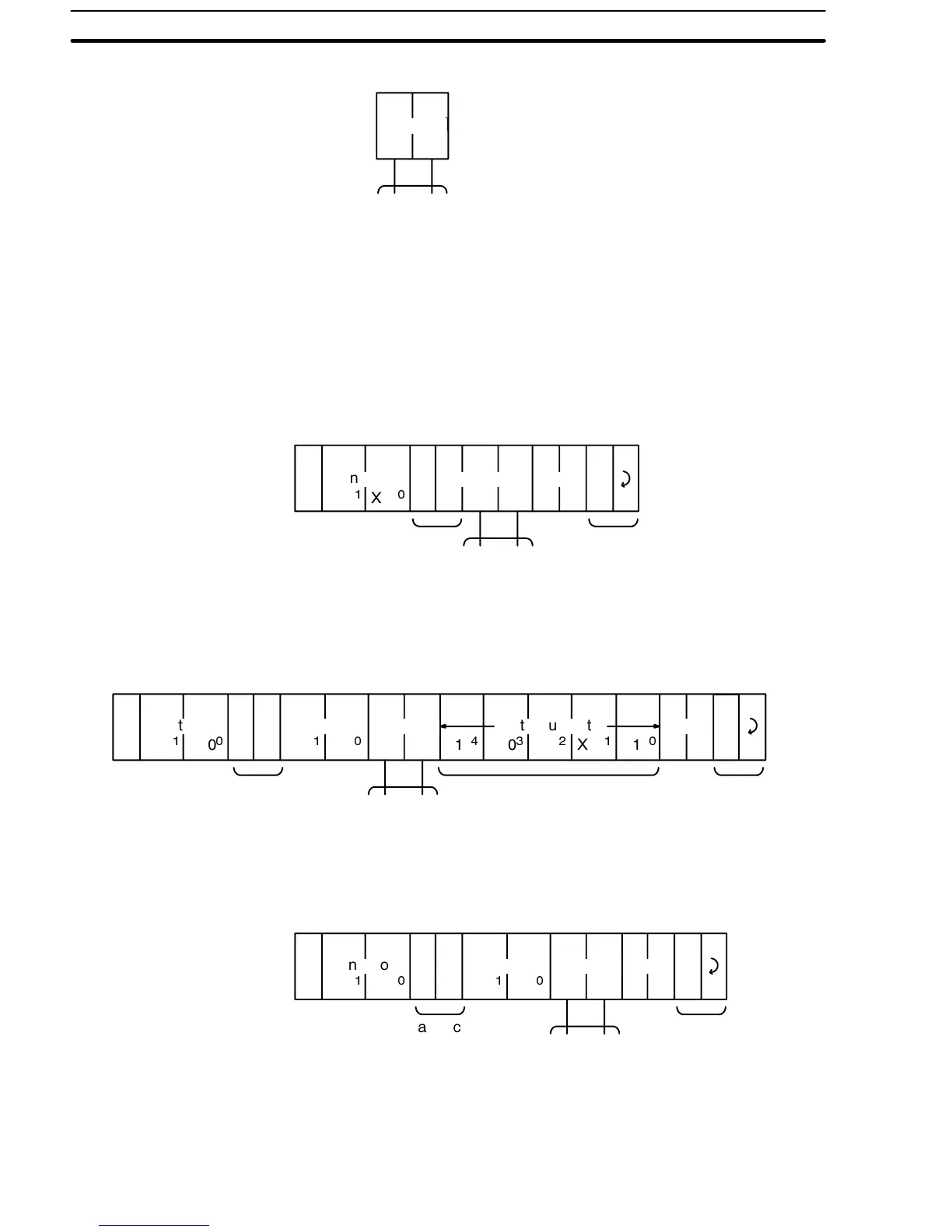
 6HW 9DOXH 5HDG &RPPXQLFDWLRQ&RPSDUDWLYH 2XWSXW
7KLV VHW YDOXH UHDG LV HIIHFWLYH RQO\ LQ VSHFLDO PRGHOV ZLWK FRPPXQLFDWLRQ DQG
FRPSDUDWLYH RXWSXW 7KH VHW YDOXHV ++ + / DQG // DUH UHDG LQGLYLGXDOO\
&RPPDQG )RUPDW
)&65#
7HUPLQDWRU
++
+ 63
/ 63
//
¤
¤
¤
¤
++ VHW YDOXH
+ VHW YDOXH
/ VHW YDOXH
// VHW YDOXH
2323;
;
8QLW 1R 2SHUDQG
+HDGHU
FRGH
5HVSRQVH )RUPDW 5HVSRQVH DW QRUPDO HQG (QG FRGH ´µ
)&65#
7HUPLQDWRU
++
+ 63
/ 63
//
¤
¤
¤
¤
++ VHW YDOXH GDWD
+ VHW YDOXH GDWD
/ VHW YDOXH GDWD
// VHW YDOXH GDWD
;
;
8QLW 1R
23 23;
;
;
;
;
;
;
6HW YDOXH GDWD
+HDGHU FRGH 6HW YDOXH GDWD
2SHUDQG(QG FRGH
5HVSRQVH IRUPDW ZKHQ DQ HUURU RFFXUV
)&65#
7HUPLQDWRU
++
+ 63
/ 63
//
23 23;
;
;
;
8QLW 1R
+HDGHU FRGH
2SHUDQG(QG FRGH
6HW 9DOXH 5HDG &RPPXQLFDWLRQ&RPSDUDWLYH 2XWSXW 6HFWLRQ 