EasyManua.ls Logo

Omron K3TX - Page 45

Omron K3TX
77 pages
Print Icon
To Next Page IconTo Next Page
To Next Page IconTo Next Page
To Previous Page IconTo Previous Page
To Previous Page IconTo Previous Page
Loading...

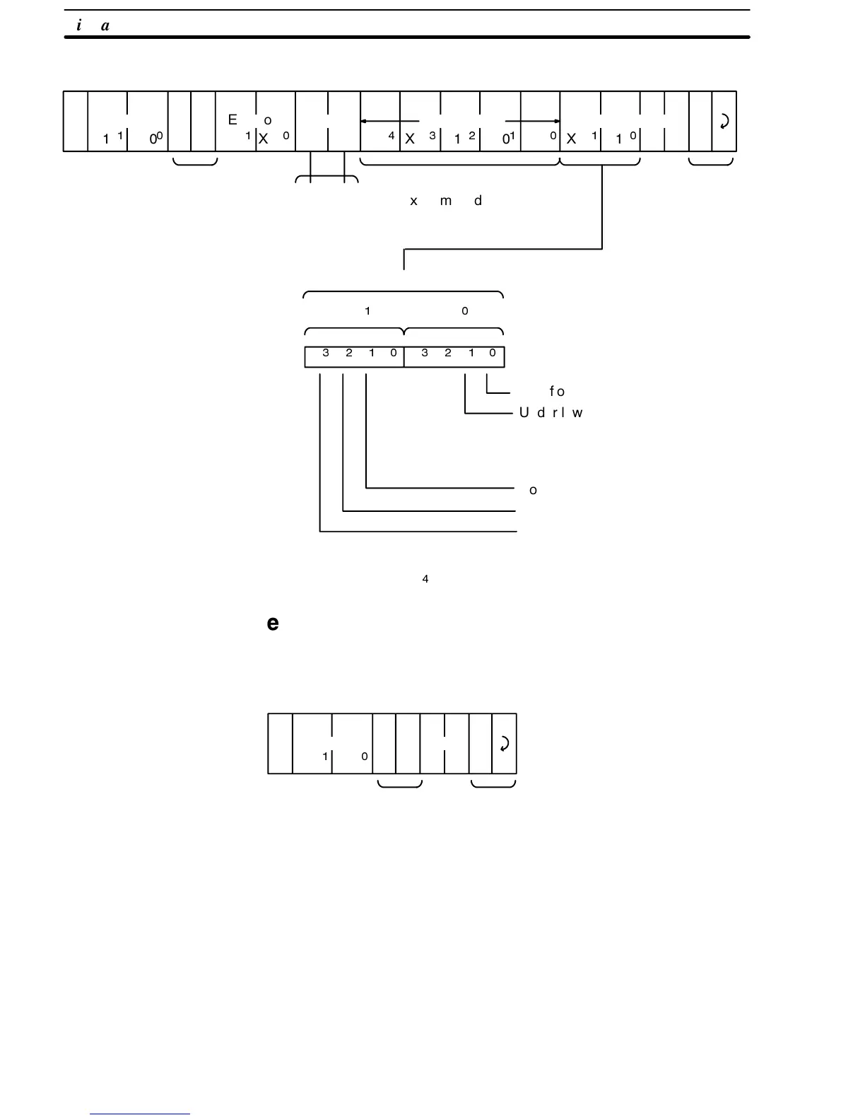
5HVSRQVH )RUPDW 5HVSRQVH DW QRUPDO HQG (QG FRGH ´µ
)&65+#
7HUPLQDWRU
3+
%+
¤
¤
23 23;
;
;
;
;
;
;
;
;
;
;
0D[LPXP KROG YDOXH
0LQLPXP KROG YDOXH
2YHUIORZ
8QGHUIORZ
+ROG LQSXW QRZ 21
%DQN LQSXW $
%DQN LQSXW %
;
;
8QLW 1R +ROG GDWD(QG FRGH 2SHUDQG 6WDWXV GDWD
+ROG GDWD+HDGHU FRGH
6WDWXV GDWD
+ROG GDWD LV H[SUHVVHG LQ ILYH ILJXUHV RI $6&,, 1HJDWLYH YDOXH LV LQGLFDWHG E\ ´)µ
DW WKH SRVLWLRQ RI WKH ;
GLJLW
 'LVSOD\ 9DOXH 39 9DOXH 5HDG
5HDGV GLVSOD\ YDOXH 39 YDOXH
&RPPDQG )RUPDW
)&65;#
7HUPLQDWRU
;
;
8QLW 1R
+HDGHU FRGH
'LVSOD\ 9DOXH 39 9DOXH 5HDG 6HFWLRQ 