EasyManua.ls Logo

Omron K3TX - Page 67

Omron K3TX
77 pages
Print Icon
To Next Page IconTo Next Page
To Next Page IconTo Next Page
To Previous Page IconTo Previous Page
To Previous Page IconTo Previous Page
Loading...

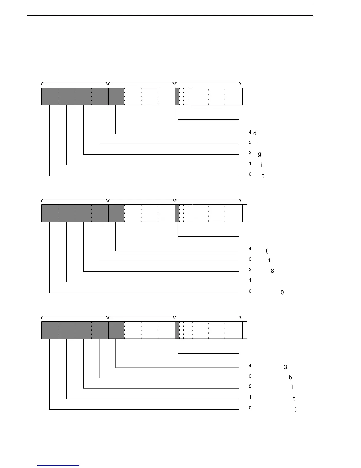
 '0 'DWD 0HPRU\ $UHD
5HDG GDWD LV VWRUHG LQ WKH PHPRU\ EHORZ
3RODULW\  ELW

GLJLW  ï  ELW

GLJLW  ï  ELW

GLJLW  ï ELW

GLJLW  ï  ELW

GLJLW  ï  ELW
:RUG  :RUG  :RUG 
,63$ GDWD
3RODULW\  ELW

GLJLW  ï  ELW

GLJLW  ï  ELW

GLJLW  ï ELW

GLJLW  ï  ELW

GLJLW  ï  ELW
:RUG  :RUG  :RUG 
,63% GDWD
3RODULW\  ELW

GLJLW  ï  ELW

GLJLW  ï  ELW

GLJLW  ï ELW

GLJLW  ï  ELW

GLJLW  ï  ELW
:RUG  :RUG  :RUG 
,63& GDWD
3URJUDP ([DPSOH  &RQQHFWLRQ WR D 3& 6HFWLRQ 