EasyManua.ls Logo

Omron V600-CH1D - Page 27

Omron V600-CH1D
68 pages
Print Icon
To Next Page IconTo Next Page
To Next Page IconTo Next Page
To Previous Page IconTo Previous Page
To Previous Page IconTo Previous Page
Loading...
6HFWLRQ'DWD &DUULHU

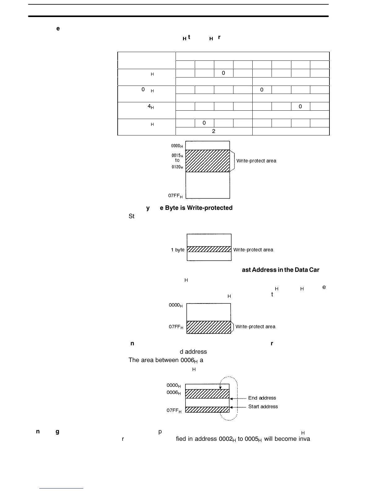
:KHQ $GGUHVVHV 
+
WR 
+
DUH :ULWHSURWHFWHG
6WDUW DGGUHVV (QG DGGUHVV
$GGUHVV
%LW

+
+

+
+

+
+

+
+
:ULWHSURWHFW DUHD
))
+
WR
:KHQ 2QO\ 2QH %\WH LV :ULWHSURWHFWHG
6WDUW DGGUHVV (QG DGGUHVV
7KH VDPH DGGUHVV LV VSHFLILHG IRU WKH VWDUW DQG HQG DGGUHVVHV
:ULWHSURWHFW DUHD
E\WH
:KHQ WKH (QG $GGUHVV LV *UHDWHU WKDQ WKH /DVW $GGUHVV LQ WKH 'DWD &DUULHU
(QG DGGUHVV ! ))
+
6LQFH WKH PHPRU\ DUHD LQ WKH 'DWD &DUULHU LV IURP 
+
WR ))
+
WKH DUHD
EHWZHHQ WKH VWDUW DGGUHVV DQG ))
+
LV ZULWHSURWHFWHG
:ULWHSURWHFW DUHD))
+

+
:KHQ WKH 6WDUW $GGUHVV LV *UHDWHU WKDQ WKH (QG $GGUHVV
6WDUW DGGUHVV ! (QG DGGUHVV
7KH DUHD EHWZHHQ 
+
DQG WKH HQG DGGUHVV DQG WKH DUHD EHWZHHQ WKH
VWDUW DGGUHVV DQG ))
+
DUH ZULWHSURWHFWHG
(QG DGGUHVV
6WDUW DGGUHVV
))
+

+

+
7R FDQFHO ZULWH SURWHFWLRQ VHW WKH PRVW VLJQLILFDQW ELW RI DGGUHVV 
+
WR  7KH
ZULWHSURWHFWLRQ VSHFLILHG LQ DGGUHVV 
+
WR 
+
ZLOO EHFRPH LQYDOLG $F
FRUGLQJO\ WKH ZULWH SURWHFWLRQ ZLOO EH FDQFHOOHG
:ULWHSURWHFW 6HWWLQJ
([DPSOHV .E\WH
0HPRU\ 'DWD &DUULHU
&DQFHOOLQJ :ULWH 3URWHFWLRQ