EasyManua.ls Logo

omthing AirFree - Product Diagram; Earbuds Diagram; Charging Case Diagram

omthing AirFree
7 pages
Print Icon
To Next Page IconTo Next Page
To Next Page IconTo Next Page
To Previous Page IconTo Previous Page
To Previous Page IconTo Previous Page
Loading...
omthing AirFree 真无线耳机 使用说明书
omthing AirFree True Wireless In-Ear
Headphones User Guide
使用产品前请详细阅读本说明书,并妥善保管。
面向年轻人的智能数码及周边产品
产品介绍
封面
封底
为耳机充电
将耳机放入充电盒,自动进入充电状态。
首次连接
首次开机显示同步进入 TWS 配对模式,TWS
组队完成后进入蓝牙搜索配对模式(本机蓝牙
名称:omthing AirFree),从耳 TWS 配对
成功后,白色指示灯 7 秒闪一次;主耳机白色
LED 每秒闪 2 次,持续时间 5 分钟;5 分钟内
未进行任何连接和操作,双耳机关机,LED
关闭(入盒后重新开盖可开机)。
断开蓝牙连接
从手机端断开与耳机的蓝牙连接。两只耳机在
TWS 连接状态,耳机进入回连状态。五分钟
内未连接,两只耳机自动关机,需放入充电盒
再次取出即可开机。
强制复位
耳机放入充电盒中(开盖状态)30秒,则能强
制复位。
产品名称:omthing AirFree 真无线耳机
产品型号:EO002BT
产品净重:43 g
充电端口:Type-C
喇叭阻抗:16 Ω
输入参数:5V 1A
输出参数:5V 150mA
无线连接:蓝牙 5.0
蓝牙协议:BLE / HSP / HFP / A2DP / AVRCP
支持编解码器:AAC / SBC
工作距离:10 米(空旷无障碍环境)
充电时间:约 1.5 小时
充电盒容量:550mAh
耳机单次续航:3.5-4 小时
配合充电盒整体续航:约 20 小时
清除连接记录(只能在 TWS 模式下)
TWS 模式下,左 / 右耳机 Touch 长按 7 秒,
白色 LED 5 秒后进入配对状态,清除连接
记录。
开盖回连功能
打开盒盖,出盒耳机白色指示灯亮 1 秒后,先
回连 TWS,然后回连最后一次蓝牙连接。
设备有连接记录,进入强制配对
同时长按左右耳机 Touch 7 秒进入强制配对
态,耳机白色 LED 1 秒闪 2 次,持续 5 钟直
至成功连接后熄灭,5 分钟内未进行任何连接
和操作,耳机休眠,LED 关闭
查看耳机电量
耳机连接手机后,可在手机状态栏查看耳机电
量。
充电盒及耳机充电
1. 充电时充电盒 LED 红灯常亮,充满电时灯
熄灭。
2. 耳机放入充电盒时充电盒 LED 不显示,耳
LED 蓝灯亮。
注意:手机状态栏仅显示两支耳机中电量较低的
耳机电量,部分手机不支持
为充电盒充电
充电时充电盒白色指示灯长亮,充电完成白色
指示灯熄灭。
充电
查看电量
使用
為耳機充電
將耳機放入充電盒,自動進入充電狀態。
充電
Charge the Earbuds
Put the earbuds into the charging case and charging
will start automatically.
Charge the Charging Case
Connect the charging case to a power source
and charging will start automatically. The LED
indicator will stay solid white when charging and
turn off once fully charged.
Recharging the Charging Case while Charging
the Earbuds.
1. The LED indicator of the charging case will stay
solid red when charging and turn off when
fully charged.
2. When place the earbuds into the charging case,
the LED indicator of the case will not turn on
while those of the earbuds will stay solid blue.
Charge
Place the earbuds into the case and cover the
lid, the earbuds will disconnect with your device
and enter charging mode.
Standby Mode
Take the earbuds out of the case and wear them
properly as per the L and R indicators.
How to Wear
When battery is low the earbuds will turn off
automatically with the LED indicator glowing
solid white for 1s.
Auto-Off when Battery Low
Check the Battery Level of the Earbuds
Check the battery level of the earbuds from your
phone screen when successfully paired.
Check the Battery Level
使用
连接
按键功能介绍
基本参数
警告
环保支持
产品保修说明
非保修条例
查看耳機電量
耳機連接受機後,可在手機狀態欄查看耳機電
量。
充電盒及耳機充電量
1. 充電時充電盒 LED 紅燈常亮,充滿電時燈
熄滅。
2. 耳機放入充電盒時充電盒 LED 不顯示,耳
LED 藍燈亮。
注意:手機狀態僅顯示兩隻耳機中電量較低的耳
機電量,部分手機不支持。
為充電盒充電
充電時充電盒白色指示燈長亮,充電完成白色
指示燈熄滅。
查看電量
耳机放回充电盒,关闭盒盖,耳机自动断连并
进入待机状态。
待机
将耳机从充电盒取出,按照耳机左右标识进行
佩戴。
配对超时
当耳机进入蓝牙配对模式,5 分钟内未连接和
操作,耳机关机,LED 灯关闭(请入盒并重新
出盒开机)。
斷開藍牙連接
從手機端斷開與耳機的藍牙連接。兩隻耳機在
TWS 連接狀態,耳機進入回連狀態。五分鐘
內未連接,兩只耳機自動關機,需放入充電盒
再次取出即可開機。
清除鏈接記錄(只能在TWS模式下)
TWS 模式下,左 / 右耳机 Touch 长按 7 秒,
白色 LED 5 秒后进入配对状态,清除连接
记录。
開蓋回連功能
打出盒蓋,出盒耳機白色指示燈亮 1 秒後,先
回連 TWS,然後回連最後一次藍牙連接。
配對超時
当當耳機進入藍牙配對模式,5 分鐘內未連接
和操作,耳機關機,LED 燈關閉(請入盒並重
新出盒開機)。
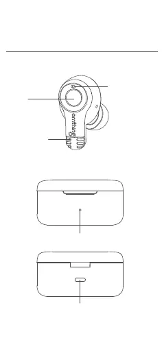
指示灯
说明书中的产品、配件、用户界面等插图均为示
意图,仅供参考。由于产品的更新与升级,产品
实物与示意图可能略有差异,请以实物为准。
充电接口
指示灯 / 麦克风
触摸部位
耳机
充电盒
麦克风
佩戴
双击左 / 右耳机 Touch (单耳模
式下双击耳机 Touch 可以实现
接听来电 / 结束通话功能)。
接听来电 / 结束来电
双击左 / 右耳机 Touch(单耳模
式下双击耳机 Touch 可以实现
接听第三方电话功能 );接通第
三方来电,当前通话退到后台保
持通话状态。
保持当前通话,接通第三方来电
双击 Touch
L:左耳机
R:右耳机
挂断当前通话,激活保持的通话
播放 / 暂停:双击右耳机 Touch
(单耳模式下双击耳机 Touch
以实现暂停/播放功能 )
唤醒语音助手:双击左耳机 Touch
音量及切换歌曲:本耳机暂不支
持,请在手机上完成操作。
双耳佩戴
当电量达到关机电压时,白色 LED 常亮 1 秒,
耳机自动关机。
提示:使用完,及时将耳机放回充电盒,以延长
使用寿命及防止丢失。
提示:由于蓝牙信号的连接特性,在 2.4 GHz
电磁信号干扰密集的地方,可能偶有间歇性断连
或无声的情况。
低电量关机
首次連接
首次開機顯示同步進入 TWS 配對模式,TWS
組隊完成後進入藍牙搜索配對模式(本機藍牙
名稱:omthing AirFree),從耳 TWS 配對
成功後,白色指示燈 7 秒閃一次;主耳機白色
LDE 每秒閃 2 次,持續時間 5 分鐘;5 分鐘內
為進行任何鏈接和操作,雙耳關機,LED 燈關
閉(入盒後重新開蓋可開機)。
設備有連接記錄,進入強制配對
同時長按左右耳機 Touch 7 秒進入強制配對狀
態,耳機白色 LED 1 秒閃 2 次,持續 5 分鐘
直至成功連接後熄滅,5 分鐘內未進行任何連
接和操作,耳機休眠,LED 關閉
連接
耳機放回充電盒,關閉盒蓋,耳機自動斷鏈並
進入充電狀態。
待機
將耳機從充電盒取出,按照耳機左右標識進行
佩戴。
佩戴
當電量達到關機電壓時,白色 LED 常亮 1 秒,
耳機自動關機。
提示:使用完請及時將耳機放回充電盒,以延長
耳機使用壽命及防止丟失。
低電量關機
使用產品前請仔細閱讀本說明書,並妥善保管。
產品介紹
指示燈
說明書中的產品、配件、用戶界面等插圖均為示
意圖,僅供參考。由於產品的更新與升級,產品
實物與示意圖可能略有差異,請以實物為準。
充電接口
指示燈 / 麥克風
觸摸部位
耳機
充電盒
麥克風
Please read this user manual carefully before using
the product and keep it safe for future reference.
Note: Only the battery level of the earbud with lower
power will be shown on your phone. Some phone
models do not support this function.
Note: Place the earbuds back into the case when
not in use to extend their service life and prevent
loss.
Note: Due to the characteristics of Bluetooth signal,
the connection may be unstable in the places with
intensive 2.4 GHz electromagnetic signal interference.
Product Diagram
How to Use
Initial Pairing
1. Uncover the case, the earbuds will turn on and
connect to each other automatically ( TWS mode ).
2. The earbuds are in pairing mode when LED
indicator on the Master ashes white twice
every second and that on the Slave ashes
once every 7 seconds.
3. Go to your device setting, enable the Bluetooth
function and nd "omthing AirFree" in the
Bluetooth connection list. Tap on the name to
connect.
4. The earbuds will turn off automatically if there
in no connection in 5 minutes.
Mandatory Pairing
Enter mandatory pairing:
1. Press and hold the Touch Control of both
earbuds for 7 seconds at the same time.
2. The LEDs ashes twice every second.
3. The earbuds will turn off automatically if there
is no connection within 5 minutes.
Pairing Timeout
1. When the earbuds are in paring mode, if there
is no operation or connection within 5 minutes,
they will turn off automatically.
2. Place them back into the case, cover the lid
and uncover the case to turn on again.
Clear Pairing Record (Only Available in TWS
Mode)
In TWS mode, press and hold the Touch Control
of both earbuds simultaneously for 7 seconds to
clear the pairing history. The white LED indicator
will glow for 5 seconds.
Restore to Factory Settings
Place the earbdus into the case, and uncover
the case for 30 seconds to restore the earbuds
into factory settings.
Auto Pairing
Take the earbuds out of the case, they will connect
with each other rst then try to reconnect with the
latest connected device automatically.
Pairing
Operations and Functions
Specications
Safety Caution
LED Indicator
Note: Above illustration is for reference only. The
real product may be slightly different due to product
updates.
Charging Port
LED Indicator /
Microphone
Touch
Control
Earbuds
Charging Case
Microphone
強制復位
耳機放入充電盒中(開蓋狀態)30秒,則能強
制復位。
按鍵功能介紹
雙擊左 / 右耳機 Touch (單耳模
式下雙擊耳機 Touch 可以實現
接聽來電功能 / 結束來電功能)。
接聽來電 / 結束來電
雙擊左 / 右耳機 Touch (單耳模
式下雙擊耳機 Touch 可以實現
接听第方电话功能),接通第三方
来電,當前通話退到後台保持通
話狀態。
保持當前通話,接通第三方來電
雙擊 Touch
L:左耳機
R:右耳機
掛斷當前通話,激活保持的通話
播放 / 暫停:雙擊右耳機 Touch
(單耳模式下雙擊耳機 Touch
以實現暫停 / 播放功能)
喚醒語音助手:雙擊左耳機 Touch
音量及切換歌曲:本耳機暫不支
持,請在手機完成操作。
雙耳佩戴
提示:由於藍牙信號的連接特征性,在2.4GHz的
電磁信號干擾密集的地方,可能偶有間歇性斷鏈
或無聲的情況。
產品名稱:omthing AirFree 真無線耳機
產品型號:EO002BT
產品淨重:43 g
充電端口:Type-C
喇叭抗組:16 Ω
輸入參數:5V 1A
輸出參數:5V 150mA
無線連接:藍牙 5.0
藍牙協議:BLE / HSP / HFP / A2DP / AVRCP
支持編解碼器:AAC / SBC
工作距離:10 米(空曠無障礙環境)
充電時間:約 1.5 小時
充電盒容量:550mAh
耳機單次續航:3.5-4 小時
配合充電盒整體續航:約 20 小時
基本參數
:表示该有毒有害物质至少在该部件的某一
均质材料中的含量超出 GB/T 26572 标准规定的
限量要求。
耳机外壳
电路板
及组件
电池
耳套
配件
充电线
部件名称
多溴二苯醚
(PBDE)
(Hg)
(Cd)
六价铬
(Cr(VI))
多溴联苯
(PBB)
有害有毒物质或元素
(Pb)
:表示该有毒有害物质在该部件所有均质材
料中的含量均在 GB/T 26572 即《电子信息产
品中有毒有害物质的限量要求》规定的限量要
求以下。
本表格依据 SJ/T 11364 的规定编制。
omthing AirFree 真无线耳机符合欧盟 RoHS2.0
(2011/65/EU) 环保标准。
環保支持
表示該有毒有害物質至少在該部件的某壹
均質材料中的含量超出 GB/T 26572 標準規定的
限量要求。
耳機外殼
電路板
及組件
電池
耳套
配件
充電線
部件名稱
多溴二苯醚
(PBDE)
(Hg)
(Cd)
六價鉻
(Cr(VI))
多溴聯苯
(PBB)
有害有毒物質或元素
(Pb)
:表示該有毒有害物質在該部件所有均質材
料中的含量均在 GB/T 26572 即《電子信息產
品中有毒有害物質的限量要求》規定的限量要
求以下。
本表格依據 SJ/T 11364 的規定編制。
omthing AirFree 真無線耳機符合歐盟 RoHS2.0
(2011/65/EU) 環保標準。
9. 耳机在未使用情况下,请将耳机放入充电盒
内,以免耳机丢失。
以下仅适用于中国大陆地区用户
omthing AirFree 真无线耳机产品售后服务严
格依据《中华人民共和国消费者权益保护法》、
《中华人民共和国产品质量法》实行售后三包
服务,服务内容如下:
1. 7 日无理由的退货(电商渠道),由用户承
担物流费用;
2. 本产品出现《产品性能故障表》所列性能故
障的情况,经 omthing 售后服务中心检测确
定后,可以免费享受如下服务。
产品性能故障表
名称
omthing AirFree
真无线耳机
性能故障
说明书所列功能失效
喇叭、麦克风无声
触摸部位功能失效
因结构或材料因素造成的主体破损
服务类型
退货
换货
维修
自签收次日起 7 天内产品质量原因退货
自签收次日起 15 天内产品质量原因换货
自签收次日起 1 年内产品质量原因维修
服务政策
1. 未经授权的维修、误用、碰撞、疏忽、滥用、
进液、事故、改动、不正确的使用非本产品
配件,或撕毁、涂改标贴、防伪标记;
2. 已超过三包有效期;
3. 因不可抗力造成的损坏;
4. 不符合《产品性能故障表》所列性能故障的
情况;
5. 因人为原因导致本产品及其配件产生《产品
性能故障表》所列性能故障。
更多服务可登录 omthing 官方网站
www.omthing.com 点击“服务”项或咨询客
服热线:400-992-0909
1. 请勿以任何理由拆除或维修改装产品,否则
可能会导致起火、电子击穿甚至彻底损坏本
产品;
2. 请勿将设备置于温度过低或过高 (-20℃ 以下
60℃ 以上)的环境中;产品正常工
温度范围是“0℃~45℃”。
3. 请勿在雷暴天气下使用该设备,雷暴可导致
设备工作不正常,并增加触电的危险;
4. 请勿用油及其它挥发性液体擦拭本产品;
5. 请勿连续长时间佩戴耳机(超过6小时),
尤其不要长时间开最大音量听耳机;
6. 请勿在骑车或开车的状态下佩戴耳机,因为
这种行为在某些国家属于违法行为;
7. 六岁以下儿童请在成人监护下使用耳机;
8. 如佩戴耳机后感到耳朵不适,建议咨询耳科
医生是否适合佩戴入耳式耳机。
警告
1. 請勿以任何理由拆除或維修改裝耳機,否則
可能會導致起火、電子擊穿甚至徹底損壞本
產品;
2. 請勿將設備置於溫度過低或過高(-20℃以
下或60℃以上)的環境中;產品正常工作溫
度範圍是“0℃~45℃”。
3. 請勿在雷暴天氣下使用該設備,雷暴可導致
設備工作不正常,並增加觸電的危險;
4. 請勿用油及其它揮發性液體擦拭本產品;
5. 請勿連續長時間佩戴耳機(超過6小時),
尤其不要長時間開最大音量聽耳機;
6. 請勿在騎車或開車的狀態下佩戴耳機,因為
這種行為在某些國家屬於違法行為;
7. 六歲以下兒童請在成人監護下使用耳機;
8. 如佩戴耳機後感到耳朵不適,建議咨詢耳科
醫生是否適合佩戴入耳式耳機。
9. 耳機在未使用情況下,請將耳機放入充電盒
內,以免耳機丟失。
Name: omthing AirFree True Wireless In-Ear
Headphones
Product Model: EO002BT
Net Weight: 43 g
Charging Port: Type-C
Speaker Impedance: 16 Ω
Input: 5V 1A
Output: 5V 150mA
Bluetooth Connection: Bluetooth 5.0
Bluetooth Protocol: BLE / HSP / HFP / A2DP / AVRCP
Codec Supported: AAC / SBC
Bluetooth Range: 10 m
(Open and unobstructed environment)
Charging Time: Approx. 1.5 h
Charging Case Capacity: 550mAh
Playtime on a Single Charge: 3.5-4 h
Total Playtime with Case: Approx. 20 h
1. Never disassemble the headphones. There
are no user-serviceable parts inside.
2. Do not expose the headphones to temperatures
below -4 °F (-20 °C) or to temperatures above
140 °F (60 °C).The product operation ambient
temperature is 0°C~45.
3. Do not use the headphones in a thunderstorm
storm. This could prevent the headphones
from working properly, and also increase your
chance of being electrically shocked.
4. Do not use oil or any volatile liquid to clean
this product.
5. Do not listen at high volumes for extended
periods of time.
6. Do not use the headphones while operating
a motor vehicle. Do not use the headphones
any time it would be dangerous to be unaware
of noises around you.
7. Adult supervision is required for children age
6 and under.
8. Batteries must be used with caution.
Do not attempt to disassemble the battery
yourself. Never use a battery or charger that
has been damaged. Keep batteries away from
electronic objects As a general rule, you should
not expose the batteries to very low or very high
temperatures (below 0°C or above 45°C).It is
recommended to recharge the battery at a room
temperature of 5 to 25 °C.Incorrect use of
battery or battery replaced by an incorrect type
may cause re, explosion or other risk. Dispose
of used batteries according to the instructions.
9. Please place the earbuds back into the case
when not in use for proper storage.
10. If you don't feel comfortable after wearing
the headphones, please refer to an aurist for
advice on whether or not in-ear headphones
are suitable for you.
Left
Right
扫描关注 omthing 官方微信公众号、官方微博,
了解更多产品及优惠。
omthing 互动
omthing 官方微博omthing 公众号
www.omthing.com
制造商:万魔声学科技有限公司
地址:深圳市南山区桃源街道田寮工业 A 区田寮大厦 1403�
制造商:万魔声学科技有限公司
地址:深圳市南山区桃源街道田寮工业 A 区田
寮大厦 1403�
制造商:萬魔聲學科技有限公司
地址:深圳市南山區桃源街道田寮工業 A 區田
寮大廈 1403
Double click Touch Control on
either earbud
Answer Phone Call
Hang up Phone Call
Double click Touch Control on
either earbud
Hold Current Call and Answer
another Call
Double click Touch Control on
either earbud
Hang up Current Call, and
Resume the Held Call
Play / Pause: Double click Touch
Control on right earbud
Activate Voice Control: Double
click Touch Control on left earbud
Volume and Track Selection: Not
supported, please operate via your
device.
Both Earbuds are in Your Ears
Operation Frequency/Max. EIRP:
2400-2483.5MHz, Left ear Max.
EIRP is 8.53dBm, Right ear Max.
EIRP is 8.62dBm.
Son fonctionnement est soumis aux deux
conditions suivantes:
(1) cet appareil ne peut pas provoquer
d'interférences, et
(2) cet appareil doit accepter toute interférence,
y compris celles pouvant causer un mauvais
fonctionnement de l'appareil.
This Class B digital apparatus complies with
Canadian ICES-003.
Cet appareil numérique de la classe B est conforme
à la norme NMB-003 du Canada.
This device has been tested for compliance with
IC SAR values at a typical operating near the body.
To ensure that RF exposure levels below the levels
tested, use accessories with this equipment to
maintain a minimum separation distance of 0 cm
between the body of the user and the device.
These accessories should not contain metallic
components. It is possible that the accessories
used close to the body that do not meet these
requirements are not consistent with the SAR limits
and it is advisable to avoid using them.
Ce dispositif a été testé pour la conformité avec
les valeurs SAR à un fonctionnement typique
près du corps . Pour assurer que les niveaux
d'exposition aux radiofréquences en deçà des
niveaux testés , utiliser des accessoires avec
cet équipement pour maintenir une distance de
séparation minimale de 0 cm entre le corps de
l'utilisateur et l'appareil. Ces accessoires ne
doivent pas contenir des composants métalliques.
Il est possible que les accessoires utilisés près
du corps qui ne répondent pas à ces exigences
ne sont pas compatibles avec les limites SAR
et il est conseillé d'éviter de les utiliser.
To prevent possible hearing
damage, do not listen at high
volume levels for long periods.
Declaration of Conformity Hereby, Tiinlab Acoustic
Technology Limited declares that the radio
equipment type omthing AirFree True Wireless
In-Ear Headphones of EO002BT isin compliance
with Directive 2014/53/EU. The full text of the EU
declaration of conformity is available at the following
internet address: www.omthing.com
RF exposure information: The device has been
evaluated to meet general RF exposure requirement.
The device can be used in portable exposure
condition without restriction. Radiation Exposure
Statement Power is so low that no RF exposure
calculation is needed.
CE
CMIIT ID2020DP3496 IC24662-EO002BT
R 204-B00122
R-R-tAt-EO002BT
03 04 05 06 07 08 09 10
11 12
13 14 15 16 17 18 19 20 21 22
0201
Manufacturer: Tiinlab Acoustic Technology Limited
Address: Tianliao Building 1403, Zone A Tianliao Industrial
Park, Taoyuan Str., Nanshan Dist., Shenzhen, P.R. China
특정소출력 무선기기(무선데이터통신시스템용 무선기기)
All products bearing this symbol are waste electrical
and electronic equipment (WEEE as in directive
2012/19/EU) which should not be mixed with
unsorted household waste. Instead, you should
protect human health and the environment by
handing over your waste equipment to a designated
collection point for the recycling of waste electrical
and electronic equipment, appointed by the
government or local authorities. Correct disposal
and recycling will help prevent potential negative
consequences to the environment and human
health. Please contact the installer or
local authorities for more information
about the location as well as terms and
conditions of such collection points.
WEEE Information
This device complies with Industry Canada
license-exempt RSS standard(s).
Operation is subject to the following two conditions:
(1) this device may not cause interference, and
(2) this device must accept any interference,
including interference that may cause undesired
operation of the device.
Cet appareil est conforme avec Industrie Canada
RSS exemptes de licence standard(s).
IC Statement
23 24
Disconnect Bluetooth Connection
Disconnect the earbuds from your phone. The
earbuds enter TWS mode and try to reconnect
with previously paired devices. The earbuds will
turn off automatically if there is no connection
within 5 minutes. Place them back into the case
rst then take them out again to power on.
NCC
本產品符合低功率電波輻射性電機管理辦法
1. 經形式認證合格之低功率射頻電機,非經
許可,公司、商號或使用者均不得擅自變
更頻率、加大功率或變更原設計之特性及
功能。
2. 低功率射頻電機之使用不得影響飛航安全
及干擾合法通信;經發現有干擾現象時,
應立即停用,並改善至無干擾時方的繼續
使用。前項合法通信,指依電信規定作業
之無線電信。低功率射頻電機須忍受合法
通信或工業、科學及醫療用電波輻射性電
機設備之干擾。
FCC ID:2ASDIEO002BT