EasyManua.ls Logo

Oras Optima 2700F - Page 22

Oras Optima 2700F
56 pages
Print Icon
To Next Page IconTo Next Page
To Next Page IconTo Next Page
To Previous Page IconTo Previous Page
To Previous Page IconTo Previous Page
Loading...
1
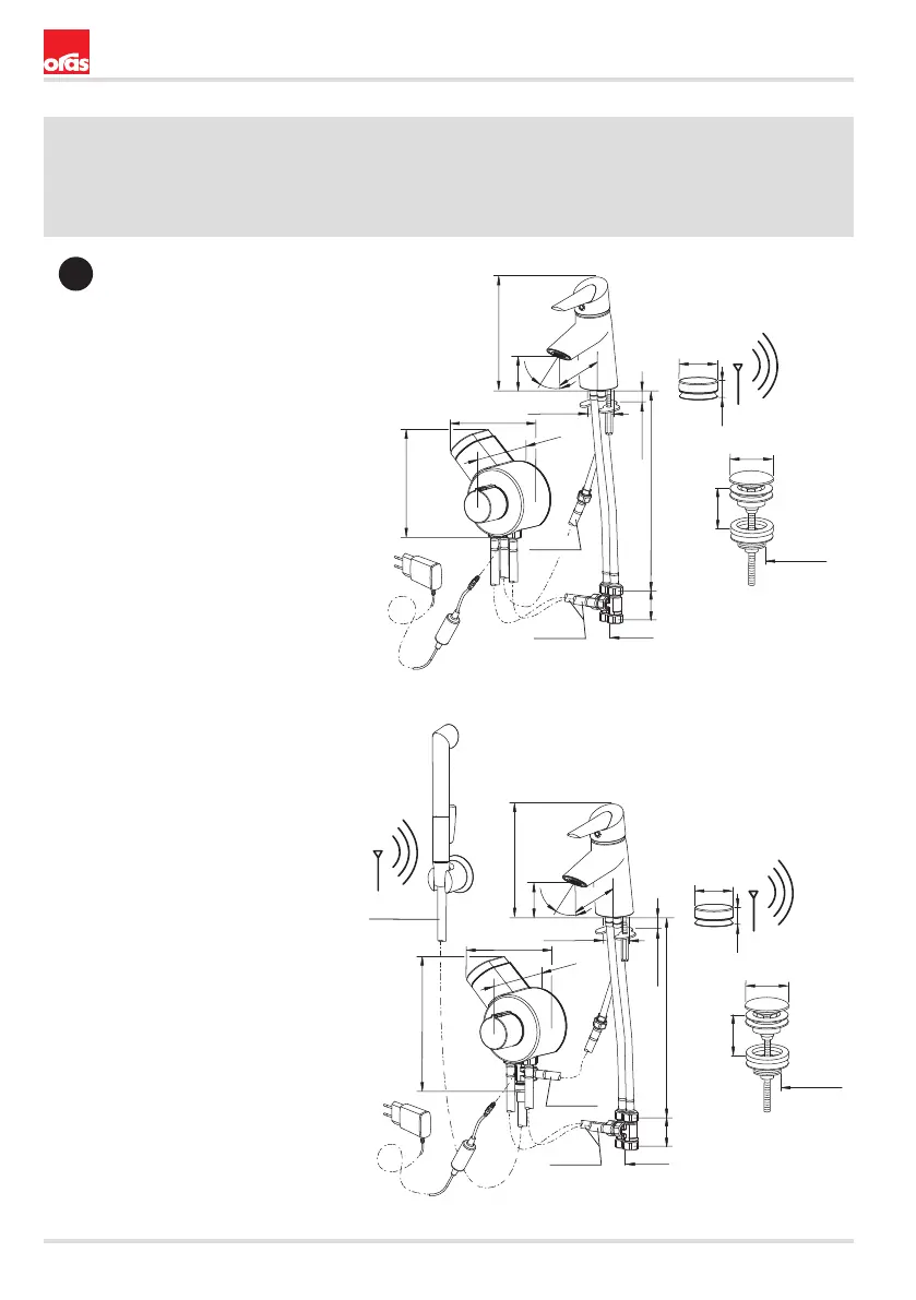
2701F (AA 1.5 V Lithium x 2)
2711F (AA 1.5 V Lithium x 2)
2701FT (230 /5V)
98
66
max 30
350
33°
ø 33 - 35
20 - 80
ø 63
G 1 1/4
G 3/8
23
ø 52
161
l = 1500
l = 400
l = 400
204
154
120
48
230 V/5 V
2705F (AA 1.5 V Lithium x 2)
2715F (AA 1.5 V Lithium x 2)
2705FT (230 /5V)
98
66
max 30
350
33°
ø 33 - 35
20 - 80
ø 63
G 1 1/4
G 3/8
23
ø 52
161
l = 400
145
154
120
48
l = 400
230 V/5 V
22 (56)
Installation
CZ Montáž
DE Montage
DK Installation
EE Paigaldus
ES Montaje
FI Asennus
FR Installation
IT Montaggio
LT Montavimas
LV Montāža
NL Installatie
NO Montering
PL Instalacja
RO Instalare
RU Установка
SE Installation
SK Inštalácia
UA Встановлення

Related product manuals