EasyManua.ls Logo

OVE BAILEY 36 - Shelf Installation Procedure; Remove Existing Shelf Components; Install New Shelf Components

OVE BAILEY 36
7 pages
Print Icon
To Next Page IconTo Next Page
To Next Page IconTo Next Page
To Previous Page IconTo Previous Page
To Previous Page IconTo Previous Page
Loading...
PAGE 5
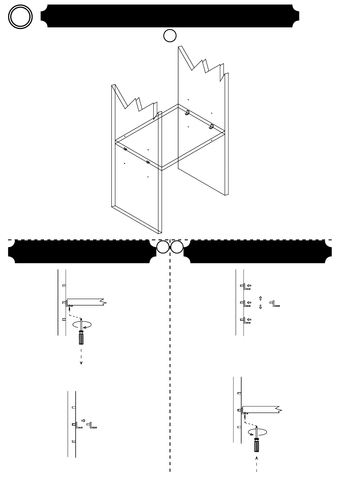
#1
SHELF
TABLETTE
ESTANTE
A
B C
REMOVE
RETIRER
RETIRAR
INSTALL
INSTALLER
INSTALAR
1
2
1
2

Related product manuals