EasyManua.ls Logo

Panasonic CS-CZ25ZKE - Remote Control Button

Panasonic CS-CZ25ZKE
135 pages
To Next Page IconTo Next Page
To Next Page IconTo Next Page
To Previous Page IconTo Previous Page
To Previous Page IconTo Previous Page
Loading...
75
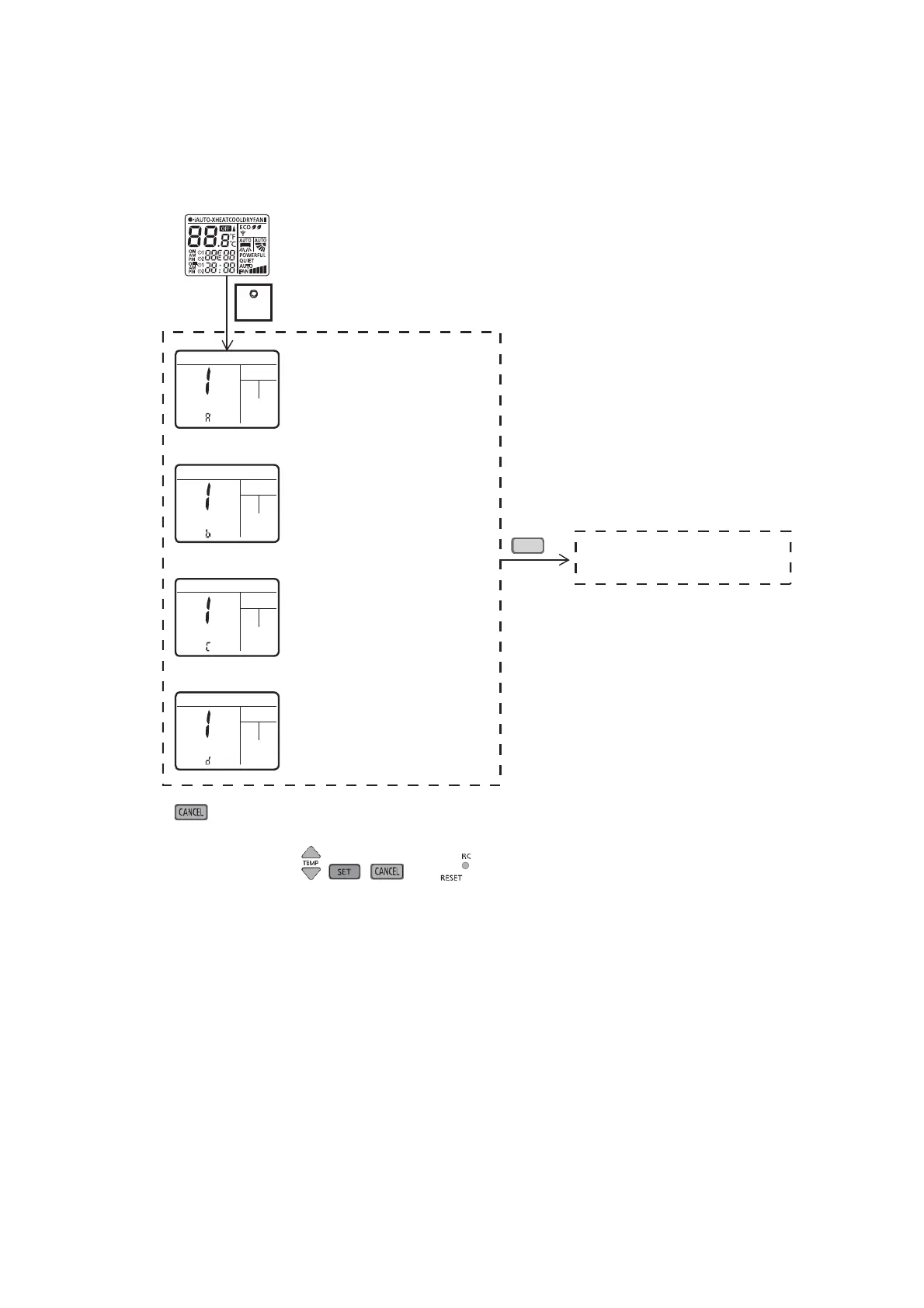
16.3 Remote Control Button
16.3.1 SET Button
To check remote control transmission code and store the transmission code to EEPROM.
o Press “Set” button by using pointer.
o Press “Timer Set” button until a “beep” sound is heard as confirmation of transmission code change.
o LCD returns to original display if remote control does not operate for 30 seconds.
o Press SW, special setting is immediately cancelled and normal mode starts.
o If no SW is pressed for 30 secs, then special setting mode is cancelled and normal mode starts.
o Under this function, only , , and SW’s are effective.
Transmit
“Remote control no.” code
Normal display mode
If jumper JA=Open & JB=Open
RC number = B
If jumper JA=Short & JB=Short
RC number = C
If jumper JA=Open & JB=Short
RC number = D
If jumper JA=Short & JB=Open
RC number = A
SET
OR
OR
OR
SET

Table of Contents

Related product manuals