EasyManua.ls Logo

Panasonic CU-PC12DKD - Page 40

Panasonic CU-PC12DKD
63 pages
Print Icon
To Next Page IconTo Next Page
To Next Page IconTo Next Page
To Previous Page IconTo Previous Page
To Previous Page IconTo Previous Page
Loading...
DISPOSAL OF OUTDOOR UNIT DRAIN WATER
ı
ıı
If a drain elbow is used, the unit should be placed on a
stand which is taller than 3 cm.
ı
If the unit is used in an area where temperature falls below
0°C for 2 or 3 days in succession, it is recommended not to
use a drain elbow, for the drain water freezes and the fan
will not rotate.
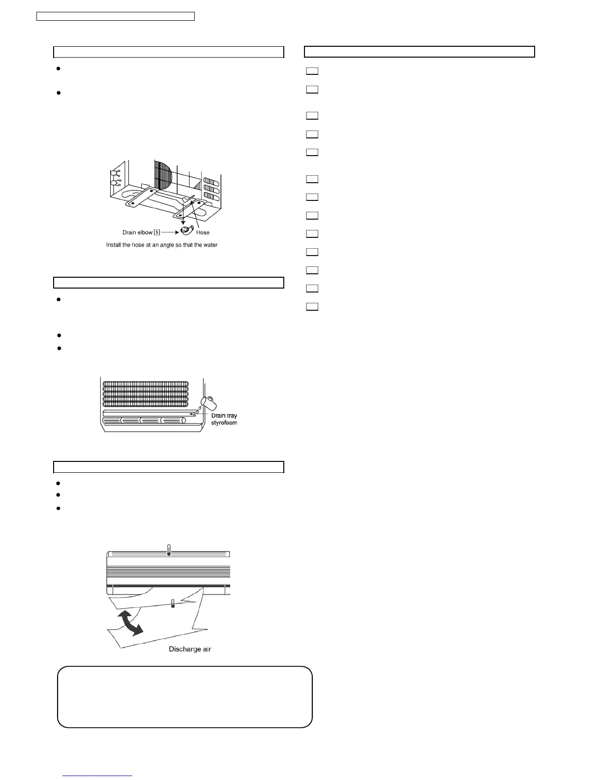
CHECK THE DRAINAGE
ı
Open front panel and remove air filters.
(Drainage checking can be carried out without removing the
front grille.)
ı
ıı
Pour a glass of water into the drain tray-styrofoam.
ı
ıı
Ensure that water flows out from drain hose of the indoor
unit.
EVALU ATION OF THE PERFORMANCE
ı
Operate the unit for fifteen
minutes or more.
Measure the temperature of the intake and discharge air.
ı
Ensure the difference between the intake temperature and
the discharge is more than 8°C during cooling operation or
CHECK ITEMS
Is there any gas leakage at flare nut connections?
Has the heat insulation been carried out at flare nut
connection?
Is the connecting cable being fixed to terminal board firmly?
Is the connecting cable being clamped firmly?
Is the drainage OK?
(Refer to “Check the drainage” section)
Is the earth wire connection properly done?
Is the indoor unit properly hooked to the installation plate?
Is the power supply voltage complied with rated value?
Is there any abnormal sound?
Is the cooling operation normal?
Is the thermostat operation normal?
Is the remote control’s LCD operation normal?
Is the air purifying filter installed?
40
CS-PC12DKD/ CU-PC12DKD / CS-PA12DKD / CU-PA12DKD
14°C during heating operation.
Only for CU-PA12DKD:
NOTE:
These equipment shall be connected to a suitable
mains network with a main impendance less than:
0.27ohm.

Related product manuals