EasyManua.ls Logo

Panasonic CU-PC12GKV - Remote Control and Fan Motor Control; Cursor Key and Fan Speed Control

Panasonic CU-PC12GKV
47 pages
Print Icon
To Next Page IconTo Next Page
To Next Page IconTo Next Page
To Previous Page IconTo Previous Page
To Previous Page IconTo Previous Page
Loading...
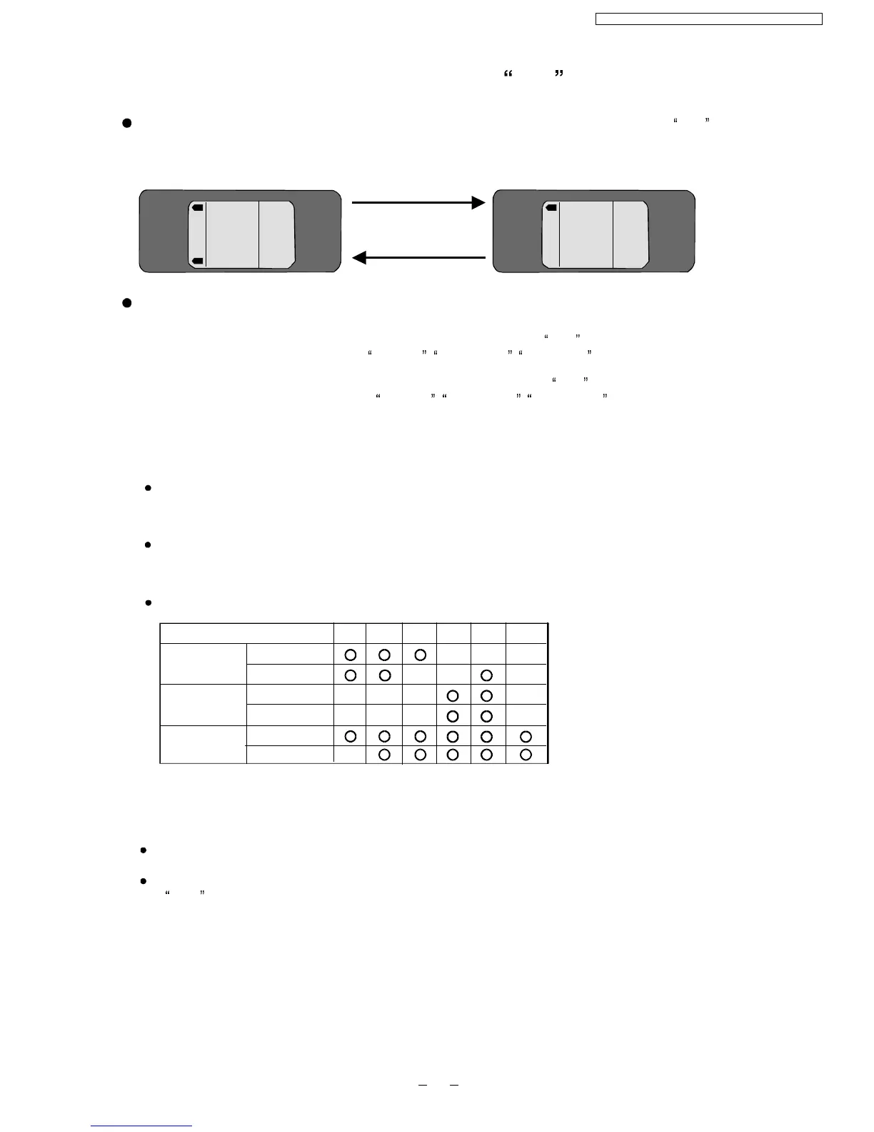
èòëß¾±«¬Ý«®-±®Õ»§É¸·½¸Ð±·²¬-̱ ÑÚÚ Ñ²Î»³±¬»Ý±²¬®±´
ïò
îò
ɸ»²¬¸»ÑÒñÑÚÚ¾«¬¬±²±²¬¸»®»³±¬»½±²¬®±´·-°®»--»¼ô¬¸»½«®-±®µ»§©¸·½¸°±·²¬-¬± ÑÚÚ ©·´´¿°°»¿®±®
¼·-¿°°»¿®¬±·²¼·½¿¬»¬¸»ÑÒñÑÚÚ-¬¿¬«-±º¬¸»¿·®½±²¼·¬·±²»®ò
̸»¿·®½±²¼·¬·±²»®·-®«²²·²¹¾«¬¬¸»½«®-±®µ»§©¸·½¸°±·²¬-¬± ÑÚÚ ¿°°»¿®-ò̸»¿·®½±²¼·¬·±²»®½¿²¾»
-¬±°°»¼©·¬¸¿²§¾«¬¬±²øÛ¨½»°¬º±® ÑÒñÑÚÚ ô Ì×ÓÛÎÍÛÌ ô Ì×ÓÛÎÑÒ ÷°®»--»¼ò
̸»¿·®½±²¼·¬·±²»®·-±²-¬¿²¼¾§ô¾«¬¬¸»½«®-±®µ»§©¸·½¸°±·²¬-¬± ÑÚÚ ¼·-¿°°»¿®-ò̸»¿·®½±²¼·¬·±²»®½¿²
¾»-¬¿®¬»¼©·¬¸¿²§¾«¬¬±²øÛ¨½»°¬º±® ÑÒñÑÚÚ ô Ì×ÓÛÎÍÛÌ ô Ì×ÓÛÎÑÚÚ ÷°®»--»¼ò
Ú±®-±³»®»¿-±²øÛ¨ò̸»-·¹²¿´±º¬¸»®»³±¬»½±²¬®±´¼±»-²±¬®»¿½¸¬¸»-·¹²¿´®»½»·ª»®±º¬¸»·²¼±±®«²·¬ò÷ô¬¸»
¼·-°´¿§±º¬¸»®»³±¬»½±²¬®±´©·´´²±¬½±®®»-°±²¼©·¬¸¬¸»¿½¬«¿´ÑÒñÑÚÚ-¬¿¬«-±º¬¸»·²¼±±®«²·¬æ
ïç
èòêòײ¼±±®Ú¿²Ó±¬±®Ý±²¬®±´
ß«¬±³¿¬·½º¿²-°»»¼½±²¬®±´
ɸ»²¿«¬±³¿¬·½º¿²-°»»¼-»¬ô¬¸»¿ª¿·´¿¾´»®¿²¹»º±®º¿²-°»»¼·-º®±³Ø·¬±Í´±ò
Þ¿-·½Ú¿²Í°»»¼
ݱ±´·²¹Ó±¼»
Ѱ»®¿¬·±²
ͱº¬Ü®§
Ѱ»®¿¬·±²
Ó¿²«¿´
ß«¬±
Ý¿¬»¹±®§
Ø·Ó»
Ô±
Ô±ó
Ó¿²«¿´
ß«¬±
Ó¿²«¿´Ú¿²Í°»»¼Ý±²¬®±´
Þ¿-·½º¿²-°»»¼½¿²¾»³¿²«¿´´§¿¼«-¬»¼øÔ±ôÓ»¼ôØ·÷¾§«-·²¹¬¸»º¿²-°»»¼-»´»½¬·±²¾«¬¬±²ò
Ó¿²«¿´
ß«¬±
ÍÔ± ÍÍÔ±
Ø»¿¬·²¹Ó±¼»
Ѱ»®¿¬·±²
èòéòß«¬±®»-¬¿®¬½±²¬®±´
׺¬¸»±°»®¿¬·±²·--¬±°°»¼¼«»¬±¿°±©»®º¿·´«®»«ô·¬©·´´®»-¬¿®¬¿«¬±³¿¬·½¿´´§
«²¼»®¬¸»°®»ª·±«-±°»®¿¬·±²³±¼»©¸»²¬¸»°±©»®-«°°´§·-®»-«³»¼ò
²¼»®¿²§±°»®¿¬·±²³±¼»
ÐÎÛÍÍþÑÚÚñÑÒþÞËÌÌÑÒ
ßËÌÑ
ÍÌÜ
ÚßÒ
ÍÐÛÛÜ
ß×Î
ÍÉ×ÒÙ
ßËÌÑ
ßËÌÑ
ÝÑÑÔ
ÜÎÇ
ÚßÒ
ÑÚÚ
ßËÌÑ
ÝÑÑÔ
ÜÎÇ
ÚßÒ
ÑÚÚ
ßËÌÑ
ÍÌÜ
ÚßÒ
ÍÐÛÛÜ
ß×Î
ÍÉ×ÒÙ
ßËÌÑ
ÝÍóÐÝçÙÕÊñÝËóÐÝçÙÕÊñÝÍóÐÝïîÙÕÊñÝËóÐÝïîÙÕÊ
̸»ß«¬±®»-¬¿®¬½±²¬®±´½¿²¾»-©·¬¸±ºº¾§°®»--·²¹ßËÌÑÑÒñÑÚÚ¾«¬¬±²º±®¿¾±«¬ïë-»½±²¼-«²¬·´
í ¾»»° -±«²¼·-¸»¿®¬ò̱¿½¬·ª»¬¸·-¬°§»±º½±²¬®±´¿¹¿·²ô®»°»¿¬¬¸»¿¾±ª»-¬»°ò

Related product manuals