EasyManua.ls Logo

Panasonic CU-PC12GKV - Indoor Unit Installation Procedures; Indoor Unit Mounting and Piping Preparation

Panasonic CU-PC12GKV
47 pages
Print Icon
To Next Page IconTo Next Page
To Next Page IconTo Next Page
To Previous Page IconTo Previous Page
To Previous Page IconTo Previous Page
Loading...
çòîòïò ÍÛÔÛÝÌÌØÛÞÛÍÌÔÑÝßÌ×ÑÒ
øÎ»º»®¬±þÍ»´»½¬¬¸»¾»-¬´±½¿¬·±²þ
-»½¬·±²÷
çòîòîò ØÑÉÌÑÚ×È×ÒÍÌßÔÔßÌ×ÑÒ
ÐÔßÌÛ
̸»³±«²¬·²¹©¿´´·--¬®±²¹¿²¼-±´·¼»²±«¹¸¬±°®»ª»²¬·¬º®±³
¬¸»ª·¾®¿¬·±²ò
̸»½»²¬®»±º·²-¬¿´´¿¬·±²°´¿¬»-¸±«´¼¾»¿¬³±®»¬¸¿²ìëð³³
¿¬®·¹¸¬¿²¼´»º¬±º¬¸»©¿´´ò
̸»¼·-¬¿²½»º®±³·²-¬¿´´¿¬·±²°´¿¬»»¼¹»¬±½»·´·²¹-¸±«´¼³±®»
¬¸¿²êé³³ò
Ú®±³·²-¬¿´´¿¬·±²°´¿¬»´»º¬»¼¹»¬±«²·¬ù-´»º¬-·¼»·-êî³³ò
Ú®±³·²-¬¿´´¿¬·±²°´¿¬»®·¹¸¬»¼¹»¬±«²·¬ù-®·¹¸¬·-éç³³ò
æ
æ
æ
Ú±®´»º¬-·¼»°·°·²¹ô°·°·²¹½±²²»½¬·±²º±®´·¯«·¼-¸±«´¼¾»
¿¾±«¬ï𳳺®±³¬¸·-´·²»ò
Ú±®´»º¬-·¼»°·°·²¹ô°·°·²¹½±²²»½¬·±²º±®¹¿--¸±«´¼¾»
¿¾±«¬ìë³³º®±³¬¸·-´·²»ò
Ú±®´»º¬-·¼»°·°·²¹ô°·°·²¹½±²²»½¬·²¹½¿¾´»-¸±«´¼¾»
¿¾±«¬éèë³³º®±³¬¸·-´·²»ò
ïò Ó±«²¬¬¸»·²-¬¿´´¿¬·±²°´¿¬»±²¬¸»©¿´´©·¬¸ë-½®»©-±®
³±®»ò
ø×º³±«²¬·²¹¬¸»«²·¬±²¬¸»½±²½®»¬»©¿´´½±²-·¼»®«-·²¹
¿²½¸±®¾±´¬-ò÷
ß´©¿§-³±«²¬¬¸»·²-¬¿´´¿¬·±²°´¿¬»¸±®·¦±²¬¿´´§¾§
¿´·¹²·²¹¬¸»³¿®µ·²¹ó±ºº´·²»©·¬¸¬¸»¬¸®»¿¼¿²¼«-·²¹¿
´»ª»´¹¿«¹»ò
îò Ü®·´´¬¸»°·°·²¹°´¿¬»¸±´»©·¬¸(é𳳸±´»ó½±®»¼®·´´ò
Ô·²»¿½½±®¼·²¹¬±¬¸»¿®®±©-³¿®µ»¼±²¬¸»´±©»®´»º¬
¿²¼®·¹¸¬-·¼»±º¬¸»·²-¬¿´´¿¬·±²°´¿¬»ò̸»³»»¬·²¹°±·²¬
±º¬¸»»¨¬»²¼»¼´·²»·-¬¸»½»²¬®»±º¬¸»¸±´»òß²±¬¸»®
³»¬¸±¼·-¾§°«¬¬·²¹³»¿-«®·²¹¬¿°»¿¬°±-·¬·±²¿-
-¸±©²·²¬¸»¼·¿¹®¿³¿¾±ª»ò̸»¸±´»½»²¬®»·-
±¾¬¿·²»¼¾§³»¿-«®·²¹¬¸»¼·-¬¿²½»²¿³»´§ïðë³³
¿²¼ïìë³³º±®´»º¬¿²¼®·¹¸¬¸±´»®»-°»½¬·ª»´§ò
Ü®·´´¬¸»°·°·²¹¸±´»¿¬»·¬¸»®¬¸»®·¹¸¬±®¬¸»´»º¬¿²¼¬¸»
¸±´»-¸±«´¼¾»-´·¹¸¬´§-´¿²¬»¼¬±¬¸»±«¬¼±±®-·¼»ò
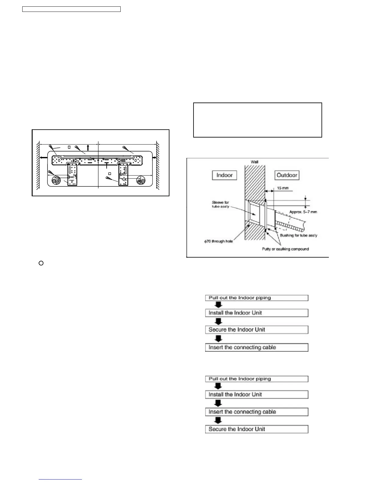
çòîòíò ÌÑÜÎ×ÔÔߨÑÔÛ×ÒÌØÛÉßÔÔ
ßÒÜ×ÒÍÌßÔÔßÍÔÛÛÊÛÑÚ
Ð×Ð×ÒÙ
ïò ײ-»®¬¬¸»°·°·²¹-´»»ª»¬±¬¸»¸±´»ò
îò Ú·¨¬¸»¾«-¸·²¹¬±¬¸»-´»»ª»ò
íò Ý«¬¬¸»-´»»ª»«²¬·´·¬»¨¬®«¼»-¿¾±«¬ïë³³º®±³¬¸»©¿´´ò
Ý¿«¬·±²
ɸ»²¬¸»©¿´´·-¸±´´±©ô°´»¿-»¾»-«®»¬±«-»¬¸»
-´»»ª»º±®¬«¾»¿--§¬±°®»ª»²¬¼¿²¹»®-½¿«-»¼¾§
³·½»¾·¬·²¹¬¸»½±²²»½¬·²¹½¿¾´»ò
ìò Ú·²·-¸¾§-»¿´·²¹¬¸»-´»»ª»©·¬¸°«¬¬§±®½¿«´µ·²¹
½±³°±«²¼¿¬¬¸»º·²¿´-¬¿¹»ò
çòîòìò ×ÒÜÑÑÎËÒ×Ì×ÒÍÌßÔÔßÌ×ÑÒ
ïò Ú±®¬¸»®·¹¸¬®»¿®°·°·²¹
îò Ú±®¬¸»®·¹¸¬¿²¼®·¹¸¬¾±¬¬±³°·°·²¹
çòîò ×ÒÜÑÑÎËÒ×Ì
ó îì ó
ÝÍóÐÝçÙÕÊñÝËóÐÝçÙÕÊñÝÍóÐÝïîÙÕÊñÝËóÐÝïîÙÕÊ
É¿´´
ײ-¬¿´´¿¬·±²
°´¿¬»
ï
ïêë³³
ïðë³³
îîë³³
ïìë³³
³±®» ¬¸¿² ìëð³³
³±®» ¬¸¿² ìëð³³
ͽ®»©
î
Û
Ý
Þ
ß
Þ
É¿´´
Û

Related product manuals