EasyManua.ls Logo

Panasonic CY-TV7000W - Page 29

Panasonic CY-TV7000W
61 pages
To Next Page IconTo Next Page
To Next Page IconTo Next Page
To Previous Page IconTo Previous Page
To Previous Page IconTo Previous Page
Loading...
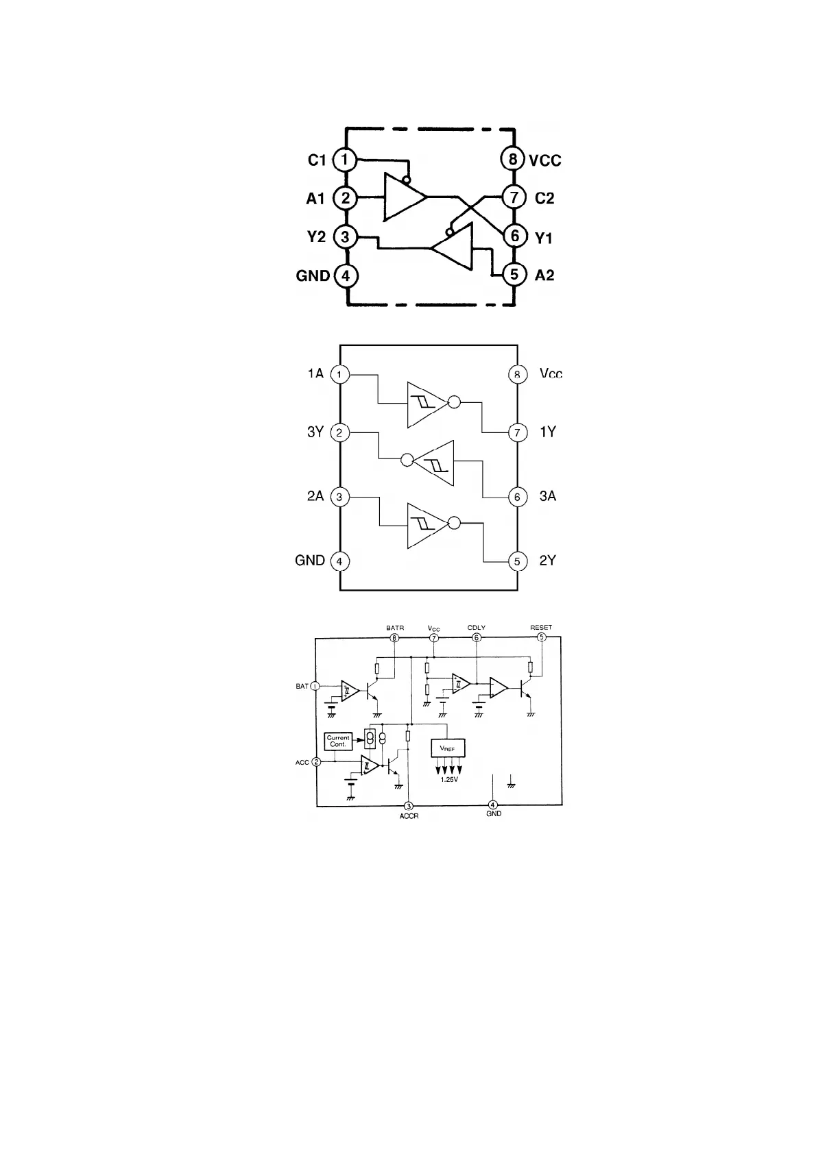
IC603 : YEAMTC7W14FL
IC701 : AN8065SE1
IC702 : YEAMM5237ML
29

Related product manuals