EasyManua.ls Logo

Panasonic EY45A2 - Page 173

Panasonic EY45A2
176 pages
Print Icon
To Next Page IconTo Next Page
To Next Page IconTo Next Page
To Previous Page IconTo Previous Page
To Previous Page IconTo Previous Page
Loading...
-
173
-
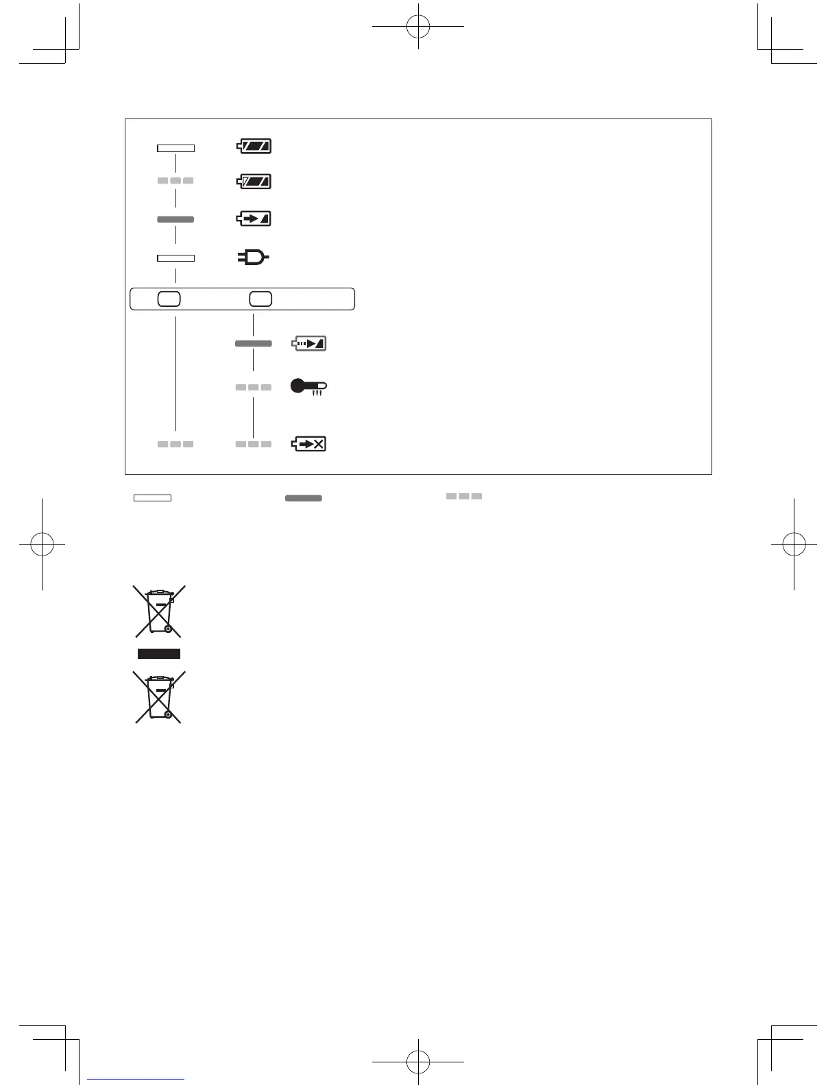
Lampun merkinnät
Lataus on valmis. (Täysi lataus)
Akku on latautunut noin 80%.
Lataa parhaillaan.
Laturi on kytketty verkkoon.
Valmis lataukseen.
(Vihr) (Oranssi)
Lataustilan lamppu
Vasen: vihreä Oikea: oranssi
Akku on viileä.
Akku latautuu hitaasti akun kuormituksen vähentämiseksi.
Akkupaketti on lämmin.
Lataus alkaa, kun akkupaketin lämp ötila laskee. Jos akun lämpötila
on -10 °C astetta tai vähemmän, lataus lamppu (oranssi) alkaa myös
vilkkua. Lataus alkaa, kun akun tilan lämpötila nousee.
Akkupaketti on mmin. Lataus alkaa, kun akkupaketin lämp ötila laskee.
Sammuu Palaa Vilkkuu
Tietoja vanhojen laitteiden ja käytettyjen paristojen keräyksestä
ja hävittämisestä
Nämä merkinnät tuotteissa, pakkauksissa ja/tai niihin liitetyissä doku menteissa tarkoit-
tavat, että käytettyjä sähkö- ja elektroniikkalaitteita sekä paristoja ei tule sekoittaa taval-
liseen kotitalousjätteeseen.
Vanhojen tuotteiden ja käytettyjen paristojen asianmukainen käsittely, talteen ottaminen ja
kierrätys edellyttävät niiden viemistä tarjolla oleviin keräyspisteisiin kansallisten määräys-
ten sekä direktiivien 2002/96/EC ja 2006/66/EC mukaisesti.
Kun hävität tuotteet ja paristot asianmukaisesti, autat säilyttämään arvokkaita luonnon-
varoja sekä ehkäisemään ihmisen terveydelle ja ympäristölle haitallisia vaikutuksia, joita
vääränlainen jätteenkäsittely voi aiheuttaa.
Ota yhteys asuinkuntasi viranomaisiin, jätteenkäsittelystä vastaavaan tahoon tai tuottei-
den ostopaikkaan saadaksesi lisätietoja vanhojen tuotteiden ja paristojen keräyksestä ja
kierrätyksestä.
Tuotteiden epäasianmukaisesta hävittämisestä saattaa seurata kansal lisessa lainsäädän-
nössä määrätty rangaistus.
Yrityksille Euroopan unionissa
Lisätietoja sähkö- ja elektroniikkalaitteiden hävittämisestä saat jälleenmyyjältä tai tavarantoimittajalta.
[Tietoja hävittämisestä Euroopan unionin ulkopuolella]
Nämä merkinnät ovat voimassa ainoastaan Euroopan unionin alueella. Ota yhteys paikallisiin virano-
maisiin tai jälleenmyyjään saadaksesi tietoja oikeasta jätteenkäsittelymenetelmästä.
EY45A2(EU).indb 173 2014-1-15 10:14:13

Other manuals for Panasonic EY45A2

Related product manuals