EasyManua.ls Logo

Panasonic HYBRID IP-PBX KX-TDA100 - Page 201

Panasonic HYBRID IP-PBX KX-TDA100
232 pages
To Next Page IconTo Next Page
To Next Page IconTo Next Page
To Previous Page IconTo Previous Page
To Previous Page IconTo Previous Page
Loading...
3.3 Customising Your System (System Programming)
User Manual 201
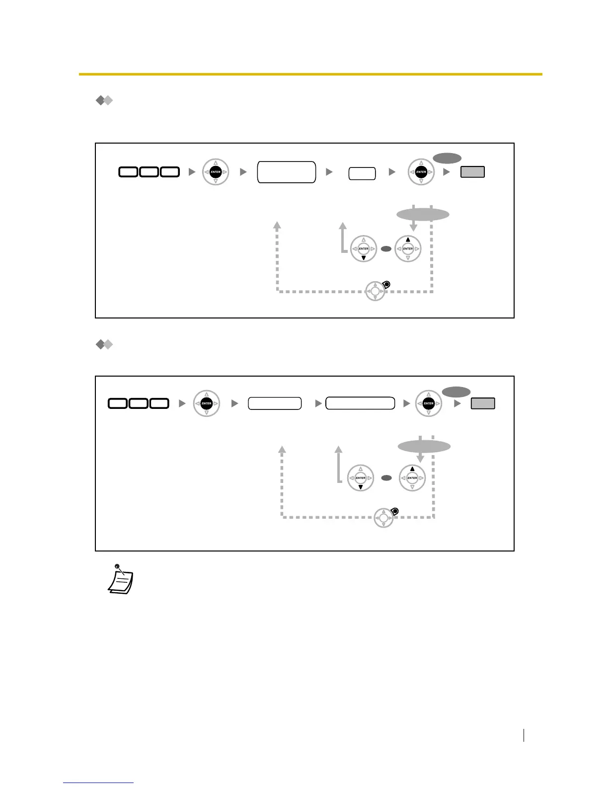
System Speed Dialling Name [002]
You can store the name associated with the speed dialling number. These names are displayed when
making calls using the display operation. To enter characters, refer to "Entering Characters".
Extension Number [003]
You can assign an extension number to each extension.
The leading number(s) should be the same as the number(s) assigned for Flexible
Numbering. Consult your dealer.
A duplicate entry is invalid.
Press
ENTER
.Enter
002
. Press
ENTER
.Enter
system
speed dialling
number
(3 digits).
Press
END
.
Press
CANCEL
.
Press
NEXT
. Press
PREV
.
To continue
To end
0 0 2
Enter
name
(max. 20
characters).
name
system speed
dialling no.
OR
Press
ENTER
.Enter
003
. Press
ENTER
. Press
END
.Enter
new
extension number
.
new extension no.
Press
CANCEL
.
Press
NEXT
.
Press
PREV
.
To continue
To end
0 0 3
Enter
extension
number
.
extension no.
OR

Table of Contents

Related product manuals