EasyManua.ls Logo

Parker 650 Series - Application 1: Basic Speed Control; Standard Parameters for Application 1

Parker 650 Series
70 pages
To Next Page IconTo Next Page
To Next Page IconTo Next Page
To Previous Page IconTo Previous Page
To Previous Page IconTo Previous Page
Loading...
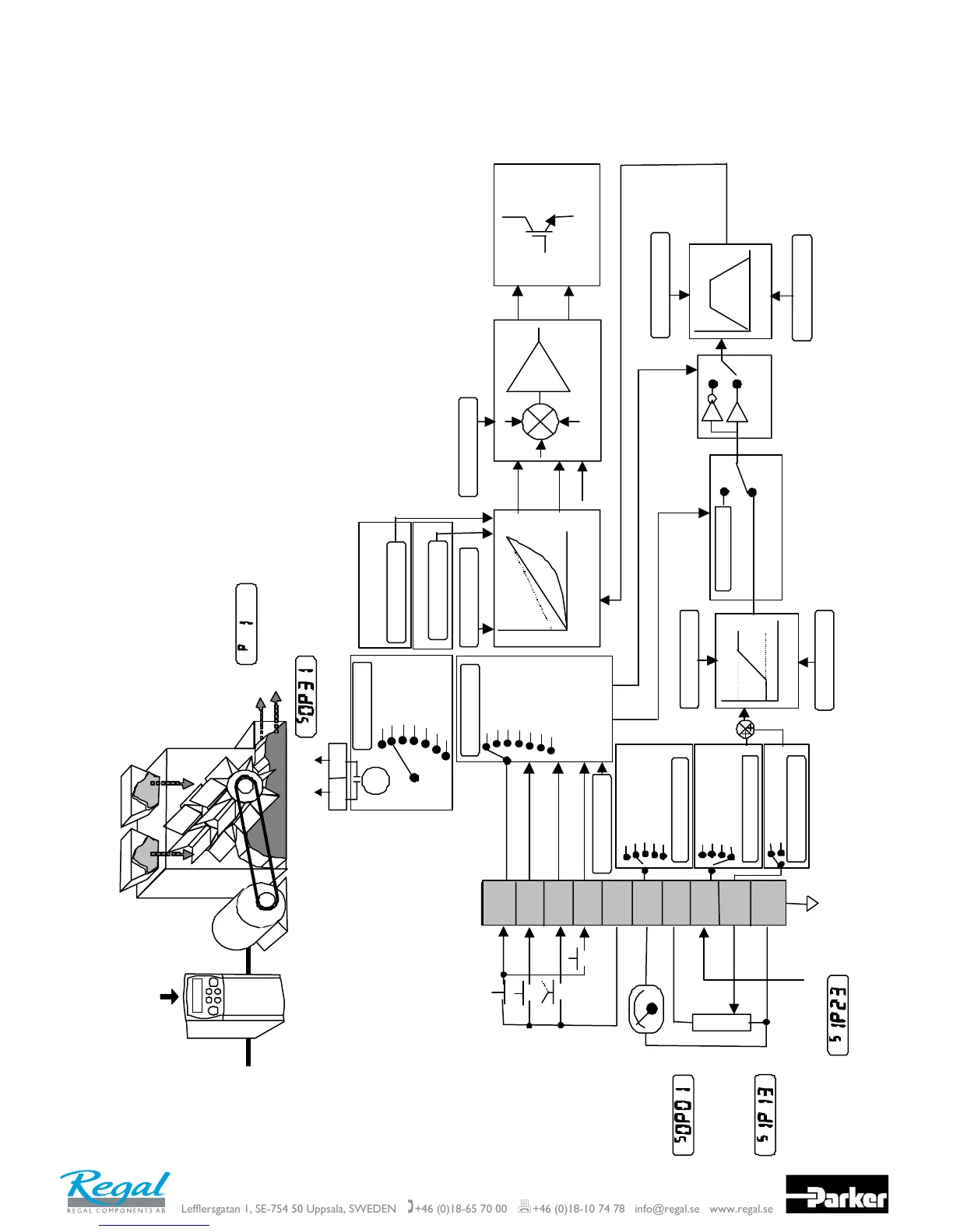
Applications 12-2
650 Series AC Drive
Application 1 : Basic Speed Control (default)
Application 1:
Italic text indicates Default
IDEAL FOR GENERAL PURPOSE APPLICATIONS
NORMAL DUTY AND HEAVY
= 1
Frequency Hz
Speed Setpoint %
DC Link Volts V
Motor Current A
DIAGNOSTICS
p1 Application
p2 Max speed
p3 Min speed
p4 Accel time
p5 Decel time
p6 Motor current
p7 Base frequency
p8 Jog setpoint
p9 Run stop mode
p11 V/F shape
p12 Normal duty
p13 Fixed boost, (VF only)
p99 Password
STANDARD PARAMETERS
Basic Speed Control
Speed
0V
AIN1
AIN2
+10V REF
AOUT1
SPEED TRIM 4-20mA
SPEED
MIN/MAX SPEED
RAMP
P2 MAX SPEED
P3 MIN SPEED
CURRENT LIMIT
REFERENCE SELECT
P8 JOG SPD
P4 ACCEL TIME
P5 DECEL TIME
PWM CONTROL
V/F SHAPING
CT
VT
V
F
V
F
I FDBK
V
F
SPEED DEMAND
FWD/REV
P9 STOP MODE
IP13 AIN1 TYPE
SEQUENCING
LOGIC
OP21 DIGIO2
0 = CONSTANT TORQUE
1 = VARIABLE TORQUE
P7 BASE FREQ
P13 V BOOST
P11 V/F SHAPE
50/60Hz base frequency
0 0-10V
1 0-5V
IP23 AIN2 TYPE
0 0-10V
1 0-5V
2 0-20mA
3 4-20mA
0 NONE
1 DEMAND%
2 CURRENT%
3 PID ERROR%
4 RAISE/LOWER%
OP01 ANOUT
P6
I NOMINAL
+24V
DIN1
DIN2
DIN3
RUN FORWARD
JOG
DIRECTION
NOT STOP
DIN4/
DOUT2
PUSH-BUTTON
STARTING
User Relay
RL1A RL1B
R
OP31 RELAY
1
2
3
4
5
6
7
8
9
10
Speed Meter
= 1
RAMP OUTPUT
= 3
SETPOINT
= 1
= 0
0 NONE
1 HEALTH
2 TRIPPED
3 RUNNING
4 AT ZERO
5 AT SPEED
0 NONE
1 HEALTH
2 TRIPPED
3 RUNNING
4 AT ZERO
5 AT SPEED
6 AT LOAD
6 AT LOAD
Lefflersgatan 1, SE-754 50 Uppsala, SWEDEN +46 (0)18-65 70 00 +46 (0)18-10 74 78 info@regal.se www.regal.se

Table of Contents

Other manuals for Parker 650 Series

Related product manuals