EasyManua.ls Logo

parktool PRS-33 - Page 12

parktool PRS-33
20 pages
Print Icon
To Next Page IconTo Next Page
To Next Page IconTo Next Page
To Previous Page IconTo Previous Page
To Previous Page IconTo Previous Page
Loading...
U. Place power supply (#31) into top of cross bar (#8). Drop coiled cord
through hole in cross bar (be careful the hole edges do not damage
cord) and attach end of cord to power terminal on carriage assembly
(#3).
U. Placer le transformateur (#31) à l’intérieur de la barre horizontale (#8).
Laisser filer le câble d’alimentation à travers la barre horizontale
(attention à ce que les bords n’abiment pas le câble) et relier le bout de
du câble d’alimentation au bloc moteur (#3).
U. Platzieren Sie das Netzteil (#31) im Querträger (#8). Fädeln Sie das
Teleskopkabel vorsichtig durch die Bohrung im Querträger und
verbinden Sie den Stecker mit der Buchse in der Trägerschlitteneinheit
(#3).
U. Coloque la fuente de poder (#31) en la parte superior de la barra
superior transversal (#8). Atraviese el cable enroscado en el orificio de
la barra superior transversal (tenga cuidado que los bordes del orificio
no dañen el cable) y conecte el extremo del cable a la alimentación
eléctrica en el sistema de deslizamiento (#3).
V. Install lock block assembly (#27) into horizontal tube (#7).
V. Installer l’ensemble de serrage (#27) dans le tube horizontal (#7) du
bloc moteur.
V. Setzen Sie den Verschlusshebel (#27) in die Klauenaufnahme (#7).
V. Instale el bloqueo (#27) en el sujetador de mordaza (#7).
W. Insert clamp (#6) into the horizontal tube (#7). Tighten handle on lock
block assembly (#27) to secure clamp.
W
. Insérer la pince (#6) dans le tube horizontal (#7). Tourner la poignée de
l’ensemble de serrage (#27) afin de bloquer la pince.
W
. Schieben Sie die Halteklaue (#6) in die Klauenaufnahme (#7) und
sichern Sie diese durch Drehen des Verschlusshebels (#27).
W
. Inserte la mordaza (#6) en el sujetador de mordaza (#7). Apriete la
palanca del bloqueo (#27) para asegurar la mordaza.
X. Adjust chain tension using the chain tensioning assembly (#24, #25,
#26). Turning adjusting barrel (#24) one direction will tighten chain.
Turning adjusting barrel the other direction will loosen tension. Chain
should be tensioned so it has just a very slight amount of slack. Do not
over tension the chain.
X. Ajuster la tension de la chaine à l’aide de l’ensemble de réglage de
tension (#24, #25, #26). Tourner le barillet (#24) dans un sens pour
tendre la chaine. Tourner le barillet dans l’autre sens pour relâcher la
chaine. La chaine doit avoir une tension permettant seulement un
faible débattement. Ne pas surtendre la chaine.
X. Mit dem Kettenspanner (#24, #25, #26) justieren Sie die Spannung der
Antriebskette. Durch Drehen des Justierzylinders (#24) lockern oder
spannen Sie die Kette. Die Kette sollte so gespannt sein, dass nur
geringes Spiel vorhanden ist. Überspannen Sie aber die Kette nicht!
X. Ajuste la cadena utilizando los tensores de cadena (#24, #25, #26). Gire
el barril de ajuste (#24) en una dirección para apretar la cadena. Gire
el barril de ajuste en dirección contraria para aflojar la cadena. La
cadena debe tensarse para que tenga una ligera holgura. No tensione
demasiado la cadena.
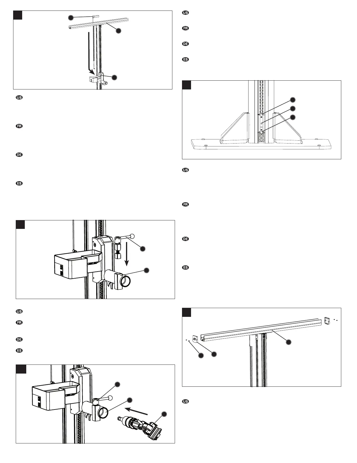
Y. Using Phillips head screwdriver, attach end caps (#10) to cross bar (#8)
with end cap screws (#11). The cross bar has space to accommodate
optional hooks for hanging wheels. Use Park Tool #450 Machine
Thread Hooks (not included with PRS-33) and install before attaching
end caps.
U
V
X
Y
W
8
31
3
7
27
8
10
11
7
6
27
24
26
25