EasyManua.ls Logo

Partner P340S - Page 165

Partner P340S
190 pages
Print Icon
To Next Page IconTo Next Page
To Next Page IconTo Next Page
To Previous Page IconTo Previous Page
To Previous Page IconTo Previous Page
Loading...
-- 163 --
SAGARUMOŠANA
Sagarumošana ir nogzta koka stumbra
zšana pc garumiem. emiet vr, ka
jbt stabilam pamatam un jstv augšup no
koka stumbra, ja zjat slpum. Ja
iespjams, bais jatbalsta t, lai
zjamais gals neatbalsttos pret zemi. Ja
koks ir atbalstts abos galos un jums ir jz
vidusdaa, vispirms veiciet zjumu no
augšas ldz pusei un tad veiciet zjumu no
lejas. Tdjdi tiks novrsts, ka bais
iespiež sliedi un di. Sagarumošanas laik
esiet uzmangs, lai de nesaskartos ar
zemi, jo šdu gadjumu rezultt de strauji
tiks padarta neasa.
Zjot slpum, vienmr stviet kalna
augstkaj da.
1. Bais atbalstts vis garum. Zjiet no
augšpuses (virs sazarojuma), rkojoties
uzmangi, lai neieztu zem (13A att.).
2. Bais atbalstts vien gal. Vispirms
zjiet no apakšpuses (zem sazarojuma)
1/3 baa diametra, lai izvairtos no
sašelšans. Pc tam zjiet no
augšpuses (virs sazarojuma), lai nonktu
ldz pirmajai zjuma vietai un izvairtos
no sliedes iespršanas (13B att.).
3. Bais atbalstts abos galos. Vispirms z-
jiet virs sazarojuma 1/3 baa diametra,
lai izvairtos no sašelšans. Pc tam
zjiet virs sazarojuma, lai nonktu ldz
pirmajai zjuma vietai un izvairtos no
sliedes iespršanas (13C att.).
BRDINJUMS! Nekad nezjiet
lielus zarus, stvot uz koka stumbra.
12 att.
13B att.
13A att.
13C att.
A
A
B
BRDINJUMS! Kad gšanas
griezums ir tuvu eei, kokam ir jsk krist.
Kad koks sk krist, izemiet motorza sliedi
no griezuma, apturiet dzinju, nolieciet zi
un atstjiet darba zonu pa atkpšans ceu
(11A att.).
11C att. 11D att.
Koka atzarošana ir zaru nozšana
nogztam kokam. Nezjiet zarus (A), uz
kuriem balsts koks, kamr koks nav
sagarints (sazts) pa garumiem (12. att.).
Zarus, kuri ir nospriegoti, jz no apakšp-
uses uz augšpusi, lai neiespiestu motorzi.
ATZAROŠANA
1. Izmantojiet koka vai plastmasas us (A),
lai novrstu sliedes vai des (B)
iespršanu griezum. i ar kontrol
gšanos (11C att.).
2. Ja koka diametrs ir lielks par sliedes
garumu, veiciet divus griezumus, k
redzams attl (11D att.).
GŠANAS GRIEZUMS
Nekad nezjiet pilnb cauri stumbram.
Vienmr atstjiet ei. Ee virza koku. Ja
stumbrs ir pilnb przts, ir pazaudta
gšans kontrole. Griezum ielieciet li vai
gšanas lpstiu, pirms koks ir kuvis
nestabils un sk kustties. Tas novrss
iespju, ka sliede vartu iesprst gšanas
griezum gadjum, ja esat izvljies
nepareizu gšans virzienu. Nodrošiniet, lai
citas personas neatrastos koka gšans
zon, kamr js to gržat.
BRDINJUMS!
Pirms veicat
pdjo griezumu, vienmr prliecinieties, vai
gšanas zon nav citas personas, dzvnieki
vai šrši.
BRDINJUMS! Nezjiet koku,
ja ir liels vai maings vjš vai ja tas apdraud
pašumu. Konsultjieties ar koku gšanas
specilistu. Nezjiet koku, ja pastv risks
sabojt elektrbas vadus. Pirms zšanas
informjiet elektroenerijas uzmumu.
VISPRGI NORDJUMI PAR KOKU
GŠANU
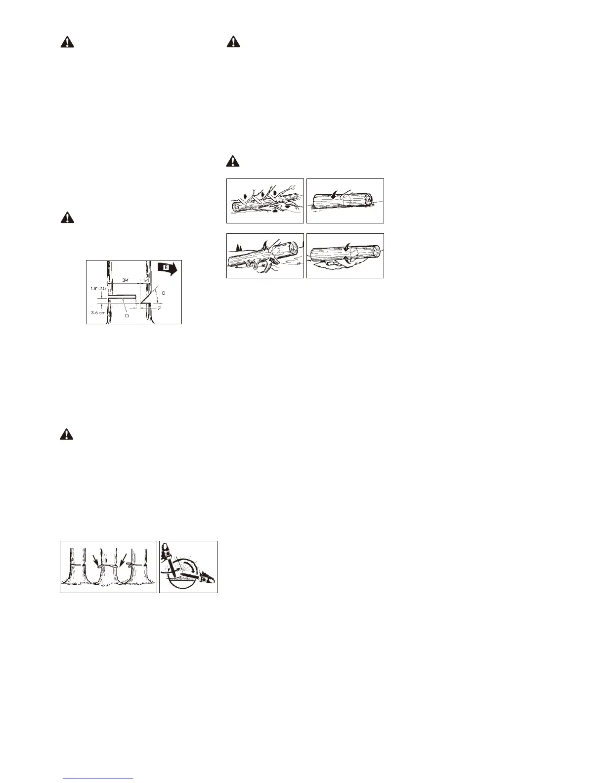
Parasti gšana sastv no divm galvenajm
zšanas darbbm: aizzšana (C) un
gšanas griezuma (D) izdaršana.
Sciet koka aizzjumu (C) taj koka pus,
uz kuru koks tiks gzts (E). Uzmanieties, lai
apakšjais griezums netiktu izdarts prk
dzii stumbr.
Aizzjumam (C) ir jbt tik dziam, lai
izveidotu pietiekami platu un izturgu ei
(F). Aizzjumam ir jbt pietiekami
platam, lai pc iespjas ilgk vartu kontrolt
gšanas virzienu.
BRDINJUMS!
Nekad nestviet
taj koka pus, kur ir izdarts aizzjums.
Koka otr pus un 3 -5 cm (1,5 -2,0 collas)
virs aizzjuma (C) malas veiciet gšanas
griezumu (D) (11B att.).
11B. att.

Related product manuals