EasyManua.ls Logo

Passap ELECTRONIC 8000 - Page 18

Passap ELECTRONIC 8000
266 pages
Print Icon
To Next Page IconTo Next Page
To Next Page IconTo Next Page
To Previous Page IconTo Previous Page
To Previous Page IconTo Previous Page
Loading...
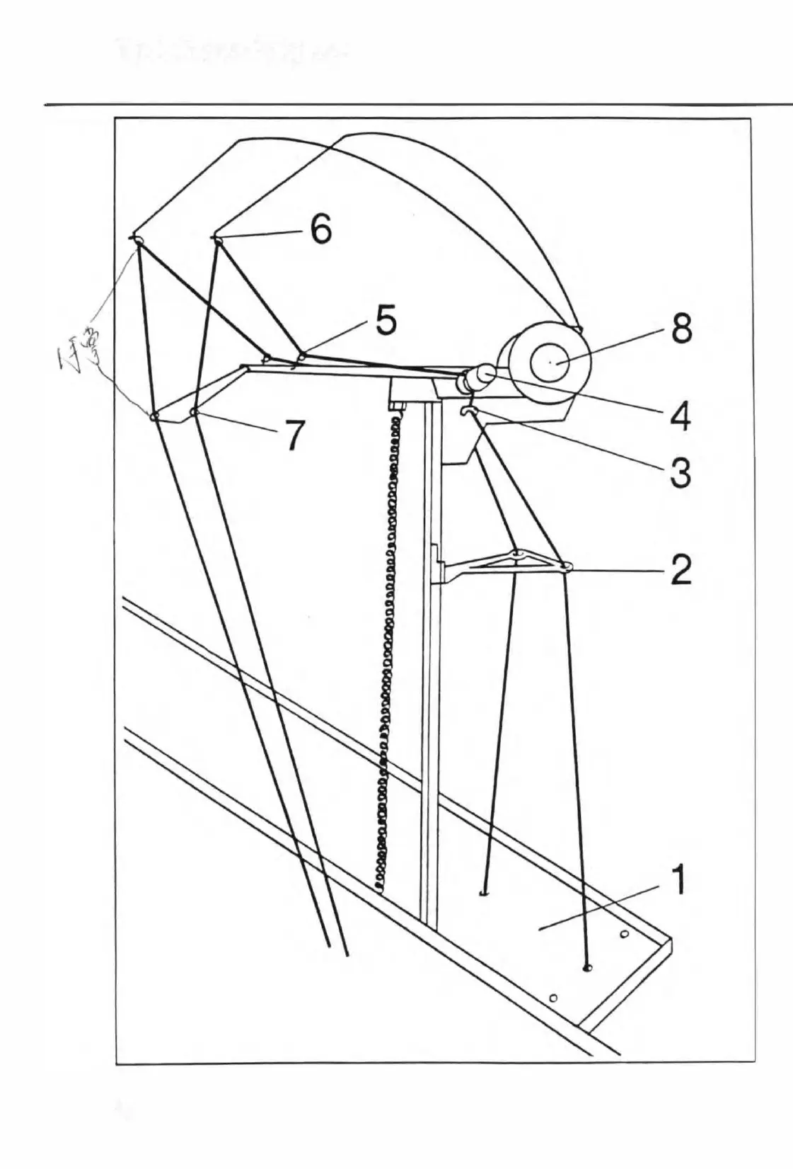
The threading up
16

Table of Contents