EasyManua.ls Logo

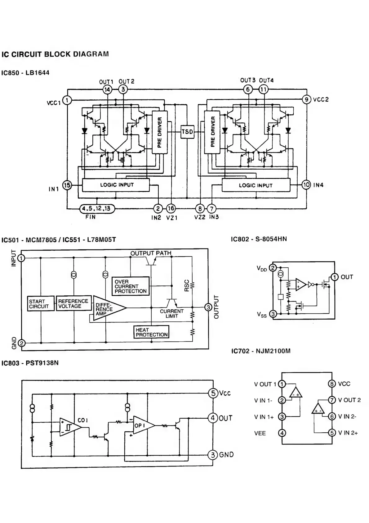
Philips 22RC026/00 - IC Circuit Block Diagrams (Continued); IC850 LB1644 Block Diagram; IC501;IC551 Regulator Block Diagram

Philips 22RC026/00
39 pages
Print Icon
To Next Page IconTo Next Page
To Next Page IconTo Next Page
To Previous Page IconTo Previous Page
To Previous Page IconTo Previous Page
Loading...
IC
CIRCUIT
BLOCK
DIAGRAM
IC850
-
LB1644
OUT1
OUT2
OUT3
OUT4
oo
mcm
il
Tear
[esewer
|
|
|
tf
emeenr}
Seer
+
oe
+
Seemmaeel
vec
E
DRIVER
PRE
ORIVER
IC501
-
MCM7805
/1C551
-
L78MO5T
IC802
-
S-8054HN
INPUT
i
C~)
S
=
OVER
|
CURRENT
PROTECTION
DIFFE-
RENCE
i
ae
HEAT
PROTECTION
START
REFERENCE
CIRCUIT
VOLTAGE
IC803
-
PST9138N
OUTPUT
GND
1C702
-
NJM2100M