EasyManua.ls Logo

PNY MOBEE - Page 14

PNY MOBEE
44 pages
Print Icon
To Next Page IconTo Next Page
To Next Page IconTo Next Page
To Previous Page IconTo Previous Page
To Previous Page IconTo Previous Page
Loading...
14
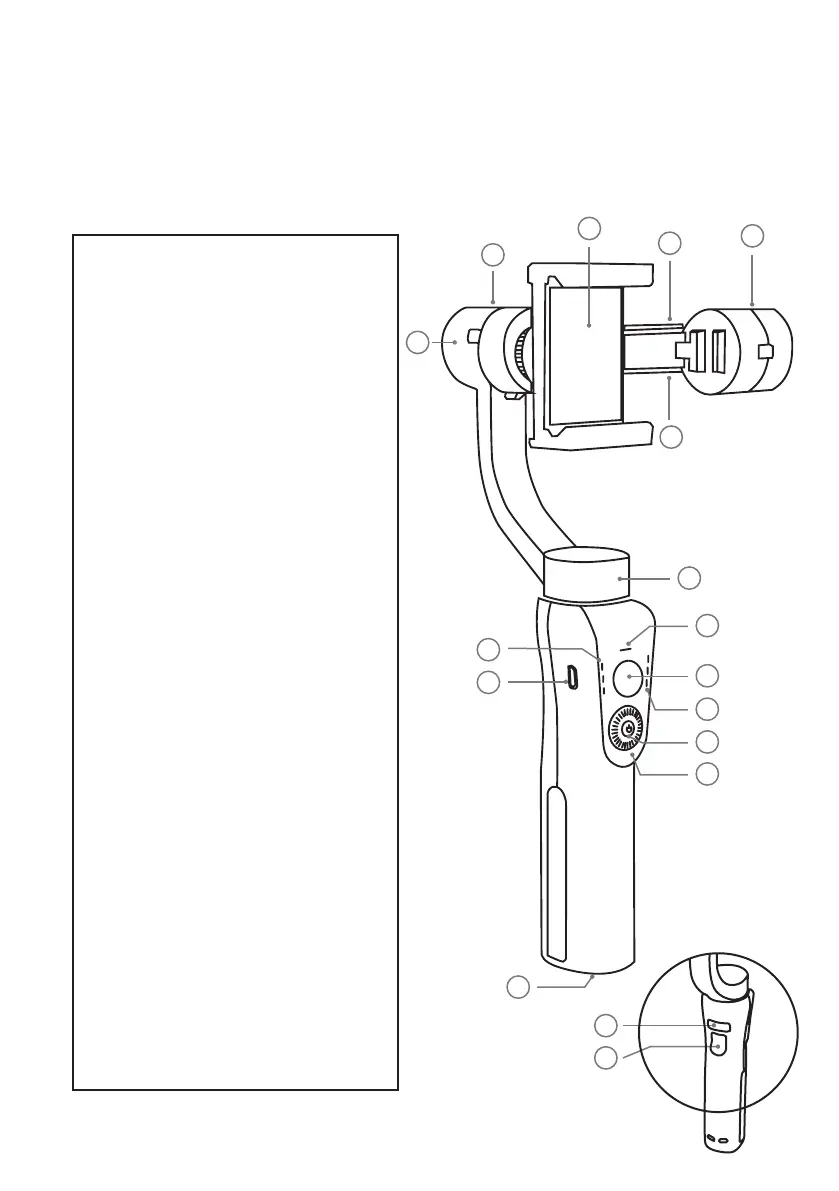
DEN PNY MOBEE KENNENLERNEN
Der Stabilisator ist ein hochpräzises Steuergerät. In Verbindung mit der APP
bietet er bessere Gesichtserkennung, Zeitrafferfunktion usw. und
ermöglicht Ihnen die Aufnahme von Videos in Pro-Qualität.
1.
Smartphone-Halterung
2. Schwenk-Motor: ermöglicht die
horizontale 330-Grad-Drehung des
Gimbals
3. Batteriestandanzeige
4. Joystick
5. Bluetooth Leuchtanzeige
6.
Betriebsmodusanzeige
7. EIN/AUS – oder Modus-Knopf
8. Zoomsteuerung
9. Haltereinstellung
10. Rollmotor: für vertikale
160-Grad-Drehung
11. Ausgleichsschraube: hilft, das
Gewicht auszugleichen
12. Verstellbarer Arm
13. Neigungsmotor: für horizontale
330-Grad-Drehung
14. USB-Ausgang: zum Auaden des
Smartphones direkt vom Gimbal
15. Micro-USB-Anschluss: zum
Laden des Gimbals
16.
Auslöserknopf: Ein Mal drücken, um
das Bild zu aufzuzeichnen, und zwei
Mal drücken, um die Kamera in ihre
ursprüngliche Position zu bringen.
17. 1/4 Gewindeschraube (Zum
Ausziehen der Stangen oder
Stative)
1
2
3
15
14
16
5
6
8
17
4
7
13
12
11
9
10