EasyManua.ls Logo

PNY MOBEE - Page 19

PNY MOBEE
44 pages
Print Icon
To Next Page IconTo Next Page
To Next Page IconTo Next Page
To Previous Page IconTo Previous Page
To Previous Page IconTo Previous Page
Loading...
19
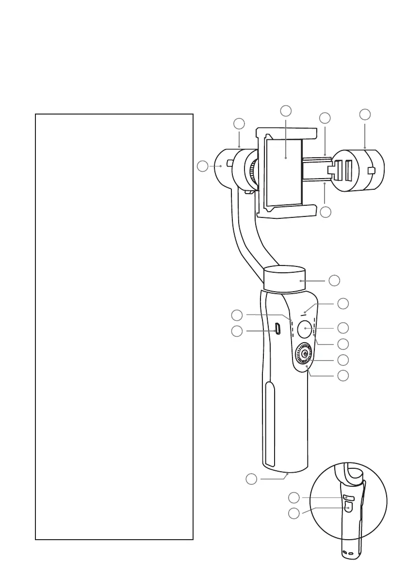
PRESENTACIÓN DE PNY MOBEE
El estabilizador es un dispositivo de alta precisión. En la aplicación móvil
hay más funciones de seguimiento facial y funciones de «time-lapse», entre
otras, para realizar vídeos de calidad profesional.
1.
Pinza del móvil
2. Motor de panorámica: para girar
horizontalmente el gimbal a 33.
3. Indicador de carga de la batería
4. Joystick
5. Piloto de Bluetooth
6.
Indicador del modo de uso
7. Botón de encendido/apagado y
botón Modo
8. Control del zoom
9. Ajuste del soporte del móvil
10. Motor de giro: para rotar vertical-
mente a 16.
11. Tornillo de equilibrio: ayuda a
equilibrar el peso.
12. Brazo ajustable
13. Motor de inclinación: para rotar
horizontalmente 330°.
14. Puerto USB: para cargar un móvil
directamente con el gimbal.
15. Puerto micro USB: para cargar el
gimbal.
16.
Botón disparador: una pulsación
para sacar fotografías y dos
pulsaciones para que la cámara
vuelva a su posición original.
17. rosca de ¼ (para palos extensivos
y trípodes).
1
2
3
15
14
16
5
6
8
17
4
7
13
12
11
9
10