EasyManua.ls Logo

PNY MOBEE - Page 29

PNY MOBEE
44 pages
Print Icon
To Next Page IconTo Next Page
To Next Page IconTo Next Page
To Previous Page IconTo Previous Page
To Previous Page IconTo Previous Page
Loading...
29
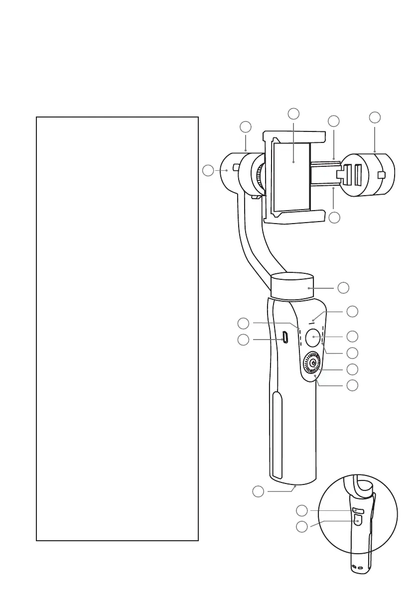
CONHECER O PNY MOBEE
O estabilizador é um dispositivo de controlo de alta precisão. Na aplicação,
encontra reconhecimento facial, função de time-lapse, etc., que oferecem
um vídeo de nível prossional.
1.
Clipe para smartphone
2. Motor pan: permite que a sus-
pensão cardã rode 330 graus na
horizontal.
3. Indicador de nível da bateria
4. Joystick
5. Luz Bluetooth
6.
Indicador de modo de operação
7. Ligar/Desligar – ou botão Modo
8. Controlo de zoom
9. Ajuste do suporte
10. Rolete motor: para rodar 160
graus na vertical
11. Parafuso de equilíbrio: ajuda a
equilibrar o peso
12. Braço ajustável
13. Inclinação do motor: para rodar
330 graus na horizontal
14. Desligar USB: para carregar o
smartphone diretamente na
suspensão de cardã
15. Puerto micro USB: para cargar el
gimbal.
16.
Botão de disparo do obturador:
premir uma vez para fotografar,
premir 2 vezes para levar a câmara
para a posição original
17. ¼ Parafuso (para extensões e
tripés)
1
2
3
15
14
16
5
6
8
17
4
7
13
12
11
9
10