EasyManua.ls Logo

PNY MOBEE - Page 34

PNY MOBEE
44 pages
Print Icon
To Next Page IconTo Next Page
To Next Page IconTo Next Page
To Previous Page IconTo Previous Page
To Previous Page IconTo Previous Page
Loading...
34
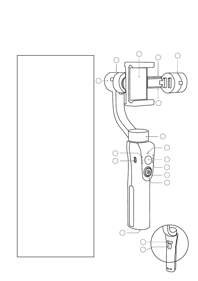
POZNAJ PNY MOBEE
Uchwyt stanowi urządzenie do sterowania z dużą precyzją. Po
uruchomieniu aplikacji zyskasz dostęp do dodatkowych funkcji, takich jak
śledzenie twarzy czy time-lapse, które umożliwią tworzenie profesjonalnej,
jakości nagrań.
1.
Uchwyt na smartfon
2. Mechanizm osi PAN – umożliwia
obracanie gimbala w pozycji
poziomej o 330 stopni
3. Wskaźnik poziomu baterii
4. Joystick
5. Lampka Bluetooth
6.
Wskaźnik trybu pracy
7.
Przycisk funkcyjny (ON/OFF, tryb)
8. Zoom
9. Regulacja uchwytu
10. Mechanizm trybu ROLL – pozwala
na obrót w pozycji pionowej o 180
stopni
11. Śruba do regulacji wyważenia
– pomaga wyważyć ciężar
12. Regulowane ram
13.
Mechanizm trybu TILT – umożliwia
obrót gimbala o 330 stopni w pozycji
poziomej
14. Wyjście USB – do ładowania
smartfona bezpośrednio z
gimbala
15. Port MicroUSB – do ładowania
gimbala
16.
Przycisk migawki – wciśnij raz żeby
zrobić zdjęcie, a dwa razy, aby aparat
powrócił do oryginalnej pozycji
17. Gwint ¼ (do selesticków lub
stojaków)
1
2
3
15
14
16
5
6
8
17
4
7
13
12
11
9
10