EasyManua.ls Logo

PNY MOBEE - Page 39

PNY MOBEE
44 pages
Print Icon
To Next Page IconTo Next Page
To Next Page IconTo Next Page
To Previous Page IconTo Previous Page
To Previous Page IconTo Previous Page
Loading...
39
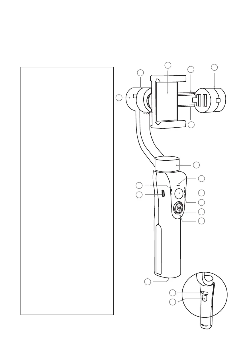
ЗНАКОМСТВОСPNYMOBEE
Стабилизатор — это устройство с высокоточным управлением.
Установите приложение. Оно обеспечит более качественное
отслеживания лица, таймлапс и т. д, что даст вам возможность снять
профессиональное видео.
1.
Зажим для смартфона.
2. Мотор для панорамирования:
позволяет вращать
стабилизатор на 330 градусов
по горизонтали.
3. Индикатор уровня заряда
батареи.
4. Ручка управления.
5. Световой индикатор Bluetooth
6.
Индикатор рабочего режима.
7.
Включение и выключение, или
кнопка выбора режима.
8. Фокусировка.
9. Регулирование рукоятки.
10. Мотор для поворота по
часовой стрелке. позволяет
поворачивать телефон на 160
градусов по вертикали.
11. Балансировочный винт:
поддерживает равновесие.
12. Регулируемый рычаг.
13. Регулятор наклона: позволяет
поворачивать телефон на 330
градусов по горизонтали.
14. Выходной порт питания USB:
позволяет заряжать смартфон
от стабилизатора напрямую.
15. Порт электропитания Micro
USB: позволяет заряжать
стабилизатор.
16.
Кнопка спуска затвора. Для того
чтобы сфотографировать,
нажмите один раз. Для того
чтобы вернуть камеру в исходное
положение, нажмите два раза.
17. Резьбовое отверстие ¼ (для
удлинителей и штативов).
1
2
3
15
14
16
5
6
8
17
4
7
13
12
11
9
10