EasyManua.ls Logo

PNY MOBEE - PNY MOBEE Device Overview; Device Components and Functions

PNY MOBEE
44 pages
Print Icon
To Next Page IconTo Next Page
To Next Page IconTo Next Page
To Previous Page IconTo Previous Page
To Previous Page IconTo Previous Page
Loading...
4
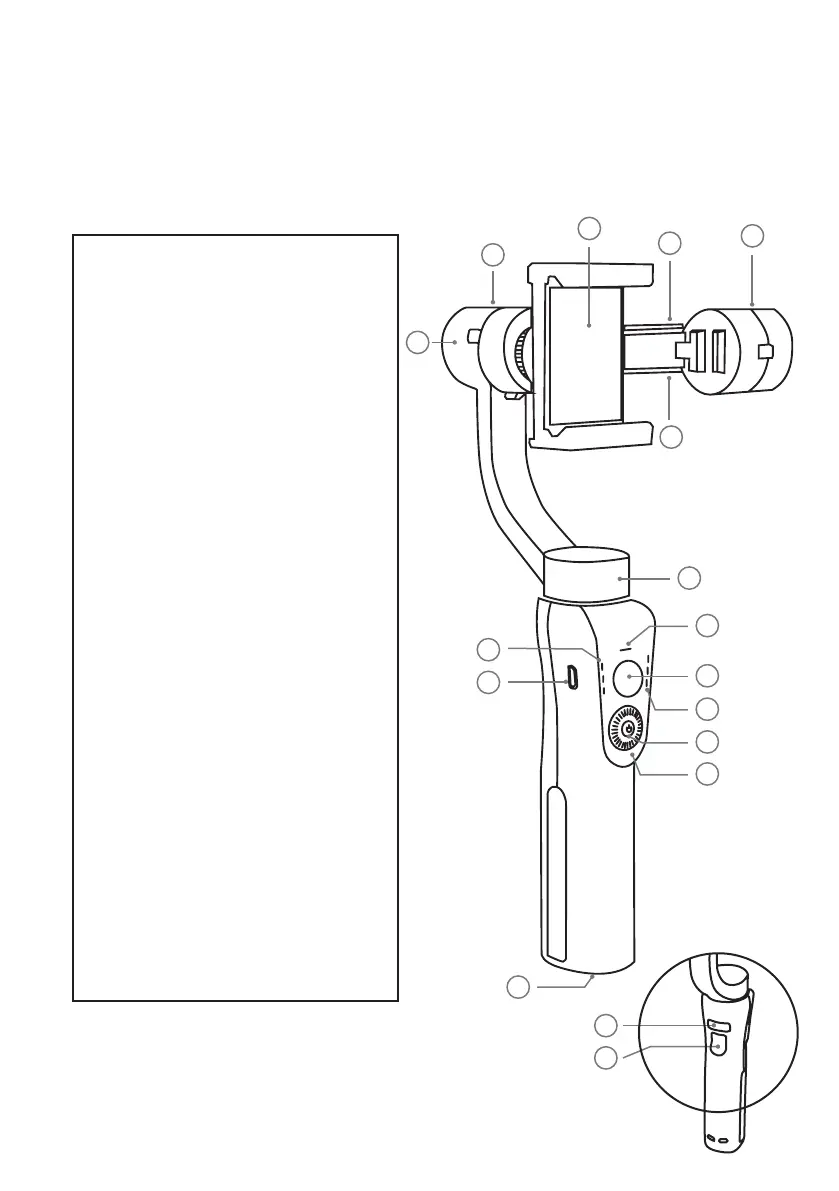
GET TO KNOW PNY MOBEE
The stabilizer is high-precision control device. Connect to APP, it has more
face tracking, time-lapse function, etc. which can offer you professional
grade video.
1. Smartphone Clamp
2. Pan Motor: allows gimbal to rotate
330 degrees horizontally.
3. Battery Level Indicator
4. Joystick
5. Bluetooth Light
6. Operating Mode indicator
7. Power ON/OFF – or Mode Button
8. Zoom control
9. Holder adjustment
10. Roll Motor: to rotate 160 degrees
vertically
11. Balance Screw: helps balancing
the weight
12. Adjustable Arm
13. Tilt Motor: to rotate 330 degrees
horizontally
14. USB Power out: to charge
smartphone directly from Gimbal
15. Micro USB Power port: for Gimbal
charging
16. Shutter Button: Press once to tale
picture, Press 2 times to bring the
camera to its original position
17. 1/4 Thread screw (For extension
poles or tripods)
1
2
3
15
14
16
5
6
8
17
4
7
13
12
11
9
10