EasyManua.ls Logo

PNY MOBEE - Page 9

PNY MOBEE
44 pages
Print Icon
To Next Page IconTo Next Page
To Next Page IconTo Next Page
To Previous Page IconTo Previous Page
To Previous Page IconTo Previous Page
Loading...
9
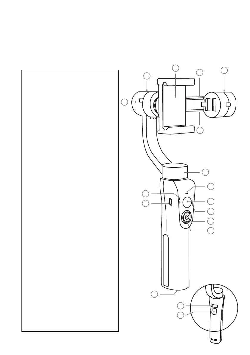
DÉCOUVREZ PNY MOBEE
Ce stabilisateur est un dispositif de commande de haute précision.
Connectez-vous à l’application pour plus de fonctions de suivi du visage,
d’intervalles, etc., qui peuvent vous permettre de réaliser des vidéos de
qualité professionnelle.
1.
Système de xation pour smartphone
2. Moteur panoramique : permet au
cardan de pivoter horizontalement
à 330 degrés
3. Indicateur du niveau de batterie
4. Joystick
5. Voyant Bluetooth
6. Indicateur du mode de fonctionnement
7. Bouton Marche/Art – ou bouton
Mode
8. Contrôle du zoom
9. Réglage du supportt
10. Moteur de roulis : pour pivoter
verticalement à 160 degrés
11. Vis déquilibrage : aide à équilibrer
le poids
12. Bras réglable
13. Moteur d’inclinaison : pour pivoter
horizontalement à 330 degrés
14. Alimentation USB : pour charger
le smartphone directement à
partir du cardan
15. Port dalimentation micro USB :
pour le chargement du cardan
16.
Bouton déclencheur : appuyez une
fois sur ce bouton pour prendre la
photo et deux fois pour que l’appareil
reprenne sa position initiale
17. Vis à letage 1/4 pouce (pour les
perches ou les trépieds)
1
2
3
15
14
16
5
6
8
17
4
7
13
12
11
9
10