EasyManua.ls Logo

point RF33NW23E - Page 47

Default Icon
134 pages
Print Icon
To Next Page IconTo Next Page
To Next Page IconTo Next Page
To Previous Page IconTo Previous Page
To Previous Page IconTo Previous Page
Loading...
47
z
D
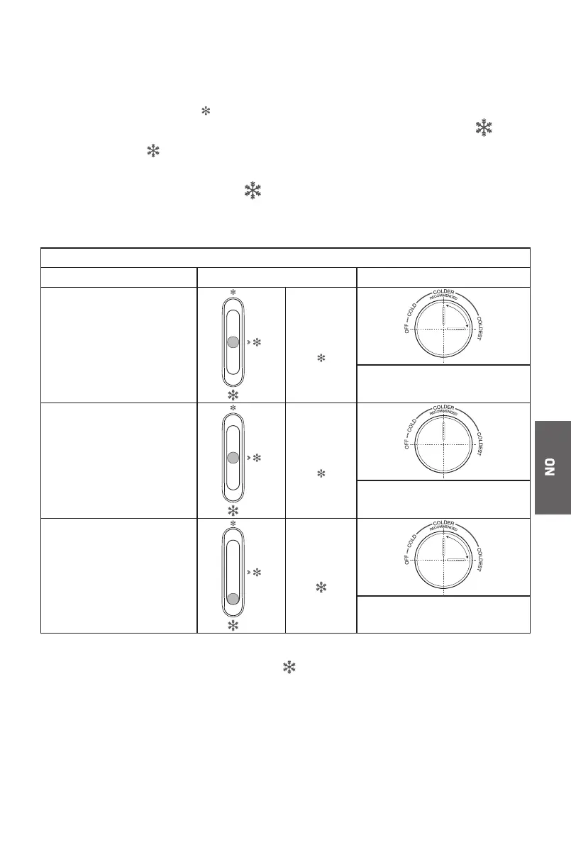
enne bryteren i kjøleskapsrommet brukes til å justere temperaturen i
fryserommet.
z
N
år bryteren er satt til
, v
il temperaturen i fryserommet bli høyere.
Temperaturen i fryserommet blir lavere når bryteren beveges mot
.
z
M
idtstillingen
p
å bryteren anbefales for normal bruk.
z
F
or å få den laveste temperaturen i fryserommet kan du sette til det
kaldeste og sette bryteren til
.
3. A
nbefalt temperaturinnstilling
A
nbefalt temperaturinnstilling
Miljøtemperatur Fryserom Kjøleskapsrom
Sommer
(Over 38 °C)
S
till inn på
S
ett på kaldere–kaldest
Normal
S
till inn på
S
ett på kaldere
Vinter
(Under 16 °C)
S
till inn på
S
ett på kaldere–kaldest
z
I
nformasjonen nevnt over er temperaturinnstillingen vi anbefaler.
z
F
or å spare strøm bør innstillingene
o
g kaldest kun brukes ved spesielle
behov (for eksempel hurtigfrysing eller å lage isbiter), og bør settes tilbake
etterpå.

Related product manuals