EasyManua.ls Logo

Power Dynamics PD800 - Page 8

Power Dynamics PD800
28 pages
Print Icon
To Next Page IconTo Next Page
To Next Page IconTo Next Page
To Previous Page IconTo Previous Page
To Previous Page IconTo Previous Page
Loading...
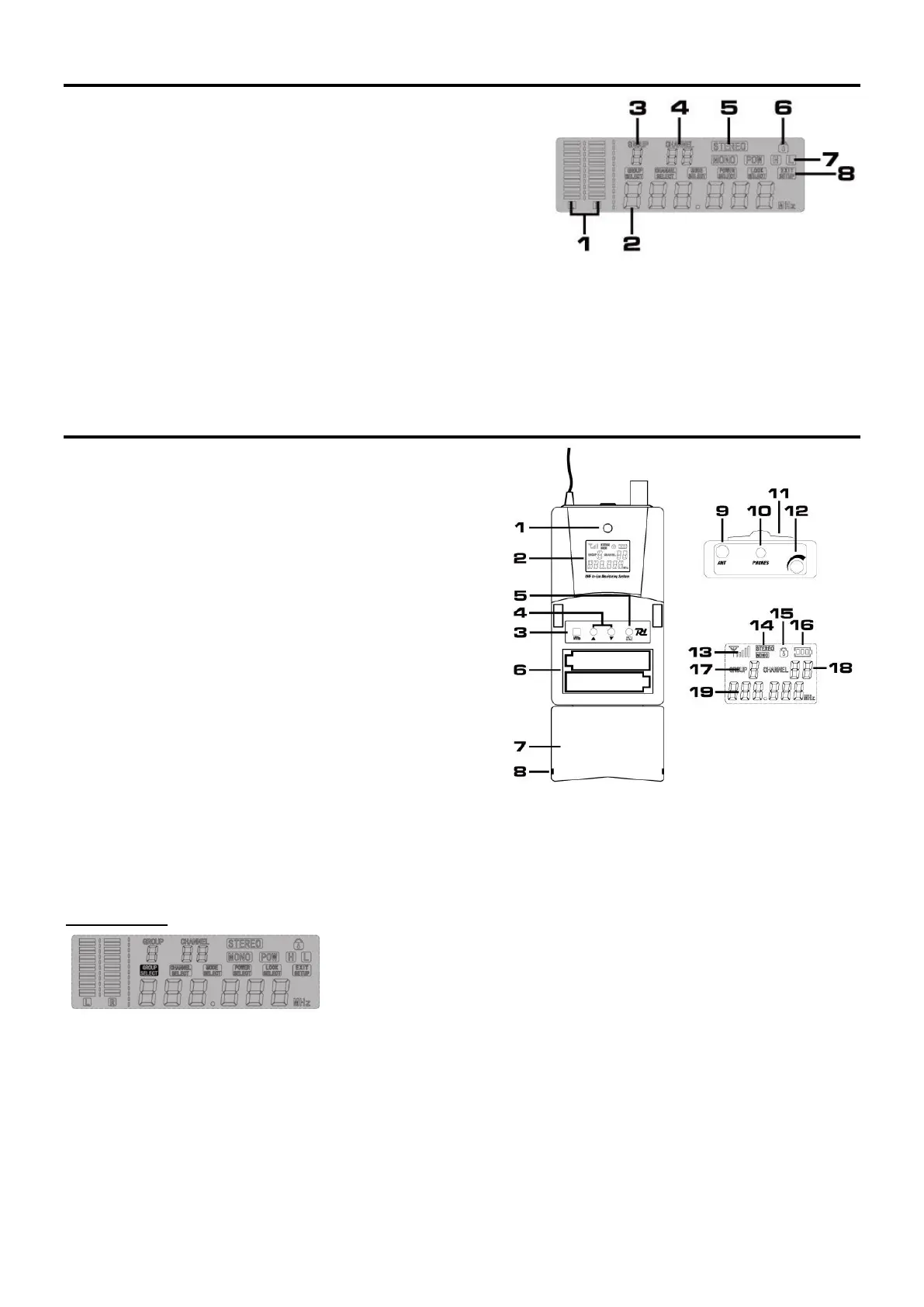
8
DISPLAY
1. Links / Rechts AF-signaalpictogram
2. Frequentie
Dit zes-karakter display wordt gebruikt om de frequentie weer te
geven.
3. Groep weergave
Weergave van de gekozen frequentiegroep voor de PD800
zender.
4. Kanaal weergave
Weergave van gekozen frequentie kanaal voor de PD800
zender.
5. Audiomodus weergave
Weergave van Mono of Stereo audio-modus.
6. Vergrendelpictogram
Het vergrendelpictogram geeft weer of modus is in of uitgeschakeld. Wanneer de vergrendelfunctie is ingeschakeld,
wordt de PD800 zender vergrendeld in het menu.
7. Zendvermogen modus
8. Menupictogrammen
De menupictogrammen bevatten de volgende functies: groep selecteren, kanaal selecteren, modus selecteren, stroom
selecteren, vergrendelen selecteren, exit setup.
ONTVANGER
1. LED Indicator
2. LCD display
3. Infrarood signaal scherm
4. Omhoog / Omlaag toets
5. Set / Sync toets
6. Batterij compartiment (2x AA batterij)
7. Batterij compartiment deksel
8. Vergrendel / Open toets
9. Antenne
10. Oortelefoon aansluiting
11. Riemhouder
12. Aan/uit schakelaar en volumereglaar
13. RF signal indicator
14. Audiomodus
Weergave van Mono of Stereo audio-modus.
15. Vergrendelpictogram
Het vergrendelpictogram geeft weer of modus is in of
uitgeschakeld.
16. Batterij niveau indicatie
Wanneer het batterijvermogen lager is dan een vooraf
bepaald niveau, begint deze batterijmeter te knipperen en
moeten de batterijen onmiddellijk worden vervangen.
17. Groep weergave
Weergave van de gekozen frequentiegroep voor de PD800 ontvanger.
18. Kanaal weergave
Weergave van gekozen frequentie kanaal voor de PD800 ontvanger.
19. Frequentie
Dit zes-karakter display wordt gebruikt om de frequentie weer te geven.
Groep instellen
1. Het pictogram "GROEP SELECT" wordt gebruikt om de frequentiegroep van de zender aan te passen.
2. Druk in het hoofdmenu op de knop "SET" ga naar het pictogram "GROUP SELECT".
3. Wanneer het pictogram "GROEP SELECT" wordt weergegeven, drukt u op de knop "UP" om het groepsnummer te
verhogen of op de knop "DOWN" om het groepsnummer te verlagen. Wanneer de "UP"/"DOWN"-knop langdurig wordt
ingedrukt, wordt het groepsnummer snel verhoogd / verlaagd tot de knop wordt losgelaten. Wanneer de boven- /
ondergrens van de frequentiegroep is bereikt, zal de frequentiegroep teruggaan naar de onder- / bovengrens en verder
oplopen / afnemen.
4. Zodra u gewenste instelling heeft bereikt, drukt u op de knop "SET" om het op te slaan en naar het volgende menu te
gaan, indien er binnen 5 seconden een handeling moet worden uitgevoerd, zal de ontvanger de hoofdstatus verlaten.
Als u op de "POWER" toets drukt, verlaat u het menu zonder instelling opslaan.