EasyManua.ls Logo

Premium PRN348HS - Page 17

Premium PRN348HS
33 pages
Print Icon
To Next Page IconTo Next Page
To Next Page IconTo Next Page
To Previous Page IconTo Previous Page
To Previous Page IconTo Previous Page
Loading...
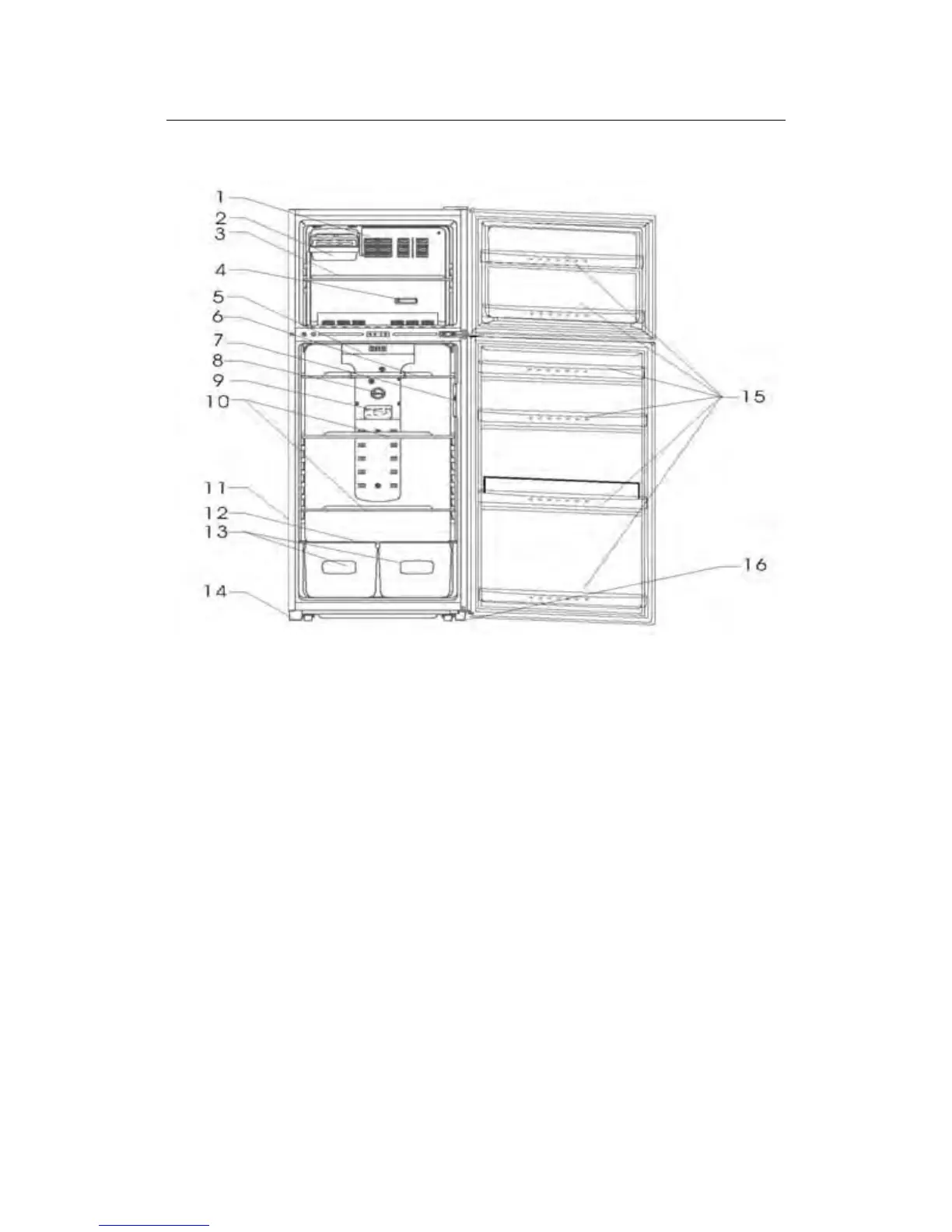
1. Descripción del refrigerador
1. Cubierta de la ventila 10. Estante “B” del refrigerador
2. Cubeta de hielo 11. Panel lateral
3. Estante del congelador 12. Cubierta del cajón de vegetales
4. Regulador de la temperatura del congelador 13. Cajón de vegetales
5. Control 14. Patas para ajustar la altura
6. Estante “A” del refrigerador 15. Estantes de las puertas
7. Interruptor de la luz del refrigerador 16. Pie frontal
8. Perilla de ajuste
9. Cubierta de la bombilla
Nota:
Debido a mejorías en nuestros productos, el electrodoméstico puede ser
ligeramente diferente al que aparece en este manual de instrucciones pero las funciones y
método de uso son iguales.
Compartimiento de refrigeración
El compartimiento de refrigeración se usa para guardar alimentos descongelados. La
temperatura en cada una de las secciones del compartimiento de refrigeración es diferente
con el fin de alojar diferentes tipos de alimentos. Por favor ver el siguiente diagrama:

Related product manuals