EasyManua.ls Logo

Premium PRN348HS - Shelving in Refrigerator Chamber; Vegetable Crisper; Cover of Crisper; Door Shelf

Premium PRN348HS
33 pages
Print Icon
To Next Page IconTo Next Page
To Next Page IconTo Next Page
To Previous Page IconTo Previous Page
To Previous Page IconTo Previous Page
Loading...
2
Part: it is suitable for storing small bottle and eggs, etc.
Part: it is suitable for storing butter and cheese, etc.
Part: it is suitable for storing bottle liquid
and canned food, etc.
Part: it is suitable for storing cake,
cooked-food and milk products, etc.
Part: it is suitable for storing sweetmeats
and canned food, etc.
Part: it is suitable for storing fruits, vegetable
and salad, etc.
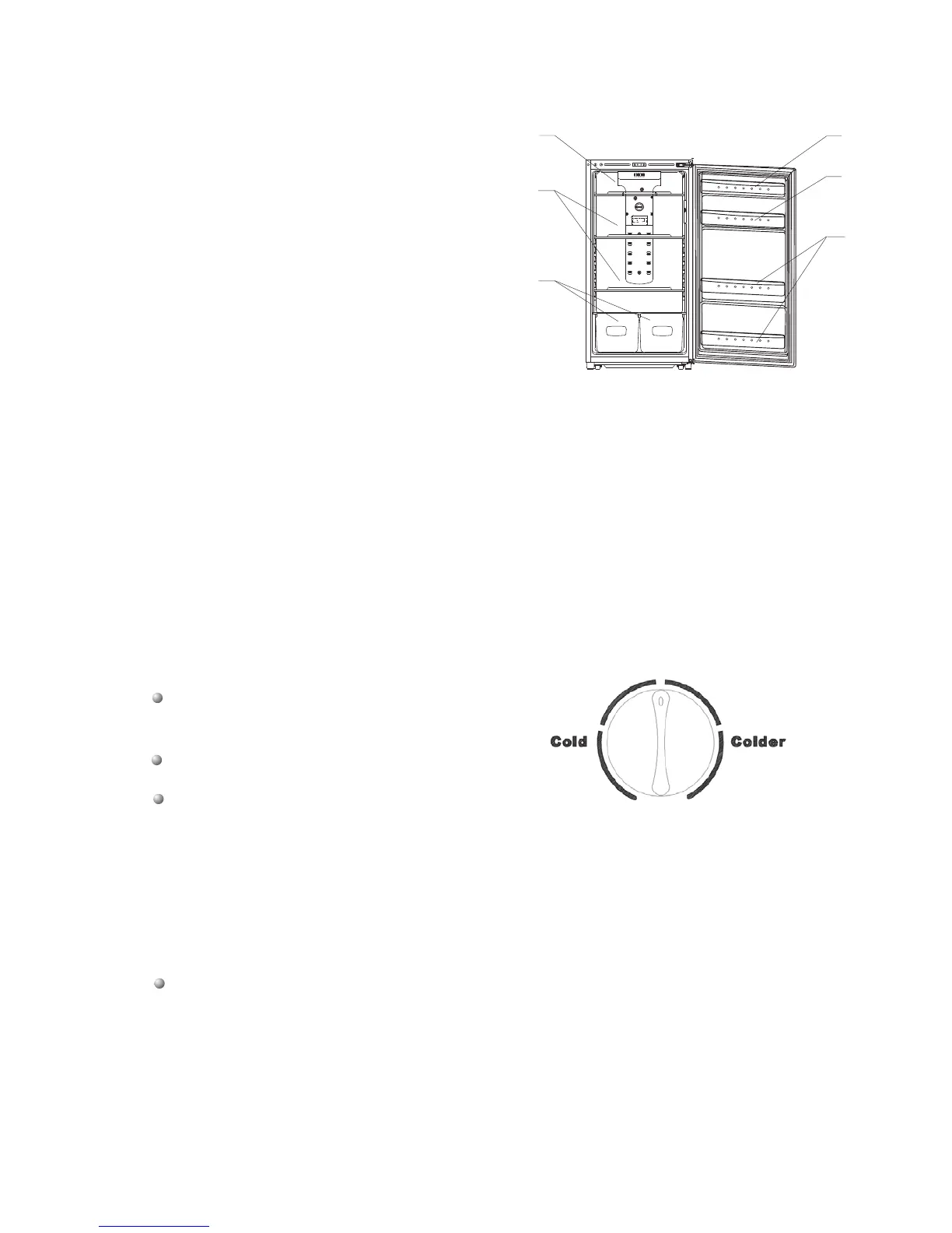
Shelf of refrigerator chamber
There are three adjustable shelves in refrigerator chamber, and they can be taken out to be cleaned.
Vegetable crisper
It is suitable for storage of fruits and vegetable.
Cover of crisper
It is for controlling the temperature of the vegetable drawer and avoiding the vegetable losing moisture.
Door shelf
It is suitable for storage of egg, canned liquid, bottled liquid and packed food, etc. Before you
take the food out, please lift up the door shelf vertically, and do not place too many heavy things in the shelf.
Temperature regulator in Refrigerator Chamber
Insufficient refrigeration in chamber.
Set the temperature controller at by "COLDER".
Using the refrigerator in normal condition.
Set the temperature controller knob vertically or
vertical position by "COLD".
You can choose the position according
to different ambient temperature in different seasons.
In spring and autumn: set the temperature controller knob vertically.
In autumn: vertical position;
In summer: vertical position;
In winter: set the temperature controller knob vertically or vertical position by "COLDER".
Less fresh food in chamber
Set the temperature controller knob by "COLD".
1
4
2
5
3
6

Related product manuals