EasyManua.ls Logo

Procom SN400TYLA - Page 20

Procom SN400TYLA
23 pages
Print Icon
To Next Page IconTo Next Page
To Next Page IconTo Next Page
To Previous Page IconTo Previous Page
To Previous Page IconTo Previous Page
Loading...
20
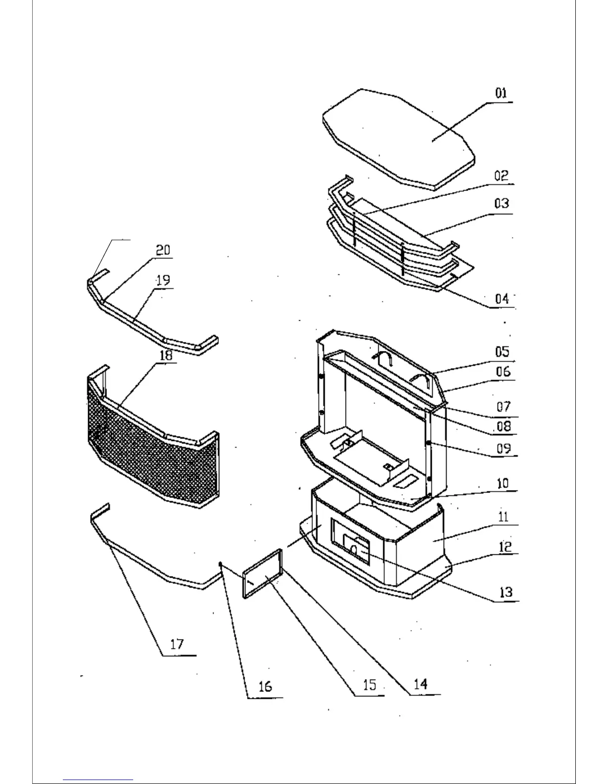
ILLUSTRATED
PARTS BREAKDOWN
SN400TYLA
SL400TYLA
21