EasyManua.ls Logo

Proctor-Silex 43686 - Parts and Features; Component Identification and Controls; How to Make Coffee; Brewing Process and Guidance

Proctor-Silex 43686
5 pages
Print Icon
To Next Page IconTo Next Page
To Next Page IconTo Next Page
To Previous Page IconTo Previous Page
To Previous Page IconTo Previous Page
Loading...
Care and Cleaning
1. Unplug Coffee Maker.
2. Carafe, Filter Basket, and Lid are
dishwasher-safe, or wash in hot, soapy
water. Rinse and dry.
3. Wipe outside with a soft damp cloth and
dry. Do not use abrasive cleaners, as
they will scratch finish of product.
NOTE: Clock models will display CLEAN
to let you know it is time to clean your
Coffee Maker.
Monthly Cleaning
1. Plug in Coffee Maker.
2. Follow “How to Make Coffee,” adding
1 cup (237 ml) of plain white vinegar
instead of water to water reservoir for
one brew cycle.
NOTE: Do not add coffee or a filter in
“How to Make Coffee” steps.
3. Press BREW (/ ) Button to start. After
30 seconds, press BREW ( / ) Button to
turn off. Wait 30 minutes to allow vinegar
to clean. Then press BREW ( / ) Button
again to turn Coffee Maker off. When
finished, let cool. Follow steps 4 and 5.
4. Empty Carafe and rinse. Open Water Fill
Lid. Pour desired amount of water into
water reservoir. Place Carafe on Warming
Plate. Close Water Fill Lid.
5. Press BREW (/ ) Button to turn on.
When brew cycle is complete, empty
Carafe and press BREW ( / ) Button to
turn off. Allow to cool, then repeat with
one more carafe of cold water.
6. Press OFF ( ) Button after brewing or
coffee Maker will automatically shut off
after 2 hours.
Limited Warranty
This warranty applies to products purchased
and used in the U.S. and Canada. This is the
only express warranty for this product and
is in lieu of any other warranty or condition.
This product is warranted to be free from
defects in material and workmanship for
a period of three (3) years from the date
of original purchase. During this period,
your exclusive remedy is replacement of
this product or any component found to
be defective, at our option; however, you
are responsible for all costs associated
with our returning a product or component
under this warranty to you. If the product or
component is unavailable, we will replace
with a similar one of equal or greater value.
This warranty does not cover glass, filters,
wear from normal use, use not in conformity
with the printed directions, or damage to the
product resulting from accident, alteration,
abuse, or misuse. This warranty extends
only to the original consumer purchaser or
gift recipient. Keep the original sales receipt,
as proof of purchase is required to make a
warranty claim. This warranty is void if the
product is used for other than single-family
household use or subjected to any voltage
and waveform other than as specified on the
rating label (e.g., 120 V ~ 60 Hz).
We exclude all claims for special, incidental,
and consequential damages caused by
breach of express or implied warranty.
All liability is limited to the amount of the
purchase price. Every implied warranty,
including any statutory warranty or
condition of merchantability or fitness for
a particular purpose, is disclaimed except
to the extent prohibited by law, in which
case such warranty or condition is limited
to the duration of this written warranty.
This warranty gives you specific legal rights.
You may have other legal rights that vary
depending on where you live. Some states
or provinces do not allow limitations on
implied warranties or special, incidental, or
consequential damages, so the foregoing
limitations may not apply to you.
To make warranty claim, do not return this
appliance to the store. Please write Hamilton
Beach Brands, Inc., Customer Service
Department, 4421 Waterfront Dr., Glen
Allen, VA 23060, or visit proctorsilex.com/
customer-service in the U.S. or proctorsilex.
ca/customer-service in Canada. For faster
service, locate the model, type, and series
numbers on your appliance.
IMPORTANT SAFEGUARDS
When using electrical appliances, basic safety precautions should always be followed to
reduce the risk of fire, electric shock, and/or injury to persons, including the following:
1. Read all instructions.
2. This appliance is not intended for use by
persons (including children) with reduced
physical, sensory, or mental capabilities,
or lack of experience and knowledge,
unless they are closely supervised
and instructed concerning use of the
appliance by a person responsible for
their safety.
3. Close supervision is necessary when any
appliance is used by or near children.
Cleaning and user maintenance shall not
be made by children without supervision.
Children should be supervised to ensure
that they do not play with the appliance.
4. Do not touch hot surfaces. Use handles
or knobs. Care must be taken, as burns
can occur from touching hot parts or
from spilled, hot liquid.
5. To protect against electric shock, do not
place cord, plug or coffee maker in water
or other liquid.
6. Unplug from outlet when either the
coffee maker or clock is not in use and
before cleaning. Allow to cool before
putting on or taking off parts and before
cleaning the appliance.
7. Coffee maker must be operated on a flat
surface away from the edge of counter to
prevent accidental tipping.
8. The use of accessory attachments
not recommended by the appliance
manufacturer may cause injuries.
9. Do not operate any appliance with a
damaged supply cord or plug, or after
the appliance malfunctions or has been
dropped or damaged in any manner.
Supply cord replacement and repairs
must be conducted by the manufacturer,
its service agent, or similarly qualified
persons in order to avoid a hazard.
Contact Customer Service for information
on examination, repair, or adjustment as
set forth in the Limited Warranty.
10. Use only the carafe provided with the
appliance.
11. Do not use outdoors.
12. Do not let cord hang over edge of
table or counter or touch hot surfaces,
including the stove.
13. The carafe is designed for use with this
coffee maker. It must never be used on a
range top or in a microwave oven.
14. Do not set hot carafe on a wet or cold
surface.
15. Do not use a cracked carafe or one with
a loose or weakened handle.
16. Do not clean carafe with cleansers, steel
wool pads, or other abrasive materials.
17. Be certain carafe lid is securely in place
during brew cycle and when pouring
coffee. Do not use force when placing lid
on carafe.
18. Do not place coffee maker on or near a
hot gas or electric burner or in a heated
oven.
19. To disconnect coffee maker, turn controls
to OFF ( ) and then remove plug from
wall outlet.
20. WARNING! To reduce the risk of fire
or electric shock, do not remove the
bottom cover. No user-serviceable parts
are inside. Repair should be done by
authorized service personnel only.
21. Do not use appliance for other than
intended use.
22. Warming plate may remain hot after the
coffee maker is turned off.
23. Do not place coffee maker in a cabinet
when in use.
24. Scalding may occur if the filter basket is
opened during the brewing cycles.
SAVE THESE INSTRUCTIONS
Other Consumer Safety Information
This appliance is intended for household use only.
w
WARNING
Electrical Shock Hazard:
This product is provided with a polarized
plug (one wide blade) to reduce the risk of
electric shock. The plug fits only one way
into a polarized outlet. Do not defeat the
safety purpose of the plug by modifying
the plug in any way or by using an adapter.
If the plug does not fit fully into the outlet,
reverse the plug. If it still does not fit, have
an electrician replace the outlet.
The length of the cord used on this
appliance was selected to reduce the
hazards of becoming tangled in or tripping
over a longer cord. If a longer cord is
necessary, an approved extension cord
may be used. The electrical rating of the
extension cord must be equal to or greater
than the rating of the appliance. Care must
be taken to arrange the extension cord so
that it will not drape over the countertop
or tabletop where it can be pulled on by
children or accidentally tripped over.
Carafe Safety Tips
This symbol alerts you to the potential danger for personal injury if you fail to read
and follow these safety precautions.
This symbol reminds you that glass is fragile and can break, which could result in
personal injury.
• Do not use a cracked carafe or a carafe
having a loose or weakened handle.
• This carafe is designed to be used
only on the warming plate of your
coffee maker. Do not use on a gas or
electric rangetop, or in a microwave or
conventional oven.
• To avoid breakage, handle carafe with
care. Avoid impact. Glass will break as
a result of impact. Use care when filling
with water to avoid hitting faucet.
• Do not place hot carafe on cool or wet
surface. Allow to cool before washing or
adding liquids.
• Do not set empty carafe on a hot heating
surface.
• Do not clean with steel wool pads,
abrasive cleanser, or any other materials
that may scratch.
• Do not place hands inside carafe. When
handling, be careful if wearing any
hand jewelry, especially diamond rings.
Jewelry can scratch the glass, which
increases possibility of breakage.
• Do not bump, scratch, or boil dry.
• Discard carafe if it is cracked, scratched,
or heated while empty for an extended
period of time.
• To avoid accidents, do not pour in the
direction of people.
• If stirring in the carafe, use only wooden,
plastic, or rubber utensils. Do not use
metal utensils.
• Follow the above safety precautions
carefully to avoid serious burn injuries
which may result if breakage occurs while
carafe holds heated liquids.
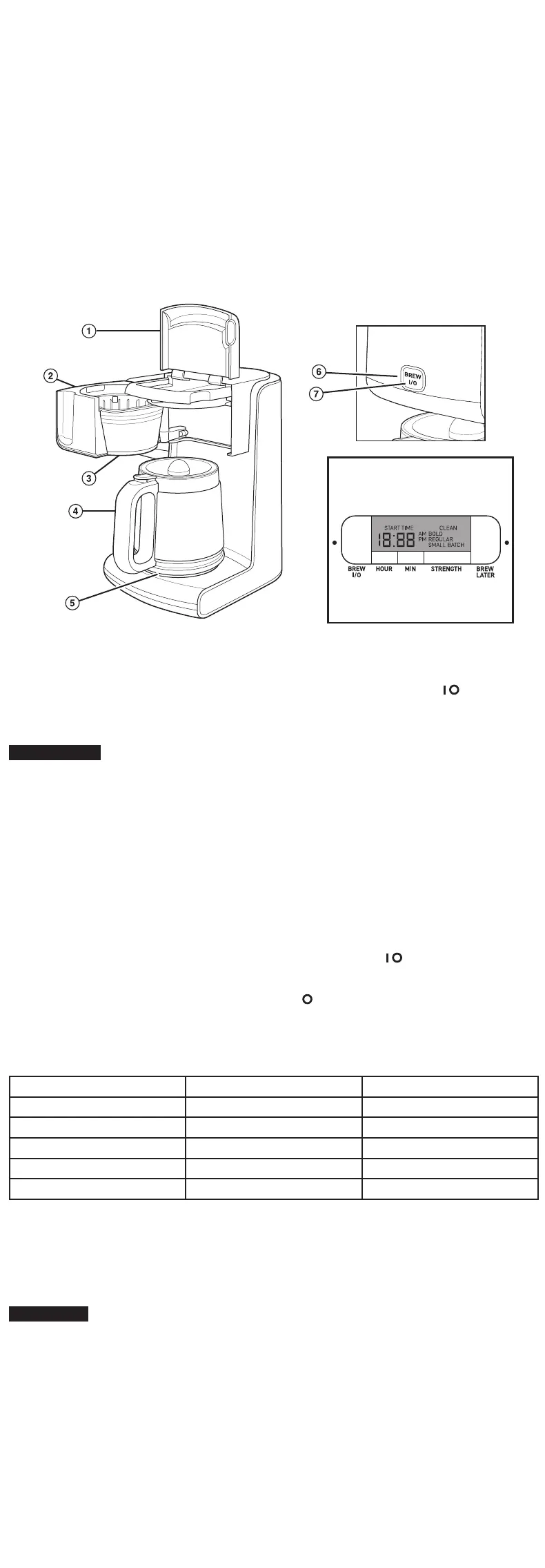
Parts and Features
1. Water Fill Lid
2. Swing-Out Brew Basket
3. Filter Basket
4. Carafe
5. Warming Plate
6. Brewing Indicator Light
7. ON/OFF ( / ) BREW
Button
How to Make Coffee
w WARNING
Burn Hazard. If filter basket overflow occurs, unplug coffee maker and
allow coffee in filter basket to cool before removing filter basket. To avoid hot coffee
overflowing from the filter basket:
• When using decaffeinated coffee, do not exceed the coffee manufacturer’s recommended
serving amount.
• The carafe must be replaced within 20 seconds of being removed to prevent overflow.
Before first use: Clean Coffee Maker by following steps in “Care and Cleaning.”
1. Place a 8–12 cup basket style paper filter
in Filter Basket. Ensure Filter Basket is
fully inserted into Brew Basket.
2. Add desired amount of ground coffee
to paper filter. Use one level tablespoon
ground coffee for each cup.
3. Push Brew Basket counterclockwise to
close, and ensure it clicks into place. Do
not open until brewing cycle is complete
and unit is cool.
4. Fill Carafe with desired amount of water.
Lift Water Fill Lid and slowly pour water
into reservoir. Do not fill above maximum
mark on reservoir.
5. Close Water Fill Lid.
6. Place Carafe, with lid attached, on
Warming Plate.
7. Press ON/OFF (/ ) BREW Button to
start brewing and Brewing Indicator
Light will illuminate white. Press OFF
( ) Button after brewing or Coffee Maker
will automatically shut off after 2 hours.
Brewing Chart
• Measurements are based on a 5 oz. (148 ml) cup of coffee.
• These measurements will vary based on type of coffee used.
Cups of Coffee to Make* Water Needed to Brew Ground Coffee Needed
12 60 oz. (1774 ml) 12 tbsp. (60 g)
10 50 oz. (1478 ml) 10 tbsp. (50 g)
8 40 oz. (1183 ml) 8 tbsp. (40 g)
6 30 oz. (887 ml) 6 tbsp. (30 g)
4 20 oz. (591 ml) 4 tbsp. (20 g)
*1 standard cup of coffee = 5 oz. (148 ml)
Features
Pause ’N Serve
This feature allows you to pour a cup of coffee before entire brew cycle has completed.
By removing Carafe, flow of coffee will temporarily stop. Flow of coffee will resume when
Carafe is returned to Warming Plate.
w
WARNING
Burn Hazard. Return carafe to base within 20 seconds. Hot water continues
to flow into filter basket when this feature is used. Overflowing coffee and hot water are a
burn hazard.
Digital clock (on select models)
To set clock:
1. Plug in Coffee Maker. 2. To set time of day, pulse HOUR button
until desired hour is set in AM or PM.
Pulse MIN button until desired minutes
are set.
How to program BREW LATER (on select models)
1. Make sure clock is set for correct time of
day.
2. Fill Coffee Maker with desired amount of
water and coffee. Place Carafe with lid on
Warming Plate. Close Water Fill Lid.
3. While holding BREW LATER button, pulse
HOUR button to set desired brewing hour
in AM or PM. Then, pulse MIN button
to increase to set minutes. Set time will
display. Release BREW LATER button and
current time is displayed.
4. Press and release BREW LATER button
again to activate automatic brew. BREW
LATER light will come on.
Read before use.
Lire avant utilisation.
Lea antes de usar.
Recipes, tips, product
information and
registration:
proctorsilex.com
Recettes, des conseils,
des renseignements sur le
produit et l’enregistrement :
proctorsilex.ca
Recetas, consejos,
informaciĂłn del producto
y registro:
proctorsilex.com.mx
Le invitamos a leer cuidadosamente este instructivo antes de usar su aparato.
ENTER TO WIN $100 TO SPEND
ON WEBSITE
Visit register.proctorsilex.com
PARTICIPEZ POUR COURIR
LA CHANCE DE GAGNER UN
MONTANT DE 100 $ À DÉPENSER
SUR NOTRE SITE WEB
Visitez le register.proctorsilex.ca
INGRESE PARA TENER LA
OPORTUNIDAD DE GANAR $100
PARA GASTAR EN NUESTRO
SITIO WEB
Visite register.proctorsilex.com.mx
Open to US customers only • Ce concours s’adresse aux clients
des États-Unis seulement • Este concurso está disponible solo a
clientes de los Estados Unidos
12 Cup Coffee Maker
Cafetière 12 tasses
Cafetera de 12 tazas
Control Panel
(on select models)
To order parts, visit:
proctorsilex.com/parts
proctorsilex.ca/parts
PRÉCAUTIONS IMPORTANTES
Pour utiliser un appareil électroménager, vous devez toujours prendre des mesures
élémentaires de sécurité pour réduire le risque d’incendie, d’électrocution et/ou de blessure
corporelle, en particulier les mesures suivantes :
1. Lire toutes les instructions.
2. Cet appareil n’est pas destiné à être utilisé
par des personnes (y compris les enfants)
dont les capacités physiques, sensorielles
ou mentales sont réduites, ou manquant
d’expérience et de connaissance, sauf
si elles sont étroitement surveillées et
instruites sur l’utilisation de l’appareil
par une personne responsable de leur
sécurité.
3. Une surveillance étroite est requise
pour tout appareil utilisé par ou près
des enfants. Le nettoyage et l’entretien
ne doit pas fait par des enfants Ă  moins
d’être sous supervision. Surveiller que les
enfants ne jouent pas avec l’appareil.
4. Ne pas toucher les surfaces chaudes.
Utiliser les poignées ou les boutons.
Prendre toutes les précautions
nécessaires pour éviter les risques de
brûlures occasionnés par les surfaces
chaudes, les déversements de liquides
chauds.
5. Pour protéger contre le choc électrique,
ne pas placer le cordon, la fiche ou la
cafetière dans l’eau ou autre liquide.
6. Débrancher l’appareil de la prise de
courant lorsque la cafetière n’est pas
utilisée et avant le nettoyage. Laisser
refroidir l’appareil avant de placer ou de
retirer des pièces, et avant de le nettoyer.
7. Toujours placer la cafetière sur une
surface plane et loin des bords de
comptoir pour éviter le basculement
accidentel lors de son fonctionnement.
8. L’utilisation d’accessoires non
recommandés par le fabricant
d’électroménagers peut causer des
blessures.
9. Ne pas faire fonctionner un appareil
électroménager avec un cordon ou
une fiche endommagée, ou lorsque
l’appareil ne fonctionne pas bien ou
a été échappé ou endommagé d’une
manière quelconque. Le remplacement
et la réparation du cordon d’alimentation
doivent ĂŞtre faits par le fabricant, son
agent de service ou toute personne
qualifiée de façon à éviter tout danger.
Veuillez communiquer avec le service Ă 
la clientèle pour obtenir de l’information
concernant l’inspection, la réparation
ou le réglage, comme précisé dans la
garantie limitée.
10. Utiliser uniquement la verseuse à café
fournie avec cet appareil.
11. Ne pas utiliser à l’extérieur.
12. Ne pas laisser pendre le cordon de la
table ou du comptoir et éviter tout contact
avec les surfaces chaudes incluant la
cuisinière.
13. La verseuse à café est conçue
exclusivement pour cette cafetière. Elle ne
doit jamais être utilisée sur une table de
cuisson ou dans un four Ă  micro-ondes.
14. Ne pas placer la verseuse à café chaude
sur une surface mouillée ou froide.
15. Ne pas utiliser une verseuse à café
fissurée ou avec une poignée lâche
ou usée.
16. Ne pas nettoyer la verseuse à café avec
de la poudre Ă  nettoyer, des tampons
métalliques ou autres matériaux abrasifs.
17. S’assurer que le couvercle de la verseuse
à café est bien fixé pendant le cycle
d’infusion et au moment de verser le
café. Ne pas utiliser la force pour fixer
le couvercle de la verseuse à café.
18. Ne pas placer sur ou près d’un brûleur
chaud à gaz ou électrique ou dans un four
chaud.
19. Pour débrancher la cafetière, tourner les
boutons de réglage à OFF ( /arrêt) puis
débrancher la fiche de la prise murale.
20. AVERTISSEMENT ! Pour réduire le risque
d’incendie ou de choc électrique, ne
pas enlever le dessous de la cafetière.
Aucune pièce réparable à l’intérieur.
Les réparations doivent être faites par
un technicien agréé seulement.
21. Ne pas utiliser cet appareil pour un autre
usage que celui auquel il est destiné.
22. La plaque chauffante peut ĂŞtre encore
chaude même si la cafetière est éteinte.
23. Ne pas ranger la cafetière dans une
armoire lors de l’utilisation.
24. Il y a un risque de brûlure si le
panier-filtre est ouvert durant les cycles
d’infusion.
CONSERVER CES INSTRUCTIONS
Autres consignes de sécurité pour le consommateur
Cet appareil est destiné à un usage domestique uniquement.
w
AVERTISSEMENT
Risque de choc
électrique : Cet appareil est fourni avec
une fiche polarisée (une broche large) pour
réduire le risque d’électrocution. Cette fiche
n’entre que dans un seul sens dans une
prise polarisée. Ne contrecarrez pas l’objectif
sécuritaire de cette fiche en la modifiant de
quelque manière que ce soit ou en utilisant
un adaptateur. Si vous ne pouvez pas insérer
complètement la fiche dans la prise, inversez
la fiche. Si elle refuse toujours de s’insérer,
faire remplacer la prise par un électricien.
La longueur du cordon installé sur
cet appareil a été sélectionnée afin de
réduire les risques d’enchevêtrement ou
de faux pas causés par un fil trop long.
L’utilisation d’une rallonge approuvée est
permise si le cordon est trop court. Les
caractéristiques électriques de la rallonge
doivent être équivalentes ou supérieures aux
caractéristiques de l’appareil. Prendre toutes
les précautions nécessaires pour installer
la rallonge de manière à ne pas la faire
courir sur le comptoir ou sur une table pour
éviter qu’un enfant ne tire sur le cordon ou
trébuche accidentellement.
Conseils de sécurité pour la verseuse
Ce symbole vous indique les dangers possibles de blessures corporelles si vous
omettez de lire et de suivre ces précautions de sécurité.
Ce symbole vous rappelle que le verre est fragile et qu’une brisure peut entraîner
des blessures corporelles.
• N’utiliser pas une verseuse fêlée ou dont
la poignée est desserrée.
• Cette verseuse est conçue pour être
utilisée uniquement sur la plaque
chauffante de votre cafetière. Éviter de
la faire fonctionner sur le dessus d’une
cuisinière électrique ou à gaz, ou dans
un four Ă  micro-ondes ou conventionnel.
• Pour éviter de la briser, manipuler la
verseuse avec soin. Éviter tout impact car
le verre cassera. Lorsque vous la remplir
d’eau, agir avec précaution pour éviter
de heurter un robinet.
• Ne placer pas la verseuse chaude sur
une surface froide ou humide. Laisser-la
refroidir avant de la nettoyer ou d’y verser
un liquide.
• Ne laisser pas une verseuse vide sur une
surface chauffante.
• Éviter de nettoyer la verseuse avec des
produits qui égratignent comme les
tampons en laine d’acier ou les produits
nettoyants abrasifs.
• N’insérer pas les mains dans la verseuse.
Manipuler celle-ci avec soin si vous
porter des bijoux, particulièrement des
bagues avec diamants. Les bijoux peuvent
égratigner le verre, ce qui augmente la
possibilité de casse.
• Éviter de heurter, d’égratigner la cafetière
ou de laisser l’eau s’évaporer entièrement.
• Jeter immédiatement la verseuse lorsque
celle-ci est craquelée, égratignée, ou
chauffée à vide durant une longue
période.
• Afin d’éviter les accidents, ne verser pas
le liquide en faisant face aux gens.
• Pour remuer le liquide dans la verseuse,
n’utiliser que des ustensiles en plastique,
en bois ou en caoutchouc. N’utiliser pas
d’ustensiles en métal.
• Veuiller suivre à la lettre ces précautions
de sécurité pour éviter toute brûlure grave
qui pourrait être causée par le bris d’une
verseuse remplie de liquide chaud.
Pièces et caractéristiques
1. Couvercle d’eau
2. Panier-filtre pivotant
3. Panier-filtre
4. Verseuse
5. Plaque chauffante
6. Témoin d’infusion
7. Bouton d’infusion ON/OFF
( / ) [marche/arrĂŞt])
Panneau de commandes
(en certains modèles)
Pour commander des pièces, visiter :
proctorsilex.ca/parts
Préparation du café
w
AVERTISSEMENT
Risque de brûlures
. Si du café déborde du panier du filtre,
débrancher la cafetière et laisser le café se trouvant dans le panier du filtre refrodir avant
de retirer le panier du filtre. Pour éviter que le café chaud ne déborde du panier-filtre:
• Lors de l’utilisation d’un café décaféiné, ne dépasser pas les quantités recommandées par
le fabricant de café.
• La verseuse doit être remise en place dans les 20 secondes après avoir été retirée pour
empêcher tout débordement.
Avant la première utilisation : Nettoyer la cafetière en suivant les étapes énumérées au
chapitre « Entretien et nettoyage ».
1. Déposer un filtre en papier de type panier
de 8 Ă  12 tasses dans le panier-filtre.
Veuillez vous assurer que le panier-filtre
est bien inséré.
2. Ajouter la quantité désirée de café moulu
dans le filtre en papier. Utiliser une
cuillère à table de café moulu par tasse à
infuser.
3. Pousser le panier pour infusion dans
le sens antihoraire pour fermer, en
vous assurant qu’il s’enclenche bien en
place. Ne pas ouvrir avant que le cycle
d’infusion soit terminé et que l’appareil
ait refroidi.
4. Remplir la verseuse avec la quantité
d’eau désirée. Soulever le couvercle du
réservoir et verser lentement l’eau dans
le réservoir. Ne pas remplir au-delà de la
ligne de remplissage maximum indiquée
sur le réservoir.
5. Fermer le couvercle d’eau.
6. Placer la verseuse avec son couvercle
installé sur la plaque chauffante.
7. Appuyer sur le bouton d’infusion
ON/OFF ( / [marche/arrĂŞt]) pour
démarrer l’infusion et le témoin d’infusion
s’allumera en blanc. Appuyer sur le
bouton OFF ( /arrêt) pour éteindre ou
la cafetière s’éteindra automatiquement
après 2 heures.

Related product manuals