EasyManua.ls Logo

Protrain XR6226 - Page 4

Protrain XR6226
7 pages
Print Icon
To Next Page IconTo Next Page
To Next Page IconTo Next Page
To Previous Page IconTo Previous Page
To Previous Page IconTo Previous Page
Loading...
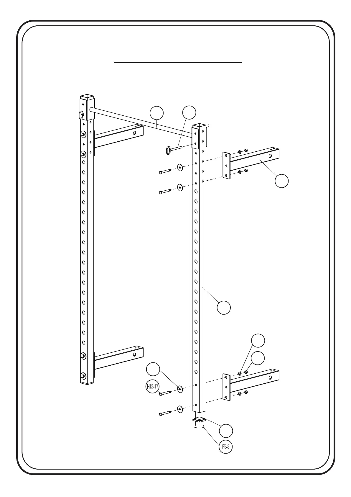
Assembly Instructions
Page 3
STEP 1
3
1 x2
2 x4
8 x2
H12-17
8x
BW12
8x
W12
x8
N12
x8
7
2x
F6-3
x4