EasyManua.ls Logo

Pullman Holt E1200 - Machine Assembly and Operation; Connecting Hoses and Wand; Electrical Grounding and Safety; Pre-Spraying and Cleaning Procedure

Default Icon
4 pages
Print Icon
To Next Page IconTo Next Page
To Next Page IconTo Next Page
To Previous Page IconTo Previous Page
To Previous Page IconTo Previous Page
Loading...
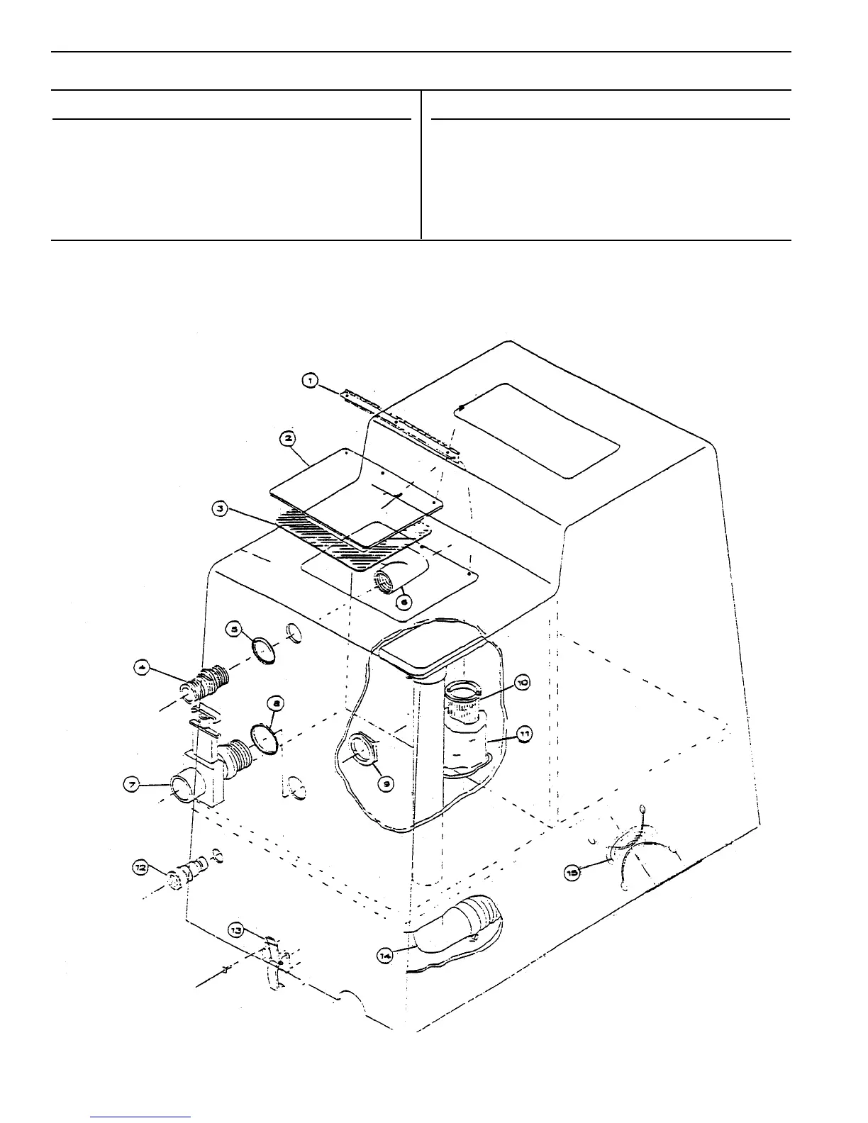
Body Replacement Parts
Ref.
No. Part No. Description Qty.
1 B703496 Lid Hinge 1
2 B703495 Lid 1
3 B703494 Lid Gasket 1
4 B703493 Hose Barb 1
5 B703492 Gasket 1
6 B703491 Elbow 1
7 B960941 Dump Valve 1
8 B980227 Gasket 1
Ref.
No. Part No. Description Qty.
9 B980228 Nut 1
10 B703490 Float Cage w/Ball 1
11 B703489 Filter 1
12 B703488 Coupler 1
13 B703487 Latch 1
14 B703486 Elbow 1
15 B703485 Screen 2

Other manuals for Pullman Holt E1200

Related product manuals