EasyManua.ls Logo

QFX M-336 - Page 8

QFX M-336
10 pages
Print Icon
To Next Page IconTo Next Page
To Next Page IconTo Next Page
To Previous Page IconTo Previous Page
To Previous Page IconTo Previous Page
Loading...
Merci d'avoir acheté nos produits. Ce système contient un récepteur et
deux microphones sans fil. Veuillez lire les instructions ci-dessous avant
d'utiliser l'appareil.
EN FONCTIONNEMENT
Réglez le volume de l'amplificateur ou du système de karaoké au
minimum. Connectez le récepteur à l'entrée MIC de l'amplificateur ou du
système karaoké. Soulevez les deux antennes télescopiques du récepteur
au plus haut niveau. Branchez l'unité dans n'importe quelle prise CA
110-120V. Mettez l'interrupteur ON / OFF sur ON. Le voyant d'alimentation
rouge s'allume.
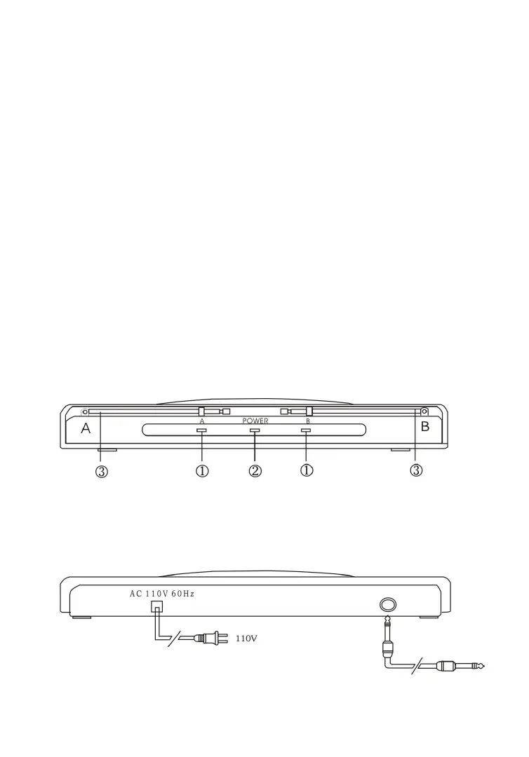
Front
Back
ANT. A ANT. BIndicator A Indicator BPower Indicator
Audio Output

Other manuals for QFX M-336