EasyManua.ls Logo

Raider PRO RDP-WP45 - Page 18

Raider PRO RDP-WP45
66 pages
Print Icon
To Next Page IconTo Next Page
To Next Page IconTo Next Page
To Previous Page IconTo Previous Page
To Previous Page IconTo Previous Page
Loading...
18 www.raider.bg
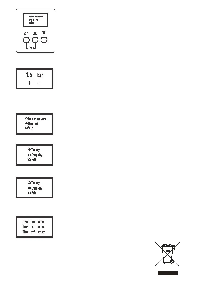
Apăsați butonul „Meniu” (butonul OK și sus) simultan pentru mai mult de 3
secunde și intrați în interfața setată.
meniu
Când pictograma este capabilă să activeze presiunea, apăsați butonul OK,
intrați în meniu pentru a regla presiunea la pornire; apăsați tasta sus și jos
pentru a regla presiunea de pornire; domeniul de reglare a presiunii de pornire
este de 1,2-2,2 bar.
Când pictograma se aă în starea de timp prestabilită, apăsați tasta OK
pentru a obține meniul de timp
.
Când pictograma este în The day- înseamnă ora setată o dată, apăsați
Tasta OK pentru a seta ora.
Când pictograma este în starea „Fiecare zi” înseamnă o oră setată pentru
ecare zi, apăsați tasta OK pentru a obține setarea orei.
Când apare o pictogramă pentru așarea timpului, mașina era la ora setată;
dacă doriți să anulați ora, apăsați tasta Meniu (OK și tasta sus) mai mult de 3
secunde în același timp, apoi operați ca atribuit
7. Protecția mediului
În scopul de a proteja mediul electric mașini, accesorI și ambalajele trebuie e supuse unui
tratament adecvat pentru reutilizarea informațIlor conținute în acesta.
Nu aruncați de mașini electrice în gunoiul menajer! Conform Directivei UE 2012/19/ EG pe dispozitive
electrice și electronice casate și stabilirea ca o lege națională masini electrice pot utilizate mai multe
ar trebui să e colectate separat și e supuse unui tratament adecvat pentru recuperare conținute în
reciclabile lor.

Related product manuals