EasyManua.ls Logo

Raider PRO RDP-WP45 - Page 33

Raider PRO RDP-WP45
66 pages
Print Icon
To Next Page IconTo Next Page
To Next Page IconTo Next Page
To Previous Page IconTo Previous Page
To Previous Page IconTo Previous Page
Loading...
33
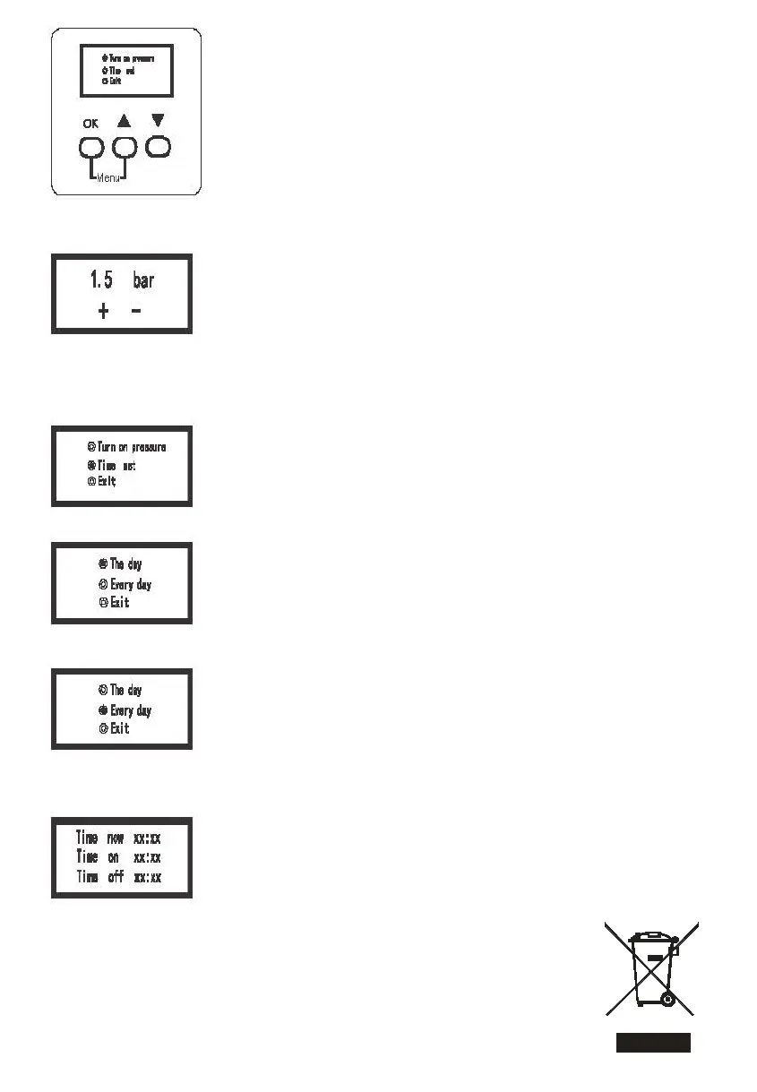
Pritisnite tipku „Menu“ (taster OK i tipka gore) istovremeno više od 3 sekunde
i uđite u postavljeno sučelje.
Meni
Kada je ikona u stanju da aktivira pritisak, pritisnite dugme OK, uđite u meni
za podešavanje pritiska pri pokretanju; pritisnite tipku gore i dolje da podesite
početni tlak; raspon podešavanja početnog pritiska je 1,2-2,2bar.
Kad se ikona nalazi u unapred postavljenom statusu vremena, pritisnite taster
OK da biste dobili meni sa vremenom
.
Kada je ikona u toku dana - znači zadati vreme jednom, pritisnite
OK taster za podešavanje vremena.
Kad je ikona u statusu “Svaki dan” znači određeno vrijeme za svaki dan,
pritisnite tipku OK za dobivanje postavke vremena.
Kad se pojavi ikona za prikaz vremena, uređaj je bio u zadanom vremenu;
ako želite otkazati vrijeme, istovremeno pritisnite tipku Menu (OK i tipka gore)
duže od 3 sekunde, a zatim djelujte prema dodijeljenom
7. Zaštita životne sredine .
U cilju zaštite životne sredine električne mašine ,
oprema i ambalaža mora biti podvrgnuti odgovarajuem tretmanu za ponovnu upotrebu informacija
sadržanih u njoj .Ne bacajte električnih mašina u kunim otpadom ! U skladu sa Direktivom EU 2012/19/EG
o odbačenih električnih i elektronskih uređaja i uspostavljanje kao nacionalni zakon električnih mašina može
da se koristi još treba da se prikupljaju zasebno i da bude podvrgnut odgovarajui tretman za oporavak koji je
sadržan u njihovih sekundarnih sirovina.

Related product manuals