EasyManua.ls Logo

Rane AC 22B - Page 3

Rane AC 22B
14 pages
Print Icon
To Next Page IconTo Next Page
To Next Page IconTo Next Page
To Previous Page IconTo Previous Page
To Previous Page IconTo Previous Page
Loading...
Manual-3
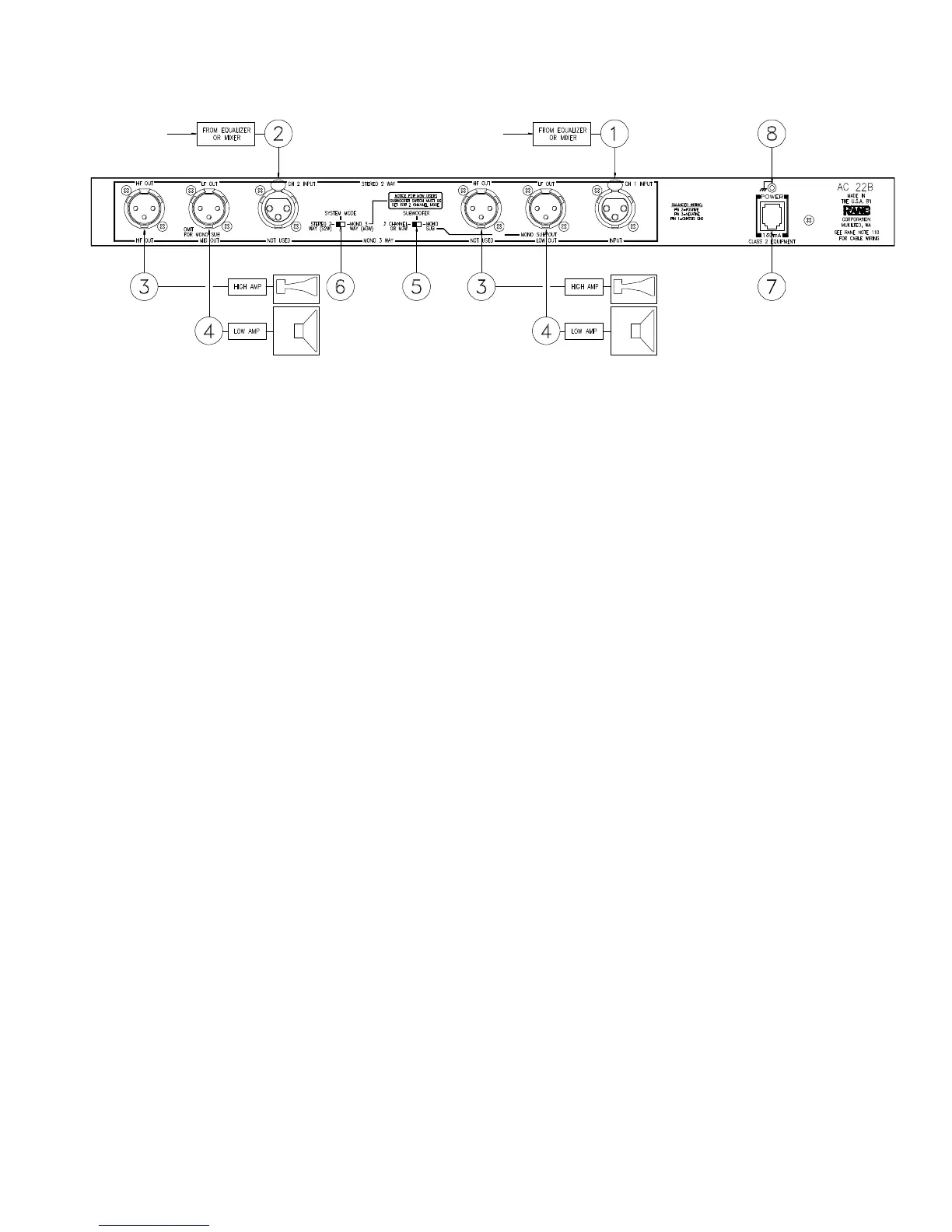
REAR PANEL: STEREO 2-WAY CONFIGURATION
Observe the labels screened above the Inputs and Outputs for stereo operation.
1. CHANNEL 1 INPUT: Connect this Input to the left channel output of the mixer, equalizer or other source.
2. CHANNEL 2 INPUT: Connect this Input to the right channel output of the mixer, equalizer or other source.
3. HIGH FREQUENCY OUTPUTS: Connect Channel 1 HF OUT to the left channel input of the high frequency amp, and
the Channel 2 HF OUT to the right channel input of the high frequency amp.
4. LOW FREQUENCY OUTPUTS: Connect the Channel 1 LF OUT to the left channel input of the low frequency amp and
the Channel 2 LF OUT to the right channel input of the low frequency amp. For Mono Subwoofer applications use Channel
1 LF OUT. Channel 2 LF OUT is disconnected in MONO SUB mode (see #8 below).
5. SUBWOOFER switch: Disconnects the Output from Channel 2 LF OUT and sums it with Channel 1 LF OUT. The result is
taken from Channel 1 LF OUT.
6. SYSTEM MODE switch: Set this switch for STEREO 2-WAY operation.
7. POWER input connector: Use only an RS 1, or other remote AC power supply approved by Rane. This unit is supplied
with a remote power supply for connection to this input jack. Consult the factory for replacement or substitution. This unit’s
power input is designed for an AC supply, delivering 18-24 volts, from a center-tapped transformer capable of supplying at
least the current demanded by this product. Using any other type of supply may damage the unit and void the warranty. The
Rane RAP 10 power supply can power up to ten Rane units that use outboard supplies.
8. Chassis ground point: A #6-32 screw is supplied for chassis grounding purposes. Units with external power supplies do not
ground the chassis through the line cord. In case of a grounding problem, try connecting crossover chassis ground to
amplifier chassis ground or directly to the grounding screw on a grounded AC outlet cover by means of a wire secured on
both ends with star washers to guarantee proper contact.See the Chassis Grounding Note on page Manual-14.

Related product manuals