EasyManua.ls Logo

Renault 2016 ESPACE - Page 185

Renault 2016 ESPACE
318 pages
Print Icon
To Next Page IconTo Next Page
To Next Page IconTo Next Page
To Previous Page IconTo Previous Page
To Previous Page IconTo Previous Page
Loading...
2.77
AUTOMATIC GEARBOX (4/6)
Driving in manual mode
Driving in temporary manual mode
Temporary manual mode can only be
selected when automatic mode D has
been engaged and the vehicle speed
is over around 6 mph (10 km/h).
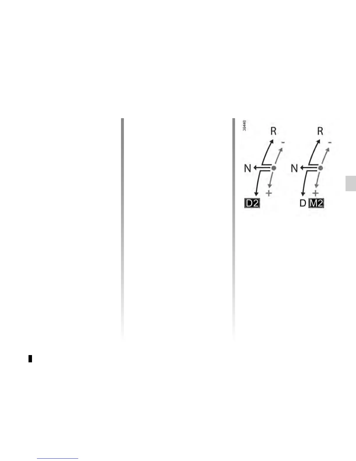
Once D engaged, move the selector 3:
to the rear +, to request a higher
gear;
– forwards -, to request a lower gear.
The gear selected is displayed to the
right of D on the instrument panel.
Special cases
Under certain driving conditions (e.g.
engine protection, electronic stability
program (ESP) operational etc.: ESC)
etc.) the system can change the gear
automatically.
The requested gear will be maintained
for a period set by the system, based
on the gradient and the driving style.
The system will take over once this
period has elapsed and may then trig-
ger an automatic gear change.
Likewise, to prevent incorrect manoeu-
vres, a gear change may be refused
by the system: in this case the gear dis-
play + or - flashes for a few seconds as
a warning, along with a beep.
Driving in permanent manual mode
Permanent manual mode can only be
selected when automatic mode D has
previously been engaged and the vehi-
cle speed is greater than around 6 mph
(10 km/h).
Once D engaged, move and hold the
selector 3 for around 1 second:
to the rear +, to request a higher
gear;
– forwards - to request a lower gear.
The gear engaged is first displayed to
the right of D on the instrument panel,
then M followed by the gear engaged
appear under + once permanent
manual mode is activated.
To exit permanent manual mode and
return to automatic mode, move the se-
lector to D.
Any other request for an available gear,
P or R or N will exit permanent manual
mode.

Table of Contents

Related product manuals